lemon-mirror:
Home >> Ford >> 2000 >> ZX2 Automatic >> Repair and Diagnosis >> External Pages >> Different car >> Section 423 (Component Testing) >> Component Testing >> Ignition switch >> Schematic

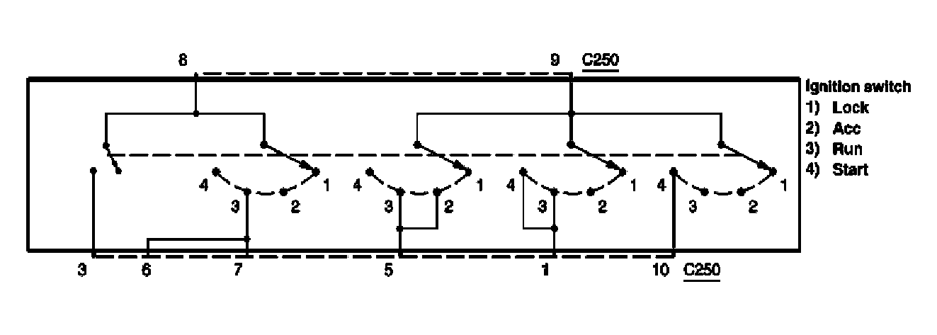
Ignition switch: Schematic

WARNING: This page is about a different car, the 2006 Lincoln Town Car. However, it is still accessible from the selected car via links, so may be relevant.
Fig 1: Ignition Switch - Schematic Diagram
G04598211Courtesy of FORD MOTOR CO.