lemon-mirror:
Home >> Ford >> 2001 >> ZX2 Standard >> Repair and Diagnosis >> External Pages >> Different car >> Section 1455 (Engine System) >> Assembly >> Engine >> Assembly

Section 1455 (Engine System): Assembly: Engine: Assembly

WARNING: This page is about a different car, the 2006 Mercury Grand Marquis and 2006 Ford Crown Victoria. However, it is still accessible from the selected car via links, so may be relevant.

    All engines 

  1. Record the main bearing code found on the front of the engine block.
    Fig 1: Identifying Main Bearing Code Found On Front Of Engine Block
    G04583819Courtesy of FORD MOTOR CO.
  2. Record the main bearing code found on the back of the crankshaft.
    Fig 2: Identifying Main Bearing Code - Found On Back Of Crankshaft
    G03886015Courtesy of FORD MOTOR CO.
  3. Using the data recorded earlier and the Bearing Select Fit Chart, Standard Bearings Chart determine the required bearing grade for each main bearing.
    • Read the first letter of the engine block main bearing code and the first letter of the crankshaft main bearing code.
    • Read down the column below the engine main bearing code letter, and across the row next to the crankshaft main bearing code letter, until the 2 intersect. This is the required bearing grade for the No. 1 crankshaft main bearing.
    • As an example, if the engine block code letter is "F" and the crankshaft code letter is "D," the correct bearing grade for this main bearing is "2."
    • Repeat this process for the remaining 4 main bearings.
      Fig 3: Bearing Select Fit Chart (Standard Bearings)
      G03886016Courtesy of FORD MOTOR CO.
  4. If oversize bearings are being used, use the procedure in the previous step and the Bearing Select Fit Chart, Oversize Bearing Chart to determine the required grade for each main bearing.
    Fig 4: Bearing Select Fit Chart (Oversize Bearings)
    G04583822Courtesy of FORD MOTOR CO.
  5. CAUTION: Before assembling the cylinder block, all sealing surfaces must be free of chips, dirt, paint and foreign material. Also, make sure the coolant and oil passages are clear.
  6. Lubricate with clean engine oil and install the crankshaft upper main bearings into the cylinder block.
  7. Install the crankshaft onto the upper crankshaft thrust bearing and main bearings.
    Fig 5: Locating Crankshaft And Upper Crankshaft Main Bearings
    G03886018Courtesy of FORD MOTOR CO.
  8. NOTE: To aid in assembly, apply petroleum jelly to the back of the crankshaft thrust washer.
    NOTE: The oil groove on the thrust washer must face toward the rear of the engine (crankshaft surface).
    Fig 6: Installing Rear Main Bearing Cap
    G04583824Courtesy of FORD MOTOR CO.
  9. Install the rear main bearing cap.
  10. Install the crankshaft lower main bearings, thrust bearing and thrust washer into the main bearing caps. Locate the main bearing cap on the cylinder block and tap into place using a plastic or dead-blow hammer.
    Fig 7: Installing Crankshaft Lower Main Bearings Into Main Bearing Caps
    G04583825Courtesy of FORD MOTOR CO.
  11. NOTE: The jack screws are a part of the main bearing cap assembly, and are screwed into the main caps, not the cylinder block.
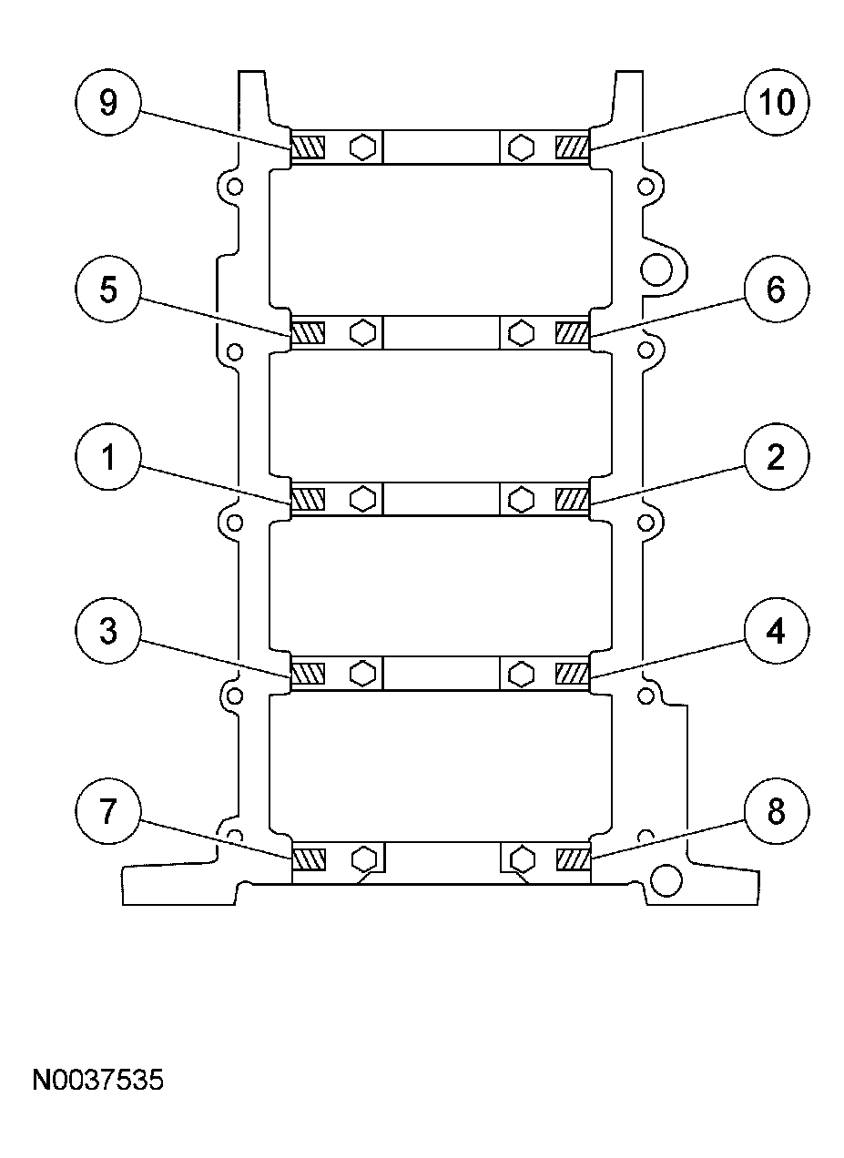
  12. Back out the 10 jack screws against the cylinder block in 2 stages, in the sequence shown.
    • Stage 1: Tighten to 5 Nm (44 lb-in).
    • Stage 2: Tighten to 10 Nm (89 lb-in).
      Fig 8: Identifying Jack Screws
      G04583826Courtesy of FORD MOTOR CO.
  13. Install the 10 bolts and tighten in 2 stages, in the sequence shown.
    • Stage 1: Tighten to 10 Nm (89 lb-in).
    • Stage 2: Tighten to 21 Nm (15 lb-ft).
      Fig 9: Installing Bolts
      G04583827Courtesy of FORD MOTOR CO.
  14. Tighten the 10 bolts in 2 stages, in the sequence shown.
    • Stage 1: Tighten to 40 Nm (30 lb-ft).
    • Stage 2: Tighten an additional 90 degrees.
      Fig 10: Tightening Sequence Of Rear Main Bearing Cap Bolts
      G04583828Courtesy of FORD MOTOR CO.
  15. Check piston-to-cylinder block and ring clearances. For additional information, refer to ENGINE SYSTEM-GENERAL INFORMATION .
  16. CAUTION: Do not scratch the cylinder walls or crankshaft journals with the connecting rod.
    NOTE: Make sure the piston arrow is facing forward.
    NOTE: The next 3 steps are for all 8 connecting rods, rod caps and pistons. Only one connecting rod, rod cap and piston is shown.
  17. Use the special tools to install the piston and connecting rod assemblies.
    • Lubricate the piston and ring with clean engine oil.
    • Lubricate the rod bearings with clean engine oil.
    • Rotate the crankshaft as necessary.
      Fig 11: Using Special Tools To Install Piston And Connecting Rod Assembly
      G03920388Courtesy of FORD MOTOR CO.
  18. CAUTION: Do not scratch the cylinder walls or crankshaft journals with the connecting rod.
    Fig 12: Identifying Special Tool (303-442)
    G03920389Courtesy of FORD MOTOR CO.
  19. Once the connecting rod is seated on the crankshaft journal, remove the special tools.
  20. CAUTION: The rod cap installation must keep the same orientation as marked during disassembly.
    NOTE: The connecting rod caps are of the cracked design and must make mate with the connecting rod ends. Excessive bearing clearance will result if not mated correctly.
    Fig 13: Installing Lower Bearing And Connecting Rod Cap Bolts
    G04583831Courtesy of FORD MOTOR CO.
  21. Position the lower bearing and connecting rod cap, and install the 2 new bolts loosely.
  22. Tighten the 16 bolts in 2 stages, in the sequence shown.
    • Stage 1: Tighten to 43 Nm (32 lb-ft).
    • Stage 2: Rotate an additional 90-120 degrees.
      Fig 14: Identifying Tighten Sequence Of Connecting Rod Bearing Caps
      G03920390Courtesy of FORD MOTOR CO.
  23. Position the oil pump and install the 3 bolts loosely. Tighten the bolts in the sequence shown.
    Fig 15: Identifying Tightening Sequence Of Oil Pump Bolts
    G03962526Courtesy of FORD MOTOR CO.
  24. Both cylinder heads 

    CAUTION: The gasket sealing surfaces on the cylinder head and cylinder block must be clean. For additional information, refer to CYLINDER HEAD .
    CAUTION: The use of sealing aids (aviation cement, copper spray and glue) is not permitted. The gasket must be installed dry.
    CAUTION: The new gasket has a film coating which is crucial to the gasket's ability to seat correctly. Do not scratch the gasket.
    NOTE: RH head gasket shown, LH head gasket similar.
    Fig 16: Installing Head Gasket Over Dowel Pins
    G04583834Courtesy of FORD MOTOR CO.
  25. Install the head gasket over the dowel pins.
  26. CAUTION: Cylinder head machining or milling is not authorized by the Ford Motor Company. Cylinder head flatness must be within 0.0254 mm (0.001 in) across a 38.1 mm (1.5 in) square area.
    CAUTION: The gasket sealing surfaces on the cylinder head and cylinder block must be clean. For additional information, refer to CYLINDER HEAD .
    CAUTION: The use of sealing aids (aviation cement, copper spray and glue) is not permitted. The gasket must be installed dry.
    CAUTION: Do not allow the dowels to scratch the sealing of the cylinder head during cylinder head installation.
    NOTE: The new cylinder head bolts must be lightly oiled with a rag, and allowed to drain for a few minutes prior to installation.
    NOTE: RH cylinder head shown, LH cylinder head similar.
    Fig 17: Locating Cylinder Head
    G03886030Courtesy of FORD MOTOR CO.
  27. Install the cylinder head on the dowels and the head gasket. Loosely install new bolts.
  28. Tighten the 10 cylinder head bolts in 6 stages, in the sequence shown.
    • Stage 1: Tighten to 40 Nm (30 lb-ft).
    • Stage 2: Tighten an additional 90 degrees (1/4 turn).
    • Stage 3: Loosen a minimum of one full turn (360 degrees).
    • Stage 4: Tighten to 40 Nm (30 lb-ft).
    • Stage 5: Tighten an additional 90 degrees (1/4 turn).
    • Stage 6: Tighten an additional 90 degrees (1/4 turn).
      Fig 18: Tightening Cylinder Head Bolts In Stages
      G04583836Courtesy of FORD MOTOR CO.
  29. Remove the special tools from both ends of the cylinder head.
    Fig 19: Identifying Special Tool (303-572)
    G04671899Courtesy of FORD MOTOR CO.
  30. NOTE: Lubricate the hydraulic lash adjusters with clean engine oil.
    Fig 20: Locating Hydraulic Lash Adjusters
    G04583838Courtesy of FORD MOTOR CO.
  31. Install the 16 hydraulic lash adjusters in their original locations.
  32. NOTE: Lubricate the O-ring seal with clean engine oil.
  33. Install a new O-ring seal on the oil level indicator tube and install the oil level indicator tube and bolt.
    • Tighten to 10 Nm (89 lb-in).
      Fig 21: Installing Oil Level Indicator Tube
      G04583839Courtesy of FORD MOTOR CO.
  34. Install a new LH exhaust manifold gasket the LH exhaust manifold and 8 nuts.
    • Tighten to 25 Nm (18 lb-ft) in the sequence shown.
      Fig 22: Installing LH Exhaust Manifold Gasket LH Exhaust Manifold And Nuts
      G04583840Courtesy of FORD MOTOR CO.
  35. Install a new RH exhaust manifold gasket the RH exhaust manifold and 8 nuts.
    • Tighten to 25 Nm (18 lb-ft) in the sequence shown.
      Fig 23: Installing RH Exhaust Manifold Gasket RH Exhaust Manifold And Nuts
      G04583841Courtesy of FORD MOTOR CO.
  36. Engines with ratcheting timing chain tensioners 

    CAUTION: Timing chain procedures must be followed exactly or damage to valves and pistons will result.
    CAUTION: Do not compress the ratchet assembly. This will damage the ratchet assembly.
    NOTE: LH shown, RH similar.
    Fig 24: Compressing Each Tensioner Plunger Using Vise
    G04583842Courtesy of FORD MOTOR CO.
  37. Compress each tensioner plunger, using an edge or a vise.
  38. Using a small screwdriver or pick, push back and hold the ratchet mechanism.
    Fig 25: Pushing Back And Holding Ratchet Mechanism
    G04583843Courtesy of FORD MOTOR CO.
  39. While holding the ratchet mechanism, push the ratchet arm back into the tensioner housing.
    Fig 26: Pushing Ratchet Arm Back Into Tensioner Housing
    G04583844Courtesy of FORD MOTOR CO.
  40. Install a paper clip into the hole of each tensioner housing to hold the ratchet assembly and plunger in during installation.
    • Remove the tensioner from the vise.
      Fig 27: Installing Paper Clip Into Hole Of Each Tensioner Housing
      G04583845Courtesy of FORD MOTOR CO.
  41. Engines with non-ratcheting timing chain tensioners 

    CAUTION: If one or both tensioner mounting bolts are loosened or removed, the tensioner-sealing bead must be inspected for seal integrity. Any cracks, tears, cuts or separation from the tensioner body or permanent compression of the seal bead, will require replacement of the tensioner.
  42. Inspect the RH and LH timing chain tensioners.
    • Install new tensioners as necessary.
  43. CAUTION: Timing chain procedures must be followed exactly or damage to valves and pistons will result.
    NOTE: LH shown, RH similar.
    Fig 28: Compressing Tensioner Plunger
    G03885344Courtesy of FORD MOTOR CO.
  44. Compress each tensioner plunger, using a vise.
  45. Install a retaining clip on the tensioner to hold the plunger in during installation.
    Fig 29: Identifying Retaining Clip on Tensioner
    G03881580Courtesy of FORD MOTOR CO.
  46. All engines 

  47. If the copper links are not visible, mark one link on one end and one link on the other end, and use as timing marks.
    Fig 30: Identifying Timing Chain Copper Links
    G03881581Courtesy of FORD MOTOR CO.
  48. Using the special tool, position the crankshaft.
    • Remove the special tool after crankshaft positioning.
      Fig 31: Positioning Crankshaft
      G04583849Courtesy of FORD MOTOR CO.
  49. Install the crankshaft sprocket, making sure the flange faces forward.
    Fig 32: Identifying Crankshaft Sprocket Flange
    G03881584Courtesy of FORD MOTOR CO.
  50. Install the timing chain guides.
    1. Position the LH timing chain guide.
    2. Install and tighten the 2 LH bolts to 10 Nm (89 lb-in).
    3. Position the RH timing chain guide.
    4. Install and tighten the 2 RH bolts to 10 Nm (89 lb-in).
      Fig 33: Identifying Timing Chain Guides
      G03962457Courtesy of FORD MOTOR CO.
  51. Rotate the RH camshaft sprocket until the timing mark is approximately at the 11 o'clock position. Rotate the LH camshaft sprocket until the timing mark is approximately at the 12 o'clock position.
    Fig 34: Identifying LH And RH Camshaft Timing Mark Position
    G04583473Courtesy of FORD MOTOR CO.
  52. Position the LH (inner) timing chain on the crankshaft sprocket, aligning the copper (marked) link with the timing mark on the sprocket.
    Fig 35: Aligning Copper (Marked) Link With Timing Mark On Crankshaft Sprocket
    G03962459Courtesy of FORD MOTOR CO.
  53. Install the LH timing chain on the camshaft sprocket, aligning the copper (marked) link with the timing marks on the sprocket.
    Fig 36: Aligning Copper (Marked) Link With Timing Mark On Camshaft Sprocket
    G03962460Courtesy of FORD MOTOR CO.
  54. NOTE: The LH timing chain tensioner arm has a bump near the dowel hole for identification.
  55. Position the LH timing chain tensioner on the dowel pin and install the LH timing chain tensioner and 2 bolts.
    • Tighten to 25 Nm (18 lb-ft).
      Fig 37: Positioning LH Timing Chain Tensioner Arm On Dowel Pin
      G04583855Courtesy of FORD MOTOR CO.
  56. Engines with ratcheting timing chain tensioners 

  57. Remove the retaining clip from the LH timing chain tensioner.
    Fig 38: Removing Retaining Clip From LH Timing Chain Tensioner
    G04583856Courtesy of FORD MOTOR CO.
  58. Engines with non-ratcheting timing chain tensioners 

  59. Remove the retaining clip from the LH timing chain tensioner.
    Fig 39: View Of Retaining Clip AndTiming Chain Tensioner
    G03881591Courtesy of FORD MOTOR CO.
  60. All engines 

  61. Position the RH (outer) timing chain on the crankshaft sprocket, aligning the copper (marked) link with the timing mark on the sprocket.
    Fig 40: Aligning Copper (Marked) Link With Timing Mark On Crankshaft Sprocket
    G03948189Courtesy of FORD MOTOR CO.
  62. Install the RH timing chain on the camshaft sprocket, aligning the copper (marked) link with the timing marks on the sprocket.
    Fig 41: Aligning Copper (Marked) Link With Timing Mark On Camshaft Sprocket
    G03885941Courtesy of FORD MOTOR CO.
  63. Position the RH timing chain tensioner arm on the dowel pin and install the RH timing chain tensioner and 2 bolts.
    • Tighten to 25 Nm (18 lb-ft).
      Fig 42: Installing RH Timing Chain Tensioner
      G04583860Courtesy of FORD MOTOR CO.
  64. Engines with ratcheting timing chain tensioners 

  65. Remove the retaining clip from the RH timing chain tensioner.
    Fig 43: Removing Retaining Clip From RH Timing Chain Tensioner
    G04583861Courtesy of FORD MOTOR CO.
  66. Engines with non-ratcheting timing chain tensioners 

  67. Remove the retaining clip from the RH timing chain tensioner.
    Fig 44: View Of Retaining Clip AndTiming Chain Tensioner
    G03881591Courtesy of FORD MOTOR CO.
  68. All engines 

  69. Make sure that the copper (marked) chain links are lined up with the dots on the crankshaft sprockets and the camshaft sprocket.
    Fig 45: Identifying Copper (Marked) Chain Links And Dots On Crankshaft Sprockets And Camshaft Sprockets
    G03962922Courtesy of FORD MOTOR CO.
  70. Rotate and camshaft until the lobe is in the up position.
    Fig 46: Rotating Camshaft
    G04583864Courtesy of FORD MOTOR CO.
  71. Install the special tool between the valve spring coil to prevent valve stem seal damage.
    Fig 47: Installing Special Tool Between Valve Spring Coils
    G03962476Courtesy of FORD MOTOR CO.
  72. NOTE: Lubricate the camshaft roller followers using clean engine oil.
    NOTE: Position the cam lobe away from the camshaft roller follower location prior to installing each camshaft roller follower.
  73. Install the 16 camshaft roller followers.
    1. Install the special tool.
    2. Compress the valve spring.
    3. Install the 16 camshaft roller followers in their original locations.
      Fig 48: Installing Camshaft Roller Followers In Original Locations
      G04583866Courtesy of FORD MOTOR CO.
  74. Remove the special tool.
    Fig 49: Installing Special Tool Between Valve Spring Coils
    G03962476Courtesy of FORD MOTOR CO.
  75. CAUTION: Only use hand tools when removing or installing the spark plugs, damage can occur to the cylinder head or spark plug.
  76. Install all 8 spark plugs.
    • Tighten to 15 Nm (11 lb-ft).
      Fig 50: Installing Spark Plugs
      G04583868Courtesy of FORD MOTOR CO.
  77. Install the crankshaft sensor ring.
    Fig 51: View Of Crankshaft Sensor Ring At Crankshaft
    G04583449Courtesy of FORD MOTOR CO.
  78. NOTE: RH timing chain removed for clarity.
    NOTE: If the engine front cover is not secured within 4 minutes, the sealant must be removed and the sealing area cleaned with metal surface cleaner. Allow to dry until there is no sign of wetness, or 4 minutes, whichever is longer. Failure to follow this procedure can cause future oil leakage.
    Fig 52: Applying Bead Of Sealant Along Head-To-Block And Oil Pan-To-Block Surface
    G04583870Courtesy of FORD MOTOR CO.
  79. Apply a bead of sealant along the head-to-block surface and the oil pan-to-block surface as specified.
  80. Install a new engine front cover gasket on the engine front cover. Position the engine front cover. Install the fasteners finger-tight.
    Fig 53: Identifying Engine Front Cover And Alignment Dowels
    G03881967Courtesy of FORD MOTOR CO.
  81. Tighten the 15 front cover fasteners in the sequence shown to 25 Nm (18 lb-ft).
    ITEM PART NUMBER DESCRIPTION

    Item Part Number Description
    1 N806177 Bolt, hex flange head pilot, M8 x 1.25 x 53
    2 N806177 Bolt, hex flange head pilot, M8 x 1.25 x 53
    3 N806177 Bolt, hex flange head pilot, M8 x 1.25 x 53
    4 N806177 Bolt, hex flange head pilot, M8 x 1.25 x 53
    5 N806177 Bolt, hex flange head pilot, M8 x 1.25 x 53
    6 W706508 Stud, hex-head pilot, M8 x 1.25 x 50 - M6 x 1 x 10
    7 N808586 Stud, washer hex-head pilot, M8 x 1.25 - M6 x 1.0 x 86.35
    8 N806177 Bolt, hex flange head pilot, M8 x 1.25 x 53
    9 N806177 Bolt, hex flange head pilot, M8 x 1.25 x 53
    10 N806177 Bolt, hex flange head pilot, M8 x 1.25 x 53
    11 N806300 Stud, hex-shoulder pilot, M8 x 1.25 x 1.25 x 91.1
    12 N806300 Stud, hex-shoulder pilot, M8 x 1.25 x 1.25 x 91.1
    13 N806300 Stud, hex-shoulder pilot, M8 x 1.25 x 1.25 x 91.1
    14 N806300 Stud, hex-shoulder pilot, M8 x 1.25 x 1.25 x 91.1
    15 N806300 Stud, hex-shoulder pilot, M8 x 1.25 x 1.25 x 91.1
    Fig 54: Tightening Front Cover Fasteners In Sequence
    G04583872Courtesy of FORD MOTOR CO.
  82. NOTE: RH shown, LH similar.
  83. Install the RH and LH engine mounts and the 6 bolts.
    • Tighten to 70 Nm (52 lb-ft).
      Fig 55: Installing LH And RH Engine Mount
      G04583873Courtesy of FORD MOTOR CO.
  84. Lubricate the engine front cover and the front oil seal inner lip with clean engine oil.
    Fig 56: Locating Crankshaft Front Seal
    G03881970Courtesy of FORD MOTOR CO.
  85. Using the special tools, install the front oil seal.
    Fig 57: Installing Crankshaft Front Seal Using Special Tools
    G03919891Courtesy of FORD MOTOR CO.
  86. NOTE: If not secured within 4 minutes, sealant must be removed and the sealing area cleaned with metal surface cleaner. Allow to dry until there is no sign of wetness, or 4 minutes, whichever is longer. Failure to follow this procedure can cause future oil leakage.
    Fig 58: Applying Sealant To Woodruff Key Slot On Crankshaft Pulley
    G04583876Courtesy of FORD MOTOR CO.
  87. Apply sealant to the Woodruff key slot on the crankshaft pulley.
  88. Using the special tool, install the crankshaft pulley.
    Fig 59: Installing Crankshaft Pulley
    G04583877Courtesy of FORD MOTOR CO.
  89. NOTE: Use special tool 303-009 or suitable strap wrench to hold the pulley.
  90. Tighten the crankshaft pulley bolt in 4 stages.
    • Stage 1: Tighten to 90 Nm (66 lb-ft).
    • Stage 2: Loosen 360 degrees.
    • Stage 3: Tighten to 50 Nm (37 lb-ft).
    • Stage 4: Rotate an additional 90 degrees (1/4 turn).
      Fig 60: Tightening Crankshaft Pulley Bolt
      G04583878Courtesy of FORD MOTOR CO.
  91. NOTE: If the rear crankshaft seal retaining plate is not secured within 4 minutes, the sealant must be removed and the sealing area cleaned with metal surface cleaner. Allow to dry until there is no sign of wetness, or 4 minutes, whichever is longer. Failure to follow this procedure can cause future oil leakage.
    NOTE: The silicone must be applied on the groove along the retainer plate.
    Fig 61: Applying Bead Of Silicone Gasket And Sealant Around Crankshaft Rear Seal Retainer Plate Sealing Surface
    G03881975Courtesy of FORD MOTOR CO.
  92. Apply 4 mm (0.16 in) bead of silicone gasket and sealant around the rear oil seal retainer sealing surface.
  93. Install the rear oil seal retainer and loosely install the 6 bolts.
    Fig 62: Identifying Crankshaft Rear Oil Seal Retainer
    G04583880Courtesy of FORD MOTOR CO.
  94. Tighten the 6 bolts in the sequence shown.
    • Tighten to 10 Nm (89 lb-in).
      Fig 63: Tightening Sequence Of Crankshaft Rear Seal Retainer Plate Bolts
      G04583881Courtesy of FORD MOTOR CO.
  95. CAUTION: Make sure the O-ring seal is in place and not damaged. A missing or damaged O-ring seal can cause foam in the lubrication system, low oil pressure and severe engine damage.
    NOTE: Clean and inspect the mating surfaces and install a new O-ring seal. Lubricate the O-ring seal with clean engine oil.
  96. Install the oil pump screen and pickup tube spacer.
    • Tighten to 25 Nm (18 lb-ft).
      Fig 64: Installing Pickup Tube Spacer
      G04583882Courtesy of FORD MOTOR CO.
  97. Position the oil pump screen and pickup tube, and install the 3 bolts.
    1. Tighten to 25 Nm (18 lb-ft).
    2. Tighten to 10 Nm (89 lb-in).
      Fig 65: Locating Oil Pump Screen And Pickup Tube
      G03962527Courtesy of FORD MOTOR CO.
  98. NOTE: If the oil pan is not secured within 4 minutes, the sealant must be removed and the sealing areas cleaned with metal surface cleaner. Allow to dry until there is no sign of wetness, or 4 minutes, whichever is longer. Failure to follow this procedure can cause future oil leakage.
    Fig 66: Area For Applying Bead Of Silicone Gasket And Sealant
    G04583522Courtesy of FORD MOTOR CO.
  99. Apply the sealant at the rear oil seal retainer to cylinder block sealing surface.
  100. Apply sealant at the front cover-to-cylinder block sealing surface.
    Fig 67: Applying Sealant At Front Cover-To-Cylinder Block Sealing Surface
    G04583885Courtesy of FORD MOTOR CO.
  101. Position the new oil pan gasket, the oil pan and the loosely install the 16 bolts.
    Fig 68: Installing Oil Pan Gasket And Oil Pan
    G04583886Courtesy of FORD MOTOR CO.
  102. Tighten the 16 bolts in 2 stages, in the sequence shown.
    • Stage 1: Tighten to 20 Nm (15 lb-ft).
    • Stage 2: Rotate an additional 60 degrees.
      Fig 69: Identifying Oil Pan Bolt Tightening Sequence
      G03920110Courtesy of FORD MOTOR CO.
  103. Install the new oil filter adapter gasket, oil filter adapter and the 4 bolts.
    • Tighten to 25 Nm (18 lb-ft) in the sequence shown.
      Fig 70: Installing Oil Filter Adapter Gasket
      G04583888Courtesy of FORD MOTOR CO.
  104. CAUTION: Do not rotate the coolant pump housing once the coolant pump has been positioned in the cylinder block. Damage to the O-ring seal will occur.
  105. Install the coolant pump.
    1. Lubricate the new O-ring seal using engine coolant.
    2. Position the coolant pump into the engine block.
    3. Install the 4 bolts and tighten to 25 Nm (18 lb-ft).
      Fig 71: Installing Coolant Pump
      G04583889Courtesy of FORD MOTOR CO.
  106. Position the coolant pump pulley on the coolant pump and install the 4 bolts.
    • Tighten to 25 Nm (18 lb-ft).
      Fig 72: Positioning Coolant Pump Pulley
      G04583890Courtesy of FORD MOTOR CO.
  107. Position the accessory drive belt idler pulley and install the bolt.
    • Tighten to 25 Nm (18 lb-ft).
      Fig 73: Installing Belt Idler Pulley
      G04583891Courtesy of FORD MOTOR CO.
  108. NOTE: If not secured within 4 minutes, sealant must be removed and the sealing area cleaned with metal surface cleaner. Allow to dry until there is no sign of wetness, or 4 minutes, whichever is longer. Failure to follow this procedure can cause future oil leakage.
    Fig 74: Applying Sealant In Places Where Engine Front Cover Meets Cylinder Head
    G04583892Courtesy of FORD MOTOR CO.
  109. Apply sealant in 2 places where the engine front cover meets the cylinder head.
  110. Install the new LH gasket into the valve cover and position on the cylinder head. Tighten the bolts in the sequence shown.
    • Tighten to 10 Nm (89 lb-in).
      Fig 75: Tightening Bolts In Sequence
      G04583893Courtesy of FORD MOTOR CO.
  111. NOTE: If not secured within 4 minutes, sealant must be removed and the sealing area cleaned with metal surface cleaner. Allow to dry until there is no sign of wetness, or 4 minutes, whichever is longer. Failure to follow this procedure can cause future oil leakage.
    Fig 76: Applying Sealant In Two Places Where Engine Front Cover Meet Cylinder Head
    G04583894Courtesy of FORD MOTOR CO.
  112. Apply sealant in 2 places where the engine front cover meet the cylinder head.
  113. Install the new RH gasket into the valve cover and position on the cylinder head. Tighten the 11 bolts in the sequence shown.
    • Tighten to 10 Nm (89 lb-in).
      Fig 77: Tightening Bolts In Sequence
      G04583895Courtesy of FORD MOTOR CO.
  114. Install the knock sensor (KS) and the 2 bolts.
    • Tighten to 25 Nm (18 lb-ft).
      Fig 78: Tightening Knock Sensor Bolts
      G04583896Courtesy of FORD MOTOR CO.
  115. Inspect the O-rings seals. Install new seals if necessary.
    Fig 79: Inspecting O-Ring Seals
    G04583897Courtesy of FORD MOTOR CO.
  116. Install the coolant bypass tube.
    Fig 80: Installing Coolant Bypass Tube
    G04583898Courtesy of FORD MOTOR CO.
  117. Install the ground strap on the rear of the RH cylinder head.
    1. Install the stud bolt and tighten to 25 Nm (18 lb-ft).
    2. Install the ground strap.
    3. Install the retaining nut and tighten to 10 Nm (89 lb-in).
      Fig 81: Installing Retaining Nut And Ground Strap
      G04583899Courtesy of FORD MOTOR CO.
  118. NOTE: Align the gasket locator tabs to slots in cylinder head.
    Fig 82: Installing Intake Manifold Gaskets
    G04583900Courtesy of FORD MOTOR CO.
  119. Install new intake manifold gaskets.
  120. Install the intake manifold and hand-tighten the 8 bolts at the locations shown.
    Fig 83: Installing Intake Manifold
    G04583901Courtesy of FORD MOTOR CO.
  121. Install the 8 ignition coils and tighten the 8 bolts.
    • Tighten to 10 Nm (89 lb-in).
      Fig 84: Installing Ignition Coils
      G04583902Courtesy of FORD MOTOR CO.
  122. Install the intake manifold crash bracket bolt and loosely install the bolt and the stud.
    Fig 85: Installing Intake Manifold Crash Bracket
    G04583903Courtesy of FORD MOTOR CO.
  123. Install the thermostat.
    Fig 86: Installing Thermostat
    G04583904Courtesy of FORD MOTOR CO.
  124. Install the coolant outlet adapter and loosely install the 2 bolts.
    Fig 87: Installing Coolant Outlet Adapter
    G04583905Courtesy of FORD MOTOR CO.
  125. Tighten the 9 bolts in the sequence shown.
    • Tighten to 25 Nm (18 lb-ft).
      Fig 88: Tightening Bolts In Sequence
      G04583906Courtesy of FORD MOTOR CO.
  126. Tighten the stud.
    • Tighten to 25 Nm (18 lb-ft).
      Fig 89: Tightening Stud
      G04583907Courtesy of FORD MOTOR CO.
  127. Tighten the 2 coolant outlet adapter bolts.
    • Tighten to 25 Nm (18 lb-ft).
      Fig 90: Tightening Coolant Outlet Adapter Bolts
      G04583908Courtesy of FORD MOTOR CO.
  128. Connect the throttle control and throttle positioning sensor electrical connector.
    Fig 91: Locating Throttle Control And Throttle Position (TP) Sensor Electrical Connectors
    G03881492Courtesy of FORD MOTOR CO.
  129. Connect the exhaust gas recirculation (EGR) tube to the EGR valve.
    • Tighten to 40 Nm (30 lb-ft).
      Fig 92: Connecting Exhaust Gas Recirculation (EGR) Tube To EGR Valve
      G04583910Courtesy of FORD MOTOR CO.
  130. Connect the EGR tube to the exhaust manifold.
    • Tighten to 40 Nm (30 lb-ft).
      Fig 93: Connecting EGR Tube To Exhaust Manifold
      G04583911Courtesy of FORD MOTOR CO.
  131. Position the fuel charging wiring at 2 locations at the back of the intake manifold.
  132. Install the generator and the 2 bolts.
    • Tighten to 25 Nm (18 lb-ft).
      Fig 94: Installing Generator And Bolts
      G04583912Courtesy of FORD MOTOR CO.
  133. Install the generator mounting bracket and the 4 bolts.
    • Tighten to 10 Nm (89 lb-in).
      Fig 95: Installing Generator Mounting Bracket
      G04583913Courtesy of FORD MOTOR CO.
  134. Connect the generator electrical connector.
    Fig 96: Connecting Generator Electrical Connector
    G04583914Courtesy of FORD MOTOR CO.
  135. Position the vacuum harness and connect the vacuum hoses for the evaporative emission (EVAP) canister purge valve, the main chassis hose and the EGR valve.
    Fig 97: Connecting Vacuum Hoses And Electrical Connector
    G04583915Courtesy of FORD MOTOR CO.
  136. Install the generator wiring harness anchor to the LH front stud.
    Fig 98: Installing Generator Wiring Harness Anchor To LH Front Stud
    G04583916Courtesy of FORD MOTOR CO.
  137. Connect the crankcase ventilation tube.
    Fig 99: Connecting Crankcase Ventilation Tube
    G04583917Courtesy of FORD MOTOR CO.
  138. Install the intake manifold shield and 2 bolts.
    • Tighten to 12 Nm (9 lb-ft).
      Fig 100: Installing Intake Manifold Shield And Bolts
      G04583918Courtesy of FORD MOTOR CO.
  139. Connect the 8 fuel injector electrical connectors.
    Fig 101: Connecting Fuel Injector Electrical Connectors
    G04583919Courtesy of FORD MOTOR CO.
  140. Connect the 8 ignition coil electrical connectors.
    Fig 102: Connecting Ignition Coil Electrical Connectors
    G04583920Courtesy of FORD MOTOR CO.
  141. Connect the camshaft position (CMP) sensor electrical connector.
    Fig 103: Disconnecting Camshaft Position (CMP) Sensor Electrical Connector
    G04583921Courtesy of FORD MOTOR CO.
  142. Connect the radio interference capacitor electrical connector.
    Fig 104: Connecting Radio Interference Capacitor Electrical Connector
    G04583922Courtesy of FORD MOTOR CO.
  143. Connect the KS electrical connector and install the harness retainer to the intake manifold.
    Fig 105: Installing Harness Retainer To Intake Manifold
    G04583923Courtesy of FORD MOTOR CO.
  144. Connect the cylinder head temperature (CHT) sensor electrical connector.
    Fig 106: Disconnecting Cylinder Head Temperature (CHT) Sensor Electrical Connector
    G04583924Courtesy of FORD MOTOR CO.
  145. Connect the ground wire to the right rear fuel rail stud.
    Fig 107: Connecting Ground Wire To Right Rear Fuel Rail Stud
    G04583925Courtesy of FORD MOTOR CO.
  146. Install the battery cables and the bolt.
  147. NOTE: RH shown, LH similar.
    Fig 108: Installing RH And LH Lighting Brackets
    G04583926Courtesy of FORD MOTOR CO.
  148. Install the RH and LH lighting brackets.
  149. Remove the engine from the engine stand.
    Fig 109: Removing Engine From Engine Stand
    G04583927Courtesy of FORD MOTOR CO.
  150. Using the special tools, install the crankshaft rear oil seal.
    Fig 110: Using Special Tools To Install New Crankshaft Rear Seal
    G04583928Courtesy of FORD MOTOR CO.
  151. Using the special tools, install the crankshaft oil slinger.
    Fig 111: Installing Crankshaft Rear Oil Slinger Using Special Tools
    G03920154Courtesy of FORD MOTOR CO.
  152. Install the engine/transmission spacer plate.
    Fig 112: Installing Engine/Transmission Spacer Plate
    G04583930Courtesy of FORD MOTOR CO.
  153. Position the flexplate and install the 6 bolts in the sequence shown.
    • Tighten to 80 Nm (59 lb-ft).
      Fig 113: Installing Bolts In Sequence
      G04583931Courtesy of FORD MOTOR CO.