lemon-mirror:
Home >> Ford >> 2002 >> Focus S2 >> Repair and Diagnosis >> Transmission >> Automatic Trans >> Automatic Transmission >> Disassembly And Assembly Of Subassemblies >> Main Control Valve Body >> Assembly

Main Control Valve Body: Assembly

    NOTE: The top side of the separator plate has a bonded gasket.
    NOTE: The separator gasket goes on the bottom side.
    NOTE: Inspect the main control valve body.
    Fig 1: Installing New Control Valve Body Plate Assembly And Separator Gaskets
    G03433442Courtesy of FORD MOTOR CO.
  1. Install new control valve body plate assembly and separator gaskets.
  2. NOTE: Do not fully tighten the bolts at this stage.
    Fig 2: Assembling Main Control Valve Body
    G03433443Courtesy of FORD MOTOR CO.
  3. Assemble the main control valve body.
  4. Install the seals.
    Fig 3: Installing Seals
    G03433444Courtesy of FORD MOTOR CO.
  5. Tighten the solenoid body bolts.
    Fig 4: Identifying Tightening Torque Of Solenoid Body Bolts
    G03433445Courtesy of FORD MOTOR CO.
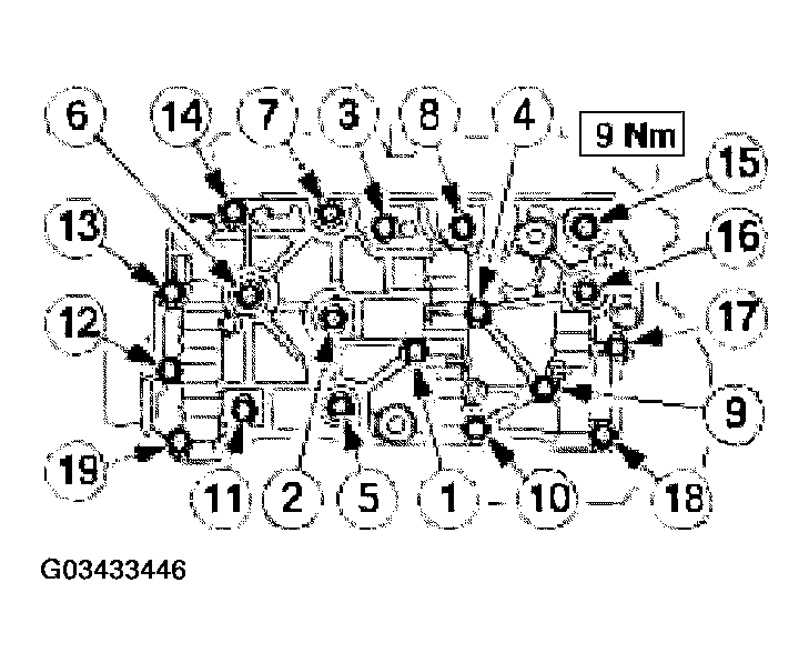
  6. Tighten the remaining bolts in the sequence shown.
    Fig 5: Identifying Remaining Bolts Tightening Sequence
    G03433446Courtesy of FORD MOTOR CO.