lemon-mirror:
Home >> Ford >> 2002 >> Focus SVT >> Repair and Diagnosis >> External Pages >> Different car >> Section 298 (Engine-2.0L SPI) >> Disassembly And Assembly Of Subassemblies >> Piston >> Assembly

Disassembly And Assembly Of Subassemblies: Piston: Assembly

WARNING: This page is about a different car, the 2003 Ford Focus. However, it is still accessible from the selected car via links, so may be relevant.
  1. Place (1) sleeve in (2) and position (3) pin locator into the center hole of sleeve.
    Fig 1: Positioning Pin Locator Into Center Hole Of Sleeve
    G01615384Courtesy of FORD MOTOR CO.
  2. Position the piston to be assembled onto the locator.
    Fig 2: Positioning Piston Onto Locator
    G01615385Courtesy of FORD MOTOR CO.
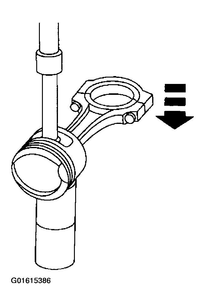
  3. Press the pin into the piston and the connecting rod with driver.
    Fig 3: Pressing Pin Into Piston And Connecting Rod
    G01615386Courtesy of FORD MOTOR CO.
  4. Install the piston rings using a suitable expander. The compression ring is to be installed with the grooved side facing down.
    Fig 4: Installing Piston Rings
    G01615387Courtesy of FORD MOTOR CO.
  5. NOTE: The connecting rod bearings are selective fit to provide the necessary clearance. refer to ENGINE SYSTEM-GENERAL INFORMATION to measure the clearance and select the proper connecting rod bearing.
    NOTE: When installing the connecting rod bearings, ensure that the tab on the bearing engages the slot in the connecting rod and the rod cap and that the bearings are fully seated.
  6. Install a connecting rod bearing in the connecting rod and the rod cap.
  7. Check the connecting rod to crankshaft clearance. For additional information, refer to ENGINE SYSTEM-GENERAL INFORMATION