lemon-mirror:
Home >> Ford >> 2002 >> Mustang Base, 2D Convertible, Automatic >> Repair and Diagnosis >> Transmission >> Automatic Trans >> Automatic Transmission >> Disassembly And Assembly Of Subassemblies >> Main Control Valve Body >> Assembly

Main Control Valve Body: Assembly

    CAUTION: Before beginning assembly, carry out and inspect the following:
    When building up subassemblies and assembling the transmission, ALWAYS use new gaskets and seals.
    All fasteners must be tightened to the torque specification indicated. In addition to appearing in the section, the necessary torques can be found in GENERAL SPECIFICATIONS .
    When building up subassemblies, each component part should be lubricated with clean transmission fluid. It is also good practice to lubricate the subassemblies as they are installed in the case.
    Needle bearings, thrust washers and seals should be lightly coated with petroleum jelly during subassembly buildup or transmission assembly.
    Many components and surfaces in the transmission are precision machined. Careful handling during disassembly, cleaning, inspection and assembly can prevent unnecessary damage to machined surfaces.
  1. Install the valve body cover plate.
    1. Position the valve body cover plate gasket and cover plate.
    2. Install the two guide pin bolts.
    3. Install the bolts.
      Fig 1: Installing Valve Body Cover Plate
      G03402174Courtesy of FORD MOTOR CO.
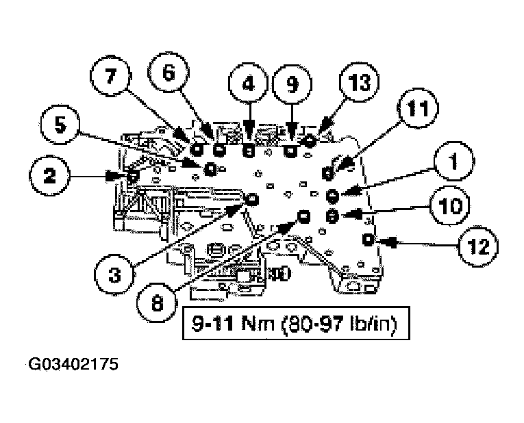
  2. Tighten the bolts in the sequence shown.
    Fig 2: Identifying Tightening Bolts Sequence
    G03402175Courtesy of FORD MOTOR CO.
  3. Install the eight coasting booster valve shuttle balls.
    Fig 3: Installing Eight Coasting Booster Valve Shuttle Balls
    G03402176Courtesy of FORD MOTOR CO.
  4. Install the converter drain back valve and solenoid pressure supply screen.
    Fig 4: Installing Converter Drain Back Valve And Solenoid Pressure Supply
    G03402177Courtesy of FORD MOTOR CO.
  5. Install the separator plate and gaskets.
    Fig 5: Installing Separator Plate And Gaskets
    G03402178Courtesy of FORD MOTOR CO.
  6. Install the two reinforcement plates.
    1. Position the plates.
    2. Install the bolts.
      Fig 6: Installing Two Reinforcement Plates
      G03402179Courtesy of FORD MOTOR CO.
  7. NOTE: Inspect the shift solenoid O-rings and TCC solenoid O-rings for damage.
  8. Install the shift solenoid.
    1. Position the TCC solenoid.
    2. Position the shift solenoid.
    3. Install the bolt.
      Fig 7: Inspecting Shift Solenoid O-Rings And TCC Solenoid O-Rings
      G03402180Courtesy of FORD MOTOR CO.