lemon-mirror:
Home >> Ford >> 2002 >> Windstar Limited >> Repair and Diagnosis >> Transmission >> Automatic Trans >> Automatic Transmission >> Installation >> Transaxle >> Installation

Automatic Transmission: Installation: Transaxle: Installation

  1. Position the transaxle on a high lift transmission jack. Apply Multi-Purpose Grease DOAZ-19584-AA meeting Ford specification ESB-M1C93-B or equivalent to the torque converter pilot hub.
    Fig 1: Positioning Transaxle On A High Lift Transmission Jack
    G02144845Courtesy of FORD MOTOR CO.
  2. Install the shift cable bracket.
    Fig 2: Installing Shift Cable Bracket
    G02144846Courtesy of FORD MOTOR CO.
  3. If not previously installed, install the rear engine support bracket.
    Fig 3: Installing Rear Engine Support Bracket
    G02144847Courtesy of FORD MOTOR CO.
  4. Position the transaxle to the engine assembly, and install the transaxle retaining bolts.
    Fig 4: Installing Transaxle Retaining Bolts
    G02144848Courtesy of FORD MOTOR CO.
  5. Install the front lower retaining bolt.
    Fig 5: Installing Front Lower Retaining Bolt
    G02144849Courtesy of FORD MOTOR CO.
  6. Install the rear lower retaining bolt.
    Fig 6: Installing Rear Lower Retaining Bolt
    G02144850Courtesy of FORD MOTOR CO.
  7. Install the oil pan to transaxle case bolt.
    Fig 7: Installing Oil Pan To Transaxle Case Bolt (1 Of 2)
    G02144851Courtesy of FORD MOTOR CO.
  8. Install the oil pan to transaxle case bolt.
    Fig 8: Installing Oil Pan To Transaxle Case Bolt (2 Of 2)
    G02144852Courtesy of FORD MOTOR CO.
  9. Remove the transmission jack.
  10. Connect the turbine shaft speed (TSS) sensor electrical connector.
    Fig 9: Connecting Turbine Shaft Speed Sensor Electrical Connector
    G02144853Courtesy of FORD MOTOR CO.
  11. Connect the output shaft speed (OSS) sensor electrical connector.
    Fig 10: Connecting Output Shaft Speed Sensor Electrical Connector
    G02144854Courtesy of FORD MOTOR CO.
  12. Install the LH half shaft.
    Fig 11: Installing LH Half Shaft
    G02144855Courtesy of FORD MOTOR CO.
  13. Install the RH half shaft.
    Fig 12: Installing RH Half Shaft
    G02144856Courtesy of FORD MOTOR CO.
  14. Install four new torque converter nuts.
    Fig 13: Installing Torque Converter Nuts
    G02144857Courtesy of FORD MOTOR CO.
  15. Install the two piece transaxle housing cover.
    Fig 14: Installing Transaxle Housing Cover
    G02144858Courtesy of FORD MOTOR CO.
  16. Tighten the transaxle inspection cover bolt and pushpin.
    Fig 15: Tightening Transaxle Inspection Cover Bolt And Pushpin
    G02144859Courtesy of FORD MOTOR CO.
  17. Install the starter motor.
    Fig 16: Installing Starter Motor
    G02144860Courtesy of FORD MOTOR CO.
  18. Install the ground strap and harness bracket.
    Fig 17: Installing Ground Strap And Harness Bracket
    G02144861Courtesy of FORD MOTOR CO.
  19. Remove the special tool.
    Fig 18: Removing Special Tool
    G02144862Courtesy of FORD MOTOR CO.
  20. Raise the subframe assembly into position. Connect the heat shield to the subframe.
  21. Using a 19 mm (0.76 in) dowel, check the front sub-frame alignment.
    • The dowel should slide directly through the front sub-frame and body without tilting.
    Fig 19: Installing Dowel
    G02144863Courtesy of FORD MOTOR CO.
  22. Install the right rear subframe bolt.
    Fig 20: Installing Right Rear Subframe Bolt
    G02144864Courtesy of FORD MOTOR CO.
  23. Install the left rear subframe bolt.
    Fig 21: Installing Left Rear Subframe Bolt
    G02144865Courtesy of FORD MOTOR CO.
  24. Install the right front subframe bolt.
    Fig 22: Installing Right Front Subframe Bolt
    G02144866Courtesy of FORD MOTOR CO.
  25. Install the left front subframe bolt.
    Fig 23: Installing Left Front Subframe Bolt
    G02144867Courtesy of FORD MOTOR CO.
  26. Install the rear engine mount.
    Fig 24: Installing Rear Engine Mount
    G02144868Courtesy of FORD MOTOR CO.
  27. Install the front engine mount.
    Fig 25: Installing Front Engine Mount
    G02144869Courtesy of FORD MOTOR CO.
  28. Install the retainer for the power steering line.
    Fig 26: Installing Power Steering Line Retainer
    G02144870Courtesy of FORD MOTOR CO.
  29. Install the retainer for the power steering line.
    Fig 27: Installing Power Steering Line Retainer
    G02144872Courtesy of FORD MOTOR CO.
  30. Install the nuts for the power steering rack.
    Fig 28: Installing Power Steering Rack Nuts
    G02144873Courtesy of FORD MOTOR CO.
  31. Install the sway bar assembly.
    Fig 29: Installing Sway Bar Assembly
    G02144874Courtesy of FORD MOTOR CO.
  32. Install two bolts for the RH sway bar retainer.
    Fig 30: Installing RH Sway Bar Retainer
    G02144875Courtesy of FORD MOTOR CO.
  33. Install two bolts for the LH sway bar retainer.
    Fig 31: Installing LH Sway Bar Retainer
    G02144876Courtesy of FORD MOTOR CO.
  34. Connect the LH knuckle assembly.
    1. Connect the LH tie rod assembly.
    2. Connect the LH sway bar assembly.
    3. Install the LH pinch bolt.
    Fig 32: Connecting LH Knuckle Assembly
    G02144877Courtesy of FORD MOTOR CO.
  35. Connect the RH knuckle assembly.
    1. Connect the RH tie rod assembly.
    2. Connect the RH sway bar assembly.
    3. Install the RH pinch bolt.
    Fig 33: Connecting RH Knuckle Assembly
    G02144878Courtesy of FORD MOTOR CO.
  36. Install the three-way catalytic converter assembly. For additional information, refer to EMISSION SYSTEMS & SUBSYSTEMS .
  37. Install the front wheels. For additional information refer to WHEELS & TIRES .
  38. Lower the vehicle.
  39. Install the rear transaxle mount nut.
    Fig 34: Installing Rear Transaxle Mount Nut
    G02144879Courtesy of FORD MOTOR CO.
  40. Install the transaxle retaining bolts.
    Fig 35: Installing Transaxle Retaining Bolts
    G02144880Courtesy of FORD MOTOR CO.
  41. Connect the transaxle fluid cooler tubes.
    Fig 36: Connecting Transaxle Fluid Cooler Tubes
    G02144881Courtesy of FORD MOTOR CO.
  42. Install the retaining clips.
    Fig 37: Installing Retaining Clips
    G02144882Courtesy of FORD MOTOR CO.
  43. Install the upper transaxle fluid filler tube and bolt.
    Fig 38: Installing Upper Transaxle Fluid Filler Tube And Bolt
    G02144883Courtesy of FORD MOTOR CO.
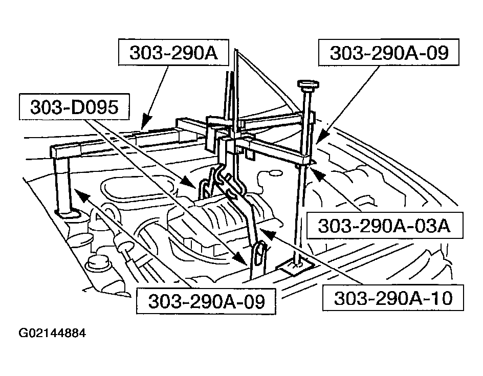
  44. Remove the three bar support.
    Fig 39: Removing Bar Support
    G02144884Courtesy of FORD MOTOR CO.
  45. Remove the special tool.
    Fig 40: Removing Special Tool - Support Bracket
    G02144885Courtesy of FORD MOTOR CO.
  46. Remove the special tool.
    Fig 41: Removing Special Tool - Support Bracket
    G02144886Courtesy of FORD MOTOR CO.
  47. Install the front upper radiator shield.
    Fig 42: Installing Front Upper Radiator Shield
    G02144887Courtesy of FORD MOTOR CO.
  48. Install the wiper arm and pivot assembly. For additional information, refer to WIPERS AND WASHERS .
  49. Install the hood.
  50. Verify that the digital transmission range (TR) sensor is correctly adjusted. For additional information, refer to DIGITAL TRANSMISSION RANGE (TR) SENSOR .
  51. Install the manual control lever and nut.
    Fig 43: Installing Manual Control Lever And Nut
    G02144888Courtesy of FORD MOTOR CO.
  52. Reconnect the harness retainer.
    Fig 44: Connecting Harness Retainer
    G02144889Courtesy of FORD MOTOR CO.
  53. Install the shift cable in the bracket.
    Fig 45: Installing Shift Cable In Bracket
    G02144890Courtesy of FORD MOTOR CO.
  54. Connect the shift cable to the manual control lever lever.
    Fig 46: Connecting Shift Cable To Manual Control Lever
    G02144891Courtesy of FORD MOTOR CO.
  55. Connect the electrical connectors.
    1. Connect the digital transmission range (TR) sensor electrical connector.
    2. Connect the transaxle electrical connector
    3. Connect the wire harness into the bracket.
    Fig 47: Connecting Electrical Connectors
    G02144892Courtesy of FORD MOTOR CO.
  56. NOTE: When the battery is disconnected and reconnected, some abnormal drive symptoms may occur while the vehicle relearns its adaptive strategy.
  57. Install the battery. For additional information, refer to INSTALLATION .
  58. Install the air cleaner assembly.
  59. Fill the transaxle using MERCON V® Automatic Transmission Fluid XT-5-QM or equivalent meeting Ford specification MERCON V®.
  60. Start the engine Move the transaxle range selector lever through all positions. Check the fluid level. For additional information, refer PRELIMINARY INSPECTION .