lemon-mirror:
Home >> Ford >> 2002 >> ZX2 Automatic >> Repair and Diagnosis >> Engine Mechanical >> Mechanical >> Engine System-General Information >> General Procedures >> Piston - Pin Diameter

Piston - Pin Diameter

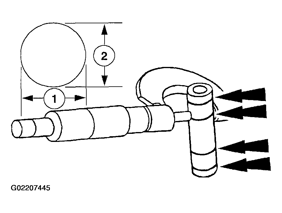
  1. Measure the piston pin diameter in two directions at the points shown. Verify the diameter is within specification.
    • Refer to the appropriate ENGINE article for the procedure.
    • If out of specification, install new components as necessary. Refer to the appropriate ENGINE article for the procedure.
    Fig 1: Measuring Piston Pin Diameter
    G02207445Courtesy of FORD MOTOR CO.