lemon-mirror:
Home >> Ford >> 2002 >> ZX2 Automatic >> Repair and Diagnosis >> External Pages >> Different car >> Section 1309 (Component Testing) >> Component testing >> Main light switch (11654) >> Schematic

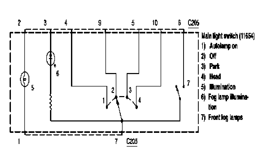
Main light switch (11654): Schematic

WARNING: This page is about a different car, the 2005 Mercury Montego, 2005 Ford Freestyle, and 2005 Ford Five Hundred. However, it is still accessible from the selected car via links, so may be relevant.
Fig 1: Main Light Switch (11654) - Schematic
G03994271Courtesy of FORD MOTOR CO.