lemon-mirror:
Home >> Ford >> 2002 >> ZX2 Automatic >> Repair and Diagnosis >> External Pages >> Different car >> Section 1426 (Component Testing) >> Component Testing >> Multifunction switch (front wiper) >> Schematic

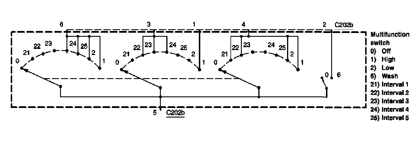
Multifunction switch (front wiper): Schematic

WARNING: This page is about a different car, the 2006 Lincoln Town Car. However, it is still accessible from the selected car via links, so may be relevant.
Fig 1: Multifunction Switch (Front Wiper) - Schematic Diagram
G04598213Courtesy of FORD MOTOR CO.