lemon-mirror:
Home >> Ford >> 2002 >> ZX2 Automatic >> Repair and Diagnosis >> External Pages >> Different car >> Section 1640 (Engine) >> Disassembly And Assembly Of Subassemblies >> Piston >> Assembly

Disassembly And Assembly Of Subassemblies: Piston: Assembly

WARNING: This page is about a different car, the 2006 Mercury Montego, 2006 Ford Freestyle, and 2006 Ford Five Hundred. However, it is still accessible from the selected car via links, so may be relevant.
  1. Align the piston-to-connecting rod orientation marks and position the connecting rod in the piston.
  2. Lubricate the piston pin and pin bore with clean engine oil.
  3. Install the piston pin in the piston and connecting rod assembly.
  4. Install the piston pin retaining clips in the piston.
  5. Lubricate the piston and the new piston rings with clean engine oil.
  6. NOTE: The piston compression lower ring should be installed with the "O" mark on the ring face pointing up toward the top of the piston.
    NOTE: When installing the piston oil control spacer, orient the gap such that the cut ends are pointed toward the top of the piston.
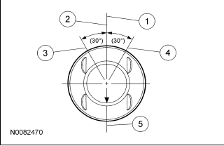
  7. Install the piston rings onto the piston as shown in the figure below.
    1. Center line of the piston parallel to the wrist pin bore
    2. Upper compression ring gap location
    3. Upper oil control segment ring gap location
    4. Lower oil control segment ring gap location
    5. Expander ring and lower compression ring gap location
Fig 1: Exploded View Of Piston Ring Position
G00498947Courtesy of FORD MOTOR CO.