lemon-mirror:
Home >> Ford >> 2002 >> ZX2 Automatic >> Repair and Diagnosis >> External Pages >> Different car >> Section 811 (Component Testing) >> Component Testing >> Mini ISO >> Notes

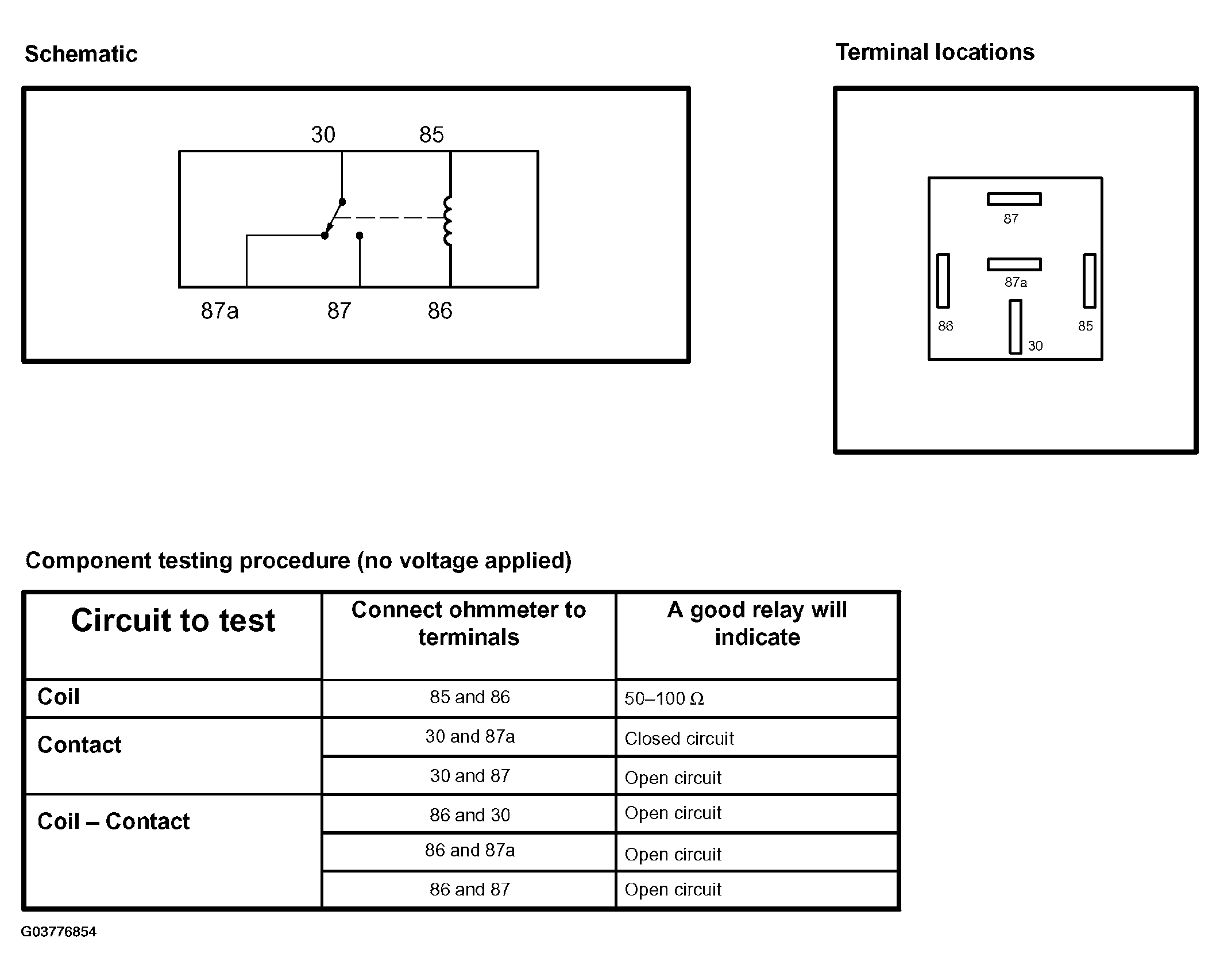
Mini ISO: Notes

WARNING: This page is about a different car, the 2003 Ford Focus. However, it is still accessible from the selected car via links, so may be relevant.
Fig 1: Testing Mini ISO
G03776854Courtesy of FORD MOTOR CO.