lemon-mirror:
Home >> Ford >> 2002 >> ZX2 Automatic >> Repair and Diagnosis >> Transmission >> Automatic Trans >> Automatic Transmission - Overhaul >> Disassembly And Assembly Of Subassemblies >> Main Control Valve Body-Premain >> Notes

Main Control Valve Body-Premain: Notes

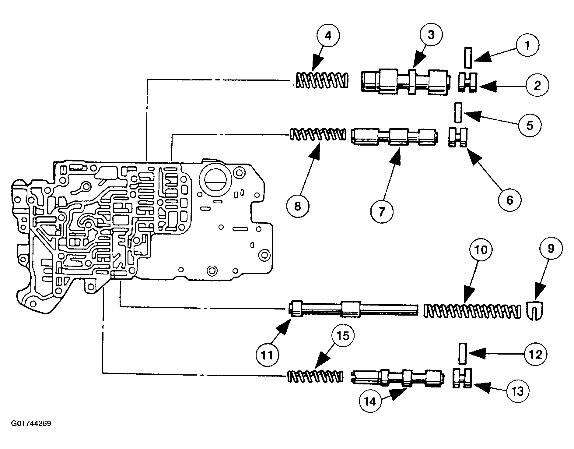
Fig 1: Identifying Premain Main Control Valve Body Components
G01744269Courtesy of FORD MOTOR CO.
Fig 2: Premain Main Control Valve Body Components Legend (Items 1-5)
G01744270Courtesy of FORD MOTOR CO.
Fig 3: Premain Main Control Valve Body Components Legend (Items 6-9)
G01744271Courtesy of FORD MOTOR CO.
Fig 4: Premain Main Control Valve Body Components Legend (Items 10-12)
G01744272Courtesy of FORD MOTOR CO.
Fig 5: Premain Main Control Valve Body Components Legend (Items 13-15)
G01744273Courtesy of FORD MOTOR CO.