lemon-mirror:
Home >> Ford >> 2003 >> Focus SVT, 2D Hatchback >> Repair and Diagnosis >> Engine Mechanical >> Mechanical >> Engine-SVT >> Assembly >> Engine >> Material

Engine Mechanical: Mechanical: Engine-SVT: Assembly: Engine: Material

Fig 1: Material Specification Index - Engine (Assembly)
G01615786Courtesy of FORD MOTOR CO.
    NOTE: Install a new crankshaft rear oil seal carrier gasket.
    NOTE: Do not fully tighten the crankshaft rear oil seal carrier retaining bolts at this stage.
    Fig 2: Installing Rear Oil Seal Carrier
    G01615787Courtesy of FORD MOTOR CO.
  1. Install the rear oil seal carrier.
  2. Install the crankshaft position (CKP) sensor and mounting bracket.
    Fig 3: Installing Crankshaft Position Sensor And Mounting Bracket
    G01615788Courtesy of FORD MOTOR CO.
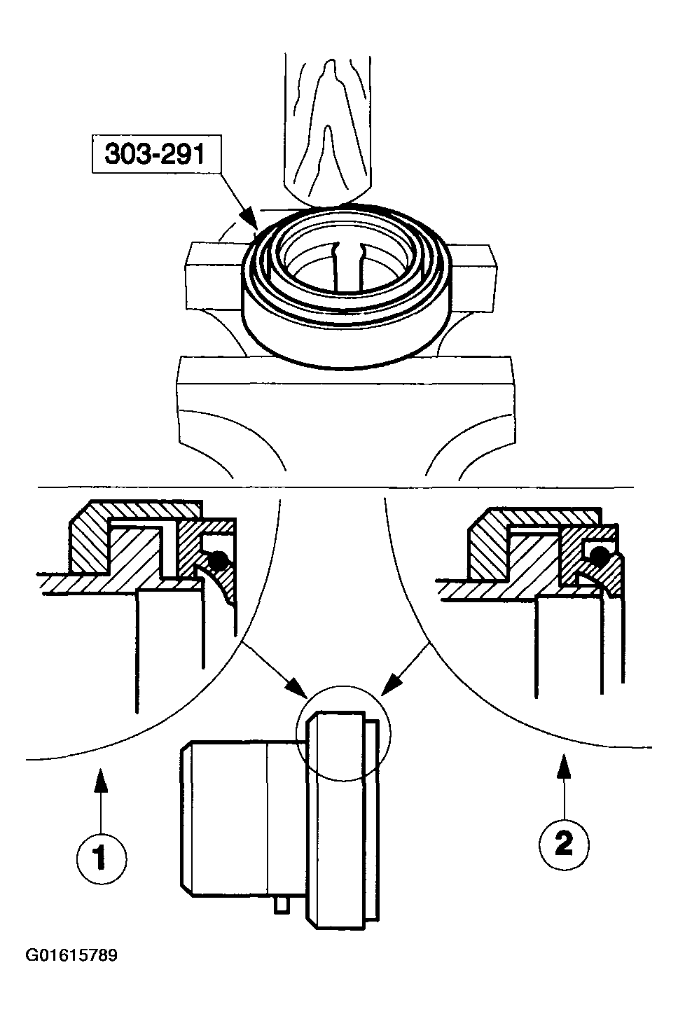
  3. CAUTION: The oil seal must be inserted as far as its stop onto the special tool.
  4. Insert a new crankshaft rear oil seal into the special tool.
    • For correct installation lay the special tool on a vice and use the handle of a hammer to press in the oil seal.
    1. Incorrect installation.
    2. Correct installation.
      Fig 4: Insert New Crankshaft Rear Oil Seal Into Special Tool
      G01615789Courtesy of FORD MOTOR CO.
  5. NOTE: Install a new crankshaft rear oil seal.
    Fig 5: Installing New Crankshaft Rear Oil Seal
    G01615790Courtesy of FORD MOTOR CO.
  6. Using the special tool and two old flywheel bolts, install the crankshaft rear oil seal.
  7. Align the crankshaft rear oil seal carrier so that the sealing surface of the oil seal carrier is 0.3 mm-0.8 mm below the cylinder block and tighten the retaining bolts.
    Fig 6: Aligning Crankshaft Rear Oil Seal Carrier
    G01615791Courtesy of FORD MOTOR CO.
  8. Remove the special tool.
    Fig 7: Removing Special Tool
    G01615792Courtesy of FORD MOTOR CO.
  9. NOTE: Install a new oil pump gasket.
    NOTE: Do not fully tighten the oil pump retaining bolts at this stage.
    Fig 8: Installing Oil Pump
    G01615793Courtesy of FORD MOTOR CO.
  10. Install the oil pump.
  11. Align the oil pump on both sides so that the mating face is between 0.3 mm-0.8 mm above the lower edge of the cylinder block.
    Fig 9: Aligning Oil Pump On Both Sides
    G01615794Courtesy of FORD MOTOR CO.
  12. Tighten the oil pump retaining bolts.
    Fig 10: Tightening Oil Pump Retaining Bolts
    G01615795Courtesy of FORD MOTOR CO.
  13. NOTE: The lower crankcase must by tightened to the specified torque within 10 minutes of applying the sealer.
    NOTE: If the permissible amounts for protrusion or gap are exceeded, install shims as described in the following steps.
  14. Align the lower crankcase.
    • Using a steel straight edge, align the lower crankcase so that the cylinder block and the lower crankcase are flush, or do not exceed 0.10 mm protrusion to 0.25 mm gap.
    • Coat the joints between the cylinder block and the oil pump oil seal carrier with sealer.
    • Position the lower crankcase with a new gasket and tighten the bolts finger tight.
      Fig 11: Aligning Lower Crankcase
      G01615796Courtesy of FORD MOTOR CO.
  15. Install lower crankcase shims as necessary.
    • with a gap of 0.26-0.50 mm, install a 0.25 mm shim.
    • with a gap of 0.51-0.75 mm, install a 0.50 mm shim.
      Fig 12: Installing Lower Crankcase Shims
      G01615797Courtesy of FORD MOTOR CO.
  16. NOTE: Install a new oil pump pickup tube gasket.
  17. Install the lower crankcase.
    1. Tighten the bolts and check the alignment as described in the previous step, correct as necessary.
    2. Install the oil pump pickup tube.
      Fig 13: Installing Lower Crankcase
      G01615798Courtesy of FORD MOTOR CO.
  18. CAUTION: The lower crankcase may be damaged if sealer enters the blind holes.
    Fig 14: Installing Ten Studs Into Blind Holes
    G01615799Courtesy of FORD MOTOR CO.
  19. Install ten M6 x 20 mm studs into the blind holes as shown.
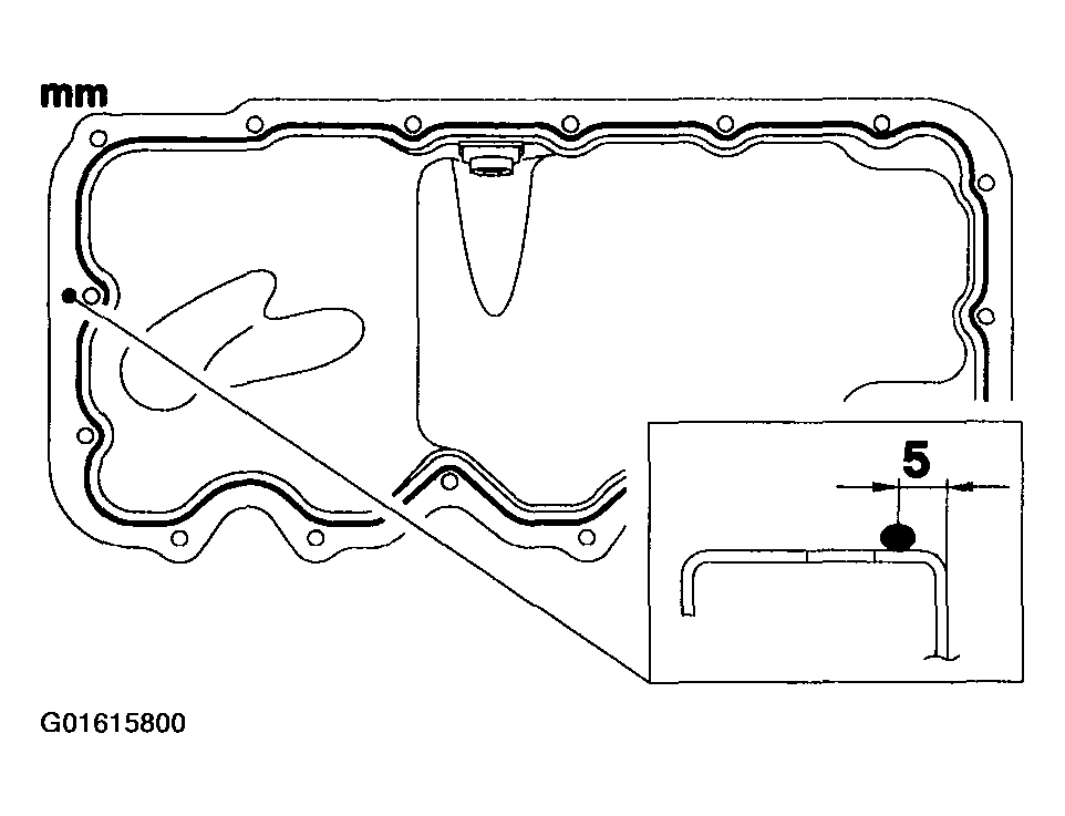
  20. NOTE: Attach the oil pan within ten minutes of applying the sealer.
    Fig 15: Applying Bead Of Sealer On To Oil Pan Mating Face
    G01615800Courtesy of FORD MOTOR CO.
  21. Apply a 3 mm thick bead of sealer on to the oil pan mating face.
  22. NOTE: The oil pan must not be removed once it comes into contact with the lower crankcase housing.
  23. Install the oil pan.
    • Remove the studs.
    • Install and tighten the bolts in the sequence shown in two stages.
    • Stage 1: 6 Nm.
    • Stage 2: 10 Nm.
      Fig 16: Oil Pan Bolts Tightening Sequence
      G01615801Courtesy of FORD MOTOR CO.
  24. NOTE: Install new flywheel retaining bolts.
    NOTE: Remove any residual thread-locking compound from the threaded bores.
    Fig 17: Installing Flywheel
    G01615802Courtesy of FORD MOTOR CO.
  25. Using the special tool, install the flywheel.
  26. Install the clutch disc and pressure plate. For additional information, refer to CLUTCH-IB5 TRANSAXLE , CLUTCH-MTX75 TRANSAXLE , or CLUTCH-MT285 TRANSAXLE .
  27. NOTE: Install a new cylinder head gasket.
    NOTE: Install the cylinder head bolts free of oil.
    NOTE: Tighten the cylinder head bolts in three stages in the indicated sequence.
  28. Install the cylinder head.
    • Stage 1: 20 Nm.
    • Stage 2: 40 Nm.
    • Stage 3: 90 degrees.
      Fig 18: Cylinder Head Bolts Tightening Sequence
      G01615803Courtesy of FORD MOTOR CO.
  29. Lubricate the valve tappets with engine oil and install them in the correct order.
  30. Turn the crankshaft to approximately 60 degrees BTDC.
  31. Lay the camshafts in place with none of the cams at full lift.
  32. Coat the camshafts and camshaft bearing caps with engine oil and insert them.
  33. NOTE: Working in several stages, evenly tighten the camshaft bearing cap bolts in the indicated sequence, half a turn at a time.
  34. Install the camshafts.
    • Tighten the bolts in the sequence shown.
      Fig 19: Camshaft Bearing Cap Bolts Tightening Sequence
      G01615804Courtesy of FORD MOTOR CO.
  35. NOTE: Install a new oil feed flange oil seal.
    Fig 20: Applying Sealer To Marked Areas On Oil Feed Flange
    G01615805Courtesy of FORD MOTOR CO.
  36. Apply sealer to the marked areas on the oil feed flange.
  37. Install the oil feed flange.
    Fig 21: Installing Oil Feed Flange
    G01615806Courtesy of FORD MOTOR CO.
  38. Install the exhaust camshaft oil seal.
    • Lubricate the camshaft and the seal lip of the oil seal with engine oil.
    • Draw in the new oil seals using the special tool, a washer and an M10 x 70 bolt.
      Fig 22: Installing Exhaust Camshaft Oil Seal
      G01615807Courtesy of FORD MOTOR CO.
  39. Turn the crankshaft to TDC on cylinder number 1.
    Fig 23: Turning Crankshaft To TDC On Cylinder Number 1
    G01615808Courtesy of FORD MOTOR CO.
  40. NOTE: Cylinders 1 and 4 are at TDC when the Woodruff key points towards the piston.
    Fig 24: Removing Blanking Plug For Crankshaft Alignment
    G01615809Courtesy of FORD MOTOR CO.
  41. Remove the blanking plug and align the crankshaft at TDC using the special tool.
  42. Turn the camshafts to ignition point on cylinder number 1 and insert the special tool into the camshafts.
    Fig 25: Inserting Special Tool Into Camshafts
    G01615810Courtesy of FORD MOTOR CO.
  43. NOTE: Do not fully tighten the camshaft pulley retaining bolts at this stage.
    Fig 26: Installing Camshaft Pulleys
    G01615811Courtesy of FORD MOTOR CO.
  44. Install the camshaft pulleys.
  45. Install a new water pump gasket by bending over the tabs.
    1. Lay the gasket in place.
    2. Secure the gasket by bending over the tabs.
      Fig 27: Installing Water Pump Gasket
      G01615812Courtesy of FORD MOTOR CO.
  46. CAUTION: Do not kink the timing belt (do not bend the timing belt by more than a diameter of 35 mm).
    CAUTION: Do not rotate the crankshaft; check that it is still resting against the timing pin.
    NOTE: The lug of the timing belt tensioner must not be hooked into the sheet metal cover during timing belt installation.
  47. Position a new timing belt.
    1. Slide the crankshaft timing pulley with a thrust washer onto the crankshaft.
    2. Attach the water pump.
    3. Attach the upper idler pulley.
    4. Starting from the crankshaft timing belt pulley and working counterclockwise, position the timing belt in place while keeping it under tension.
    5. Attach the timing belt tensioner and tighten the bolt five turns.
      Fig 28: Positioning Timing Belt
      G01615813Courtesy of FORD MOTOR CO.
  48. CAUTION: Incorrect timing belt tension will cause incorrect valve timing.
  49. Pre-tension the timing belt.
    1. Rotate the tensioner locating tab counterclockwise and insert the locating tab into the slot in the rear timing cover.
    2. Position the hexagonal key slot in the tensioner adjusting washer to the 4 o'clock position.
    3. Using a 6 mm hexagonal key tighten the bolt enough to seat the tensioner firmly against the rear timing cover, but still allow the tensioner adjusting washer to be rotated.
      Fig 29: Pretensioning Timing Belt
      G01615814Courtesy of FORD MOTOR CO.
  50. CAUTION: Tension the timing belt, working counterclockwise.
    Fig 30: Rotating Adjusting Washer Counterclockwise
    G01615815Courtesy of FORD MOTOR CO.
  51. Using the hexagonal key, rotate the adjusting washer counterclockwise until the notch in the pointer is centered over the index line on the locating tab (the pointer will move clockwise during adjustment).
  52. While holding the adjusting washer in position, tighten the bolt.
    Fig 31: Tightening Tensioner Bolt
    G01615816Courtesy of FORD MOTOR CO.
  53. NOTE: Hold the camshafts by the hexagon with an open ended wrench to prevent them from rotating.
    Fig 32: Tightening Camshaft Pulley Retaining Bolts
    G01615817Courtesy of FORD MOTOR CO.
  54. Tighten the camshaft pulley retaining bolts.
  55. NOTE: Hold the camshaft by the hexagon with an open ended wrench to prevent it from rotating.
    Fig 33: Installing Intake Camshaft Pulley Blanking Plug
    G01615818Courtesy of FORD MOTOR CO.
  56. Install the intake camshaft pulley blanking plug.
  57. Remove special tool.
    Fig 34: Removing Special Tool (303-574)
    G01615819Courtesy of FORD MOTOR CO.
  58. Remove special tool.
    Fig 35: Removing Special Tool (303-376)
    G01615820Courtesy of FORD MOTOR CO.
  59. NOTE: Turn the engine two turns in the normal direction of rotation by the crankshaft.
  60. Check the valve timing by inserting the special tools and correct the alignment as necessary.
    • Screw in Special Tool 303-574 and make sure that the crankshaft is resting against the special tool.
    • Insert Special Tool 303-376 into the camshafts. If necessary loosen the timing pulleys and correct the camshaft alignment.
    • Remove the special tools.
  61. Install the blanking plug.
    Fig 36: Installing Blanking Plug
    G01615821Courtesy of FORD MOTOR CO.
  62. Install the valve cover.
    Fig 37: Installing Valve Cover
    G01615822Courtesy of FORD MOTOR CO.
  63. CAUTION: Use a blunt object (a plastic cable tie) to apply the silicone grease to avoid damaging the spark plug electrical connectors.
    CAUTION: Push on the spark plug electrical connectors, keeping them in line with the spark plugs.
    NOTE: Coat the inside of the spark plug electrical connectors to a depth of 5-10 mm with silicone grease.
  64. Connect the spark plug electrical connectors.
    • Push on the spark plug electrical connectors until they click in place.
      Fig 38: Connecting Spark Plug Electrical Connectors
      G01615823Courtesy of FORD MOTOR CO.
  65. NOTE: Check the seating of the gasket on the upper timing belt cover and correct as necessary.
  66. Attach the timing belt covers and the belt pulleys.
    1. Lower timing belt cover.
    2. Crankshaft pulley.
    3. Upper timing belt cover.
    4. Engine front mount bracket.
    5. Drive belt idler pulley.
    6. Water pump belt pulley.
      Fig 39: Attaching Timing Belt Covers And Belt Pulleys
      G01615824Courtesy of FORD MOTOR CO.
  67. Connect the positive crankcase ventilation using a new seal.
    1. Three bolts.
    2. One bolt.
      Fig 40: Connecting Positive Crankcase Ventilation
      G01615825Courtesy of FORD MOTOR CO.
  68. Attach the ancillary components on the exhaust side.
    1. Air conditioning compressor bracket.
    2. Power steering pump bracket.
    3. Power steering pump to cylinder block bracket.
      Fig 41: Attaching Ancillary Components On Exhaust Side
      G01615826Courtesy of FORD MOTOR CO.
  69. Install the oil cooler.
    Fig 42: Installing Oil Cooler
    G01615827Courtesy of FORD MOTOR CO.
  70. Hook the engine by the engine lifting eyes onto the workshop hoist and detach it from the assembly stand.
    • Put the engine down onto the assembly stand and leave it hooked onto the workshop hoist.
  71. NOTE: Coat the oil filter seal with engine oil.
  72. Attach the ancillary components on the intake side.
    • Oil pressure switch.
    • Knock sensor (KS).
    • Attach a new oil filter.
    • Generator bracket to cylinder block.
    • Generator bracket to cylinder head.
      Fig 43: Attaching Ancillary Components On Intake Side
      G01615828Courtesy of FORD MOTOR CO.
  73. Raise and support the vehicle. For additional information, refer to JACKING & HOISTING .
  74. Attach the generator.
    1. Tighten the bolt.
    2. Tighten the bolt.
    3. Connect the positive cable.
      Fig 44: Attaching Generator
      G01615829Courtesy of FORD MOTOR CO.
  75. Connect the oil pressure switch and the KS electrical connectors.
    Fig 45: Connecting Oil Pressure Switch And KS Electrical Connectors
    G01615830Courtesy of FORD MOTOR CO.