lemon-mirror:
Home >> Ford >> 2003 >> Mustang Mach 1, Automatic >> Repair and Diagnosis >> External Pages >> Different variant/trim >> Section 3 (Engine-3.8L) >> Installation >> Engine >> Installation

Section 3 (Engine-3.8L): Installation: Engine: Installation

WARNING: This page is about a different variant/trim than selected.
  1. All vehicles  Install the separator plate and the flywheel.
    Fig 1: Installing Separator Plate And The Flywheel
    G01623944Courtesy of FORD MOTOR CO.
  2. Using the special tools, position the engine in the vehicle.
    Fig 2: Positioning Engine In Vehicle
    G01623945Courtesy of FORD MOTOR CO.
  3. Remove the special tools.
  4. Raise and support the vehicle.
  5. Install the LH engine mount nut.
    Fig 3: Installing LH Engine Mount Nut
    G01623946Courtesy of FORD MOTOR CO.
  6. Install the RH engine mount nut.
    Fig 4: Installing RH Engine Mount Nut
    G01623947Courtesy of FORD MOTOR CO.
  7. Vehicles equipped with manual transmission  Install the transmission. For additional information, refer to MANUAL TRANSAXLE-T50D .
  8. Install the transmission oil filler tube.
    Fig 5: Installing Transmission Oil Filler Tube
    G01623948Courtesy of FORD MOTOR CO.
  9. Vehicles equipped with automatic transmission  Install the five bellhousing upper bolts.
    Fig 6: Installing Bellhousing Upper Bolts
    G01623949Courtesy of FORD MOTOR CO.
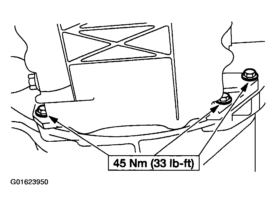
  10. Install the bolts.
    Fig 7: Installing Bolts
    G01623950Courtesy of FORD MOTOR CO.
  11. Install the four torque converter nuts.
    Fig 8: Installing Torque Converter Nuts
    G01623951Courtesy of FORD MOTOR CO.
  12. All vehicles  Install the access cover.
    Fig 9: Installing Access Cover
    G01623952Courtesy of FORD MOTOR CO.
  13. Install the oil pan drain plug.
    Fig 10: Installing Oil Pan Drain Plug
    G01623953Courtesy of FORD MOTOR CO.
  14. Install the bracket.
    Fig 11: Installing Bracket
    G01623954Courtesy of FORD MOTOR CO.
  15. Connect the engine ground strap.
    Fig 12: Connecting Engine Ground Strap
    G01623955Courtesy of FORD MOTOR CO.
  16. Install the bracket.
    Fig 13: Installing Bracket
    G01623956Courtesy of FORD MOTOR CO.
  17. Install the bracket.
    Fig 14: Installing Bracket
    G01623957Courtesy of FORD MOTOR CO.
  18. Install the dual converter Y-pipe. For additional information, refer to EXHAUST SYSTEM .
  19. Install the starter motor. For additional information, refer to STARTERS .
  20. Lower the vehicle.
  21. Connect the evaporative emissions (EVAP) return tube.
    Fig 15: Connecting Evaporative Emissions (EVAP) Return Tube
    G01623958Courtesy of FORD MOTOR CO.
  22. Connect the connector and vacuum tube.
    Fig 16: Connecting Connector And Vacuum Tube
    G01623959Courtesy of FORD MOTOR CO.
  23. Position the wiring harness.
    Fig 17: Installing Wiring Harness
    G01623960Courtesy of FORD MOTOR CO.
  24. Connect the following connectors:
    • 42-pin electrical connector
    • 16-pin electrical connector
    • 8-pin electrical connector
    • A/C pressure switch
      Fig 18: Connecting 42, 16, 8 Pin Electrical Connector And A/C Pressure Switch
      G01623961Courtesy of FORD MOTOR CO.
  25. Connect the heater hoses.
    Fig 19: Connecting Heater Hoses
    G01623962Courtesy of FORD MOTOR CO.
  26. Connect the fuel supply tube spring lock coupling. For additional information, refer to FUEL SYSTEM-GENERAL INFORMATION .
  27. Connect the A/C compressor electrical connector.
    Fig 20: Connecting A/C Compressor Electrical Connector
    G01623963Courtesy of FORD MOTOR CO.
  28. Connect the A/C manifold and tube. For additional information, refer to AIR CONDITIONING .
  29. Install the air cleaner outlet tube. For additional information, refer to REMOVAL & INSTALLATION .
  30. Install the accelerator cable bracket.
    Fig 21: Installing Accelerator Cable Bracket
    G01623964Courtesy of FORD MOTOR CO.
  31. Connect the accelerator cable.
    Fig 22: Connecting Accelerator Cable
    G01623965Courtesy of FORD MOTOR CO.
  32. Install the radiator coolant recovery reservoir.
    Fig 23: Installing Radiator Coolant Recovery Reservoir
    G01623966Courtesy of FORD MOTOR CO.
  33. Connect the upper radiator hose.
    Fig 24: Connecting Upper Radiator Hose
    G01623967Courtesy of FORD MOTOR CO.
  34. Connect the lower radiator hose.
    Fig 25: Connecting Lower Radiator Hose
    G01623968Courtesy of FORD MOTOR CO.
  35. Connect the power steering pump.
    • Connect the power steering return hose.
    • Position the clamp.
    • Connect the power steering pressure tube.
      Fig 26: Connecting Power Steering Pump
      G01623969Courtesy of FORD MOTOR CO.
  36. Connect the generator electrical connections.
    Fig 27: Connecting Generator Electrical Connections
    G01623970Courtesy of FORD MOTOR CO.
  37. Connect the vacuum hose.
    Fig 28: Connecting Vacuum Hose
    G01623971Courtesy of FORD MOTOR CO.
  38. Install the hood.
    Fig 29: Installing Hood
    G01623972Courtesy of FORD MOTOR CO.
  39. Connect the hood ground strap.
    Fig 30: Connecting Hood Ground Strap
    G01623973Courtesy of FORD MOTOR CO.
  40. Connect the battery negative cable. For additional information, refer to BATTERY, MOUNTING AND CABLES .
  41. Fill the engine with clean engine oil.
  42. Fill the engine cooling system. For additional information, refer to ENGINE COOLING .
  43. Recharge the A/C refrigerant system. For additional information, refer to CLIMATE CONTROL SYSTEM-GENERAL INFORMATION .
  44. 44. Fill and bleed the power steering system. For additional information, refer to STEERING SYSTEM-GENERAL INFORMATION .