lemon-mirror:
Home >> Ford >> 2003 >> Windstar Limited >> Repair and Diagnosis >> Engine Mechanical >> Mechanical >> Engine >> Assembly >> Engine >> Material

Engine Mechanical: Mechanical: Engine: Assembly: Engine: Material

Fig 1: Material Specifications
G01308005Courtesy of FORD MOTOR CO.
CAUTION: The moving components must be lubricated with clean engine oil before assembly.
CAUTION: The components with oil holes must be correctly aligned with the oil feed holes.
  1. If necessary, install the following:
    1. The cylinder block dowels.
    2. The oil gallery plugs.
    3. The water jacket plugs.
      Fig 2: Installing Cylinder Block Dowels, Oil Gallery Plugs & Water Jacket Plugs
      G01308006Courtesy of FORD MOTOR CO.
  2. If equipped, install the engine coolant heater. For additional information, refer to ENGINE COOLING .
  3. Using the Camshaft Service Set, install the engine dynamic balance shaft bearings.
    Fig 3: Identifying Engine Dynamic Balance Shaft Bearings
    G01308007Courtesy of FORD MOTOR CO.
  4. Using the Camshaft Service Set, install the camshaft bearings.
    Fig 4: Identifying Camshaft Bearings
    G01308008Courtesy of FORD MOTOR CO.
  5. Install the following:
    1. The engine dynamic balance shaft bearing cover.
    2. The camshaft bearing cover.
      Fig 5: Identifying Engine Dynamic Balance Shaft Bearing Cover & Camshaft Bearing Cover
      G01308009Courtesy of FORD MOTOR CO.
  6. CAUTION: Do not damage the camshaft lobes when installing the camshaft.
    Fig 6: Identifying Camshaft & Camshaft Spacer
    G01308010Courtesy of FORD MOTOR CO.
  7. Install the camshaft and the camshaft spacer.
  8. Install the camshaft thrust plate.
    1. Position the camshaft thrust plate.
    2. Install the bolts.
      Fig 7: Identifying Camshaft Thrust Plate
      G01308011Courtesy of FORD MOTOR CO.
  9. Turn the camshaft so that the timing mark is at 12 o'clock and install the engine dynamic balance shaft assembly into the cylinder block. Turn the engine balance shaft driven gear so that the timing mark lines up with the timing mark on the engine balance shaft drive gear.
    Fig 8: Aligning Timing Mark On Engine Balance Shaft Drive Gear
    G01308012Courtesy of FORD MOTOR CO.
  10. NOTE: If correctly aligned, the engine dynamic balance shaft keyway will be at 12 o'clock and the camshaft keyway will be at 6 o'clock on the camshaft.
    Fig 9: Identifying Tightening Torque Of Camshaft Keyway Thrust Plate Bolt
    G01308013Courtesy of FORD MOTOR CO.
  11. Install the bolts.
  12. CAUTION: Make sure the components are installed in the correct location.
    NOTE: Lubricate the crankshaft main bearings with clean engine oil prior to installation.
    Fig 10: Installing Crankshaft Upper Main Bearings & Crankshaft Upper Thrust Main Bearing
    G01308014Courtesy of FORD MOTOR CO.
  13. Install the crankshaft upper main bearings and the crankshaft upper thrust main bearing.
  14. CAUTION: The crankshaft journals must be protected from damage when installing the crankshaft.
    Fig 11: Positioning Crankshaft
    G01308015Courtesy of FORD MOTOR CO.
    CAUTION: The main bearings are precision selective fit. Inspect the bearing clearance. For additional information, refer to ENGINE SYSTEM-GENERAL INFORMATION .
  15. Position the crankshaft.
  16. NOTE: If the rear main bearing cap is not installed within four minutes, remove the sealant and reapply.
    Fig 12: Identifying Rear Main Bearing Cap Sealing Area
    G01308016Courtesy of FORD MOTOR CO.
  17. Clean the rear main bearing cap sealing area with metal surface cleaner. Apply silicone gasket and sealant to the rear main bearing cap-to-cylinder block parting line.
  18. Install the main bearing caps. Tighten the bolts in two stages.
    • Stage 1: Tighten to 50 Nm (37 lb-ft).
    • Stage 2: Rotate an additional 120 degrees.
      Fig 13: Identifying Main Bearing Caps
      G01308017Courtesy of FORD MOTOR CO.
  19. Compress the piston rings.
    Fig 14: Compressing Piston Rings
    G01308018Courtesy of FORD MOTOR CO.
  20. CAUTION: Inspect the piston clearance. For additional information, refer to ENGINE SYSTEM-GENERAL INFORMATION .
    CAUTION: Do not damage the cylinder wall with the sharp edges of the connecting rod.
    Fig 15: Identifying Piston Arrow On Piston Face Pointing Toward Front Of Engine
    G01308019Courtesy of FORD MOTOR CO.
  21. Install the piston with the arrow on the piston face pointing toward the front of the engine.
  22. CAUTION: Inspect the connecting rod bearing clearance. For additional information, refer to ENGINE SYSTEM-GENERAL INFORMATION .
    CAUTION: The connecting rod cap will fit only one way.
    Fig 16: Positioning Connecting Lower Rod Bearing & Connecting Rod Cap
    G01308020Courtesy of FORD MOTOR CO.
  23. Position the connecting lower rod bearing and the connecting rod cap on the connecting rod and the crankshaft journal.
  24. Tighten the connecting rod cap bolts in three stages.
    • Stage 1: Tighten to 25 Nm (18 lb-ft).
    • Stage 2: Tighten to 45 Nm (33 lb-ft).
    • Stage 3: Tighten an additional 105 degrees.
      Fig 17: Identifying Connecting Rod Cap Bolts
      G01308021Courtesy of FORD MOTOR CO.
  25. Install the remaining pistons and the connecting rods.
  26. Install the oil pan baffle and the retaining nuts.
    Fig 18: Oil Pan Baffle Retaining Nut Tightening Torque
    G01308022Courtesy of FORD MOTOR CO.
  27. Using a new gasket, install the oil pump screen cover and tube.
    Fig 19: Oil Pump Screen Cover & Tube Bolt Tightening Torque
    G01308023Courtesy of FORD MOTOR CO.
  28. Install the timing chain tensioner.
    1. Position the timing chain tensioner.
    2. Install the bolts.
      Fig 20: Timing Chain Tensioner Bolt Tightening Torque
      G01308024Courtesy of FORD MOTOR CO.
  29. Retract the tensioner pad retracting mechanism.
    1. Compress the tensioner pad retracting mechanism.
    2. Insert a retaining pin.
      Fig 21: Inserting Retaining Pin
      G01308025Courtesy of FORD MOTOR CO.
  30. Rotate the crankshaft so the number one piston is at top dead center (TDC) and the keyway is at the 12 o'clock position.
    Fig 22: Identifying Crankshaft Keyway At 12 O'Clock Position
    G01308026Courtesy of FORD MOTOR CO.
  31. Turn the camshaft sprocket so that the keyway is on the bottom of the camshaft.
    Fig 23: Identifying Camshaft Sprocket
    G01308027Courtesy of FORD MOTOR CO.
  32. Install the timing chain, the camshaft sprocket and the crankshaft sprocket as an assembly.
    Fig 24: Installing Timing Chain, Camshaft Sprocket & Crankshaft Sprocket
    G01308028Courtesy of FORD MOTOR CO.
  33. Make sure the timing marks and the keyways are aligned.
    Fig 25: Aligning Timing Marks & Keyways
    G01308029Courtesy of FORD MOTOR CO.
  34. Install the camshaft position sensor drive gear and retaining bolt.
    Fig 26: Camshaft Position Sensor Drive Gear Retaining Bolt Tightening Torque
    G01308030Courtesy of FORD MOTOR CO.
  35. Remove the retaining pin.
    Fig 27: Removing Retaining Pin
    G01308031Courtesy of FORD MOTOR CO.
    CAUTION: The components removed should be marked for location. Make sure the reinstalled parts are in the correct location.
  36. NOTE: Install the new cylinder head gaskets with the small hole to the front of the engine.
    Fig 28: Installing Cylinder Heads Gasket & Cylinder Head
    G01308032Courtesy of FORD MOTOR CO.
  37. Using new gaskets, install the RH and the LH cylinder heads.
  38. CAUTION: Always use new bolts.
    NOTE: Lubricate the bolts with clean engine oil prior to installation. Make sure the bolts are installed in the correct location.
  39. Install the new bolts.
    1. Install new long bolts.
    2. Install new short bolts.
      Fig 29: Identifying Cylinder Bolts
      G01308033Courtesy of FORD MOTOR CO.
  40. Tighten the cylinder head bolts in three stages in the sequence shown.
    • Stage 1: Tighten to 20 Nm (14 lb-ft).
    • Stage 2: Tighten to 40 Nm (29 lb-ft).
    • Stage 3: Tighten to 50 Nm (36 lb-ft).
      Fig 30: Cylinder Head Bolt Tightening Sequence
      G01308034Courtesy of FORD MOTOR CO.
  41. CAUTION: Do not loosen all of the bolts at one time. Each bolt must be loosened and tightened prior to working on the next bolt in the sequence.
  42. Tighten the bolts in sequence in four stages: short bolts numbered 2, 4, 6 and 8:
    • Stage 1: Tighten to 25 Nm (18 lb-ft).
    • Stage 2: Tighten an additional 180 degrees. Long bolts numbered 1, 3, 5 and 7:
    • Stage 3: Tighten to 45 Nm (33 lb-ft).
    • Stage 4: Tighten an additional 180 degrees.
      Fig 31: Cylinder Head Bolt Tightening Sequence
      G01308035Courtesy of FORD MOTOR CO.
  43. NOTE: Lubricate the valve tappets with clean engine oil prior to installing.
  44. Install the valve tappets.
    • Install the valve tappets.
    • Install the tappet guide plates and retainers.
    • Install the bolts.
      Fig 32: Valve Tappet Bolt Tightening Torque
      G01308036Courtesy of FORD MOTOR CO.
  45. NOTE: Lubricate the push rods with clean engine oil prior to installation.
    Fig 33: Identifying Push Rods
    G01308037Courtesy of FORD MOTOR CO.
  46. Install the 12 push rods.
  47. Install the 12 rocker arms. For additional information, refer to ROCKER ARM .
  48. NOTE: Use pipe sealant with Teflon® on studs No. 4 and 6, and bolt No. 12.
  49. Using a new gasket, install the engine front cover. Tighten the nuts and the bolts in the sequence shown.
    • Install a 135.5 mm (5.42 in) stud at location No. 5 and tighten to 7 Nm (62 lb-in).
    • Install a 137 mm (5.48 in) stud at locations No. 4, 6, 7 and 10, and tighten to 7 Nm (62 lb-in).
    • Using a new gasket, install the water pump.
    • Tighten bolt No. 12 to 10 Nm (89 lb-in). All other nuts and bolts are to be tightened to 28 Nm (21 lb-ft).
      Fig 34: Engine Front Cover Bolt/Nut Tightening Sequence
      G01308038Courtesy of FORD MOTOR CO.
  50. NOTE: Lubricate the parts with clean engine oil before assembly.
    Fig 35: Identifying Front Crankshaft Seal
    G01308039Courtesy of FORD MOTOR CO.
  51. Using the special tool, install the front crankshaft seal.
  52. Install the crankshaft position sensor.
    Fig 36: Crankshaft Position Sensor Bolt Tightening Torque
    G01308040Courtesy of FORD MOTOR CO.
  53. Apply a bead of silicone gasket and sealant to the keyway in the crankshaft damper. Using the special tool, position and install the crankshaft damper.
    Fig 37: Installing Crankshaft Damper
    G01308041Courtesy of FORD MOTOR CO.
  54. Install the crankshaft pulley bolt.
    Fig 38: Crankshaft Pulley Bolt Tightening Torque
    G01308042Courtesy of FORD MOTOR CO.
  55. Install the camshaft synchronizer. .
  56. Install the water pump pulley and the retaining bolts.
    Fig 39: Water Pump Pulley Retaining Bolt Tightening Torque
    G01308043Courtesy of FORD MOTOR CO.
  57. NOTE: If the oil pan is not installed within four minutes, remove the sealant and reapply.
  58. Clean and apply the sealant to the oil pan sealing areas shown and install the oil pan rear seal.
    1. Apply silicone gasket and sealant to the rear main bearing cap.
    2. Install the oil pan rear seal.
    3. Clean the oil pan mating surfaces with metal surface cleaner and apply silicone gasket and sealant to the oil pan mating surfaces.
      Fig 40: Installing Oil Pan Rear Seal
      G01308044Courtesy of FORD MOTOR CO.
  59. Tighten the oil pan bolts in the sequence shown.
    Fig 41: Identifying Tightening Sequence Of Oil Pan Bolts
    G01308045Courtesy of FORD MOTOR CO.
  60. Install the oil pressure sensor.
    Fig 42: Oil Pressure Sensor Retaining Nut Tightening Torque
    G01308046Courtesy of FORD MOTOR CO.
  61. Install a new oil filter.
    Fig 43: Installing Oil Filter
    G01308047Courtesy of FORD MOTOR CO.
  62. NOTE: Inspect the valve cover gaskets for damage. Install a new gasket, if necessary.
  63. Install the valve covers.
    1. Position the valve covers.
    2. Install the bolts.
    3. Install the stud bolts.
      Fig 44: Installing Valve Covers
      G01308048Courtesy of FORD MOTOR CO.
  64. Install the lower exhaust manifold studs on both cylinder heads.
    Fig 45: Lower Exhaust Manifold Stud Tightening Torque
    G01308049Courtesy of FORD MOTOR CO.
  65. Using a new gasket, install the RH exhaust manifold. Loosely install the RH nuts.
    Fig 46: Installing RH Exhaust Manifold Nuts
    G01308050Courtesy of FORD MOTOR CO.
  66. Tighten the bolts in the sequence shown.
    Fig 47: RH Exhaust Manifold Nut Tightening Sequence
    G01308051Courtesy of FORD MOTOR CO.
  67. Using a new gasket, install the LH exhaust manifold. Loosely install the LH nuts.
    Fig 48: Installing LH Exhaust Manifold Nuts
    G01308052Courtesy of FORD MOTOR CO.
  68. Tighten the bolts in the sequence shown.
    Fig 49: LH Exhaust Manifold Nut Tightening Sequence
    G01308053Courtesy of FORD MOTOR CO.
  69. NOTE: Install a new oil level indicator tube O-ring seal.
    Fig 50: Oil Level Indicator Tube Retaining Nut Tightening Torque
    G01308054Courtesy of FORD MOTOR CO.
  70. Install the oil level indicator tube and the retaining nut.
  71. Refer to the illustration for intake manifold sealing components.
    Fig 51: Identifying Intake Manifold Sealing Components
    G01308055Courtesy of FORD MOTOR CO.
  72. Install the lower intake manifold front and rear end seals.
    1. Apply a bead of silicone gasket and sealant to the intake manifold front and rear end seal mounting points as indicated.
    2. Install the lower intake manifold front and rear end seals.
      Fig 52: Applying A Bead Of Silicone Gasket & Sealant
      G01308056Courtesy of FORD MOTOR CO.
  73. Position the intake manifold gaskets.
    Fig 53: Installing Intake Manifold Gaskets
    G01308057Courtesy of FORD MOTOR CO.
  74. NOTE: The lower intake manifold must be installed within four minutes of applying the sealant.
  75. Position the lower intake manifold.
    1. Apply a bead of silicone gasket and sealant to the lower intake manifold mounting at the points indicated.
    2. Position the lower intake manifold.
      Fig 54: Applying A Bead Of Silicone Gasket & Sealant
      G01308058Courtesy of FORD MOTOR CO.
  76. NOTE: Make sure the bolts are installed in the correct locations.
    Fig 55: Identifying Correct Long Bolt Locations
    G01308059Courtesy of FORD MOTOR CO.
  77. Install the six long bolts.
  78. Install the eight short bolts.
    Fig 56: Identifying Correct Short Bolt Location
    G01308060Courtesy of FORD MOTOR CO.
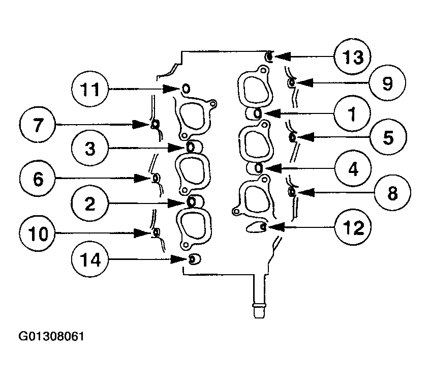
  79. Tighten the lower intake manifold bolts in two stages in the sequence shown.
    • Stage 1: Tighten to 5 Nm (44 lb-in).
    • Stage 2: Tighten to 10 Nm (89 lb-in).
      Fig 57: Lower Intake Manifold Bolt Tightening Sequence
      G01308061Courtesy of FORD MOTOR CO.
  80. Install the water bypass tube and the mounting bolts.
    Fig 58: Water Bypass Tube Mounting Bolt Tightening Torque
    G01308062Courtesy of FORD MOTOR CO.
  81. Install the exhaust gas recirculation (EGR) valve-to-exhaust manifold tube.
    Fig 59: Installing Exhaust Gas Recirculation (EGR) Valve-To-Exhaust Manifold Tube
    G01308063Courtesy of FORD MOTOR CO.
  82. Install the EGR valve to exhaust manifold tube upper fitting.
    Fig 60: Installing EGR Valve-To-Exhaust Manifold Tube Upper Fitting
    G01308064Courtesy of FORD MOTOR CO.
  83. Install the ignition coil.
    Fig 61: Ignition Coil Nut Tightening Torque
    G01308065Courtesy of FORD MOTOR CO.
  84. Connect the spark plug wires.
    • Correctly route the spark plug wires.
    • Connect the spark plug wires.
      Fig 62: Connecting Spark Plug Wires
      G01308066Courtesy of FORD MOTOR CO.
  85. Install the ppositive crankcase ventilation (PCV) tube.
    Fig 63: Installing Positive Crankcase Ventilation (PCV) Tube
    G01308067Courtesy of FORD MOTOR CO.
  86. Install the PCV valve and tube.
    Fig 64: Installing PCV Valve & Tube
    G01308068Courtesy of FORD MOTOR CO.
  87. Install the fuel injectors and the fuel injection supply manifold as an assembly.
    Fig 65: Fuel Injection Supply Manifold Bolt Tightening Torque
    G01308069Courtesy of FORD MOTOR CO.
  88. Position the vacuum harness.
  89. Connect the EGR valve vacuum hose.
    Fig 66: Connecting EGR Valve Vacuum Hose
    G01308070Courtesy of FORD MOTOR CO.
  90. Position the engine wiring harness.
  91. Connect the ignition coil electrical connector.
    Fig 67: Connecting Ignition Coil Electrical Connector
    G01308071Courtesy of FORD MOTOR CO.
  92. Connect the crankshaft position (CKP) sensor electrical connectors.
    Fig 68: Connecting Crankshaft Position (CKP) Sensor Electrical Connectors
    G01308072Courtesy of FORD MOTOR CO.
  93. Connect the engine coolant temperature (ECT) sensor electrical connector.
    Fig 69: Connecting Engine Coolant Temperature (ECT) Sensor Electrical Connector
    G01308073Courtesy of FORD MOTOR CO.
  94. Connect the camshaft position (CMP) sensor electrical connectors.
    Fig 70: Connecting Camshaft Position (CMP) Sensor Electrical Connectors
    G01308074Courtesy of FORD MOTOR CO.
  95. Connect the oil pressure sensor electrical connector.
    Fig 71: Connecting Oil Pressure Sensor Electrical Connector
    G01308075Courtesy of FORD MOTOR CO.
  96. Connect the intake manifold runner control (IMRC) electrical connector.
    Fig 72: Connecting Intake Manifold Runner Control (IMRC) Electrical Connector
    G01308076Courtesy of FORD MOTOR CO.
  97. Install the upper intake manifold spacer. Tighten the bolts in the sequence shown.
    Fig 73: Upper Intake Manifold Spacer Bolt Tightening Sequence
    G01308077Courtesy of FORD MOTOR CO.
  98. Connect the vacuum hose.
    Fig 74: Connecting Vacuum Hose
    G01308078Courtesy of FORD MOTOR CO.
  99. Connect the EGR vacuum regulator solenoid electrical and vacuum connections.
    Fig 75: Connecting EGR Vacuum Regulator Solenoid Electrical & Vacuum Connections
    G01308079Courtesy of FORD MOTOR CO.
  100. Connect the vacuum tube.
    Fig 76: Connecting Vacuum Tube
    G01308080Courtesy of FORD MOTOR CO.
  101. Install the upper intake manifold. Tighten the bolts in the sequence shown.
    Fig 77: Upper Intake Manifold Bolt Tightening Sequence
    G01308081Courtesy of FORD MOTOR CO.
  102. Position the wiring harness.
    Fig 78: Positioning Wiring Harness
    G01308082Courtesy of FORD MOTOR CO.
  103. Position the spark plug wires.
    Fig 79: Positioning Spark Plug Wires
    G01308083Courtesy of FORD MOTOR CO.
  104. Connect the idle air control valve (IAC) and the throttle position (TP) sensor electrical connectors.
    Fig 80: Connecting Idle Air Control Valve (IAC) & Throttle Position (TP) Sensor Electrical Connectors
    G01308084Courtesy of FORD MOTOR CO.
  105. Connect the differential pressure feedback EGR system electrical and vacuum connections.
    Fig 81: Connecting Differential Pressure Feedback EGR System Electrical & Vacuum Connections
    G01308085Courtesy of FORD MOTOR CO.
  106. Install the power steering pump bracket and mounting bolts.
    Fig 82: Power Steering Pump Bracket Mounting Bolt Tightening Torque
    G01308086Courtesy of FORD MOTOR CO.
  107. Install the bolt.
    Fig 83: Installing Bolt
    G01308087Courtesy of FORD MOTOR CO.
  108. Install the belt tensioner and bolts.
    Fig 84: Installing Belt Tensioner Bracket Bolts
    G01308088Courtesy of FORD MOTOR CO.
  109. Install the A/C compressor and bracket. For additional information, refer to AIR CONDITIONING .
  110. Install the water pump extension tube and bracket.
    Fig 85: Water Pump Extension Tube Bracket Bolt Tightening Torque
    G01308089Courtesy of FORD MOTOR CO.
  111. Install the generator. For additional information, refer to GENERATOR .
  112. Install the water pump pulley. For additional information, refer to ENGINE COOLING .
  113. Install the power steering pump. For additional information, refer to POWER STEERING .
  114. Install the special tool.
    Fig 86: Identifying Special Tool (303-D095)
    G01308090Courtesy of FORD MOTOR CO.
  115. Install the engine lifting equipment.
    Fig 87: Lifting Engine
    G01308091Courtesy of FORD MOTOR CO.
  116. Remove the engine from the stand.
    NOTE: Lubricate the crankshaft rear seal lips with clean engine oil prior to installation.
  117. Assemble the special tools and the crankshaft rear seal.
    Fig 88: Identifying Special Tool (303-516, 303-561)
    G01308092Courtesy of FORD MOTOR CO.
  118. Install the special tools on the rear of the crankshaft.
    Fig 89: Identifying Special Tools (303-518, 303-S560) On Rear Of Crankshaft
    G01308093Courtesy of FORD MOTOR CO.
  119. Install the crankshaft rear seal. Tighten the center jack screw (303-S560) until the spacer (303-561) contacts the engine block.
    Fig 90: Installing Crankshaft Rear Seal
    G01308094Courtesy of FORD MOTOR CO.