lemon-mirror:
Home >> Ford >> 2003 >> ZX2 Automatic >> Repair and Diagnosis >> Accessories & Equipment >> Accessories Control Systems >> Component Testing >> Component Testing >> Ignition Switch

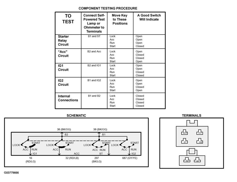
Ignition Switch

Fig 1: Ignition Switch - Component Testing
G03779666Courtesy of FORD MOTOR CO.