lemon-mirror:
Home >> Ford >> 2003 >> ZX2 Automatic >> Repair and Diagnosis >> Accessories & Equipment >> Communication Devices >> Module Communications Network >> General Procedures >> Communication Circuit Wiring Repair

Communication Circuit Wiring Repair

Special Tool(s) 

Fig 1: Identifying Special Tool(s)
G01373678Courtesy of FORD MOTOR CO.
  1. Disconnect the battery ground cable. For additional information, refer to BATTERY .
  2. Strip the wires.
    Fig 2: Identifying Wires
    G01373679Courtesy of FORD MOTOR CO.
  3. NOTE: Use rosin core mildly activated (RMA) solder, not acid core solder.
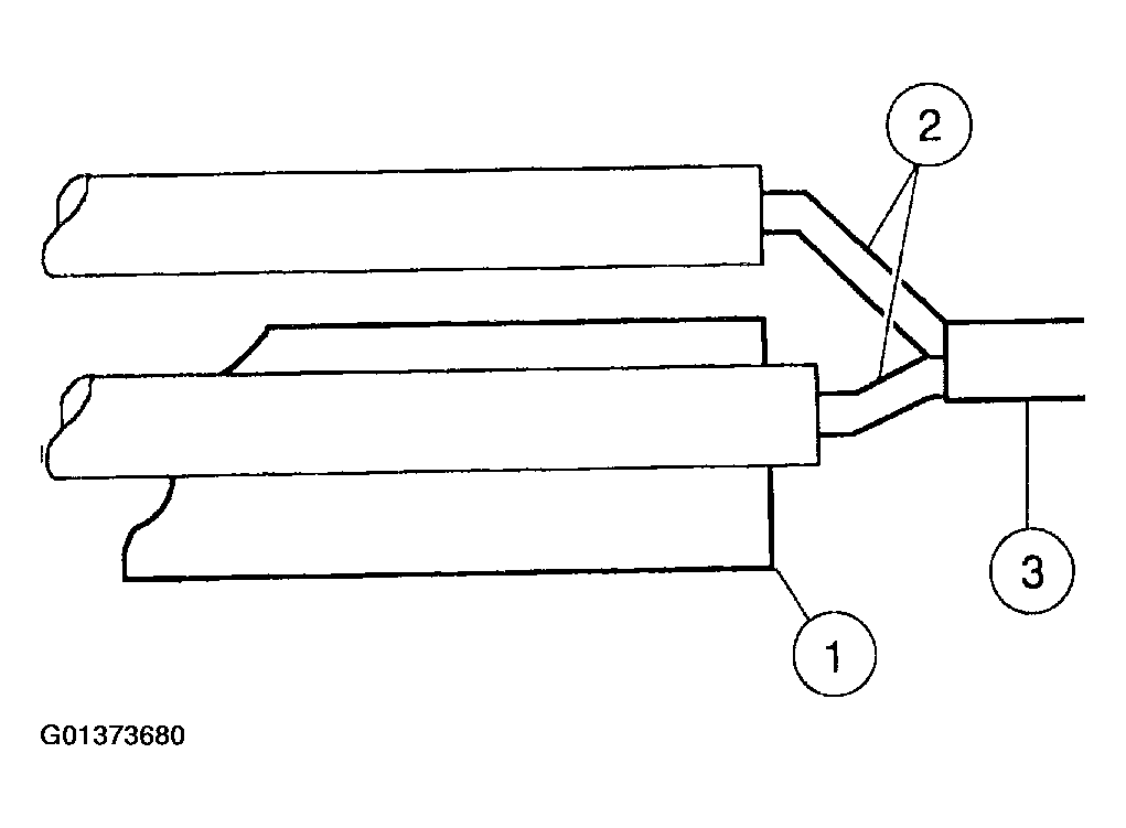
    Fig 3: Soldering Wires Together
    G01373680Courtesy of FORD MOTOR CO.
  4. Solder the wires.
    1. Install the heat shrink tube.
    2. Twist the wires together.
    3. Solder the wires together.
  5. NOTE: Wait for the solder to cool before moving the wires.
    Fig 4: Bending Wires Back In Straight Line
    G01373681Courtesy of FORD MOTOR CO.
  6. Bend the wires back in a straight line.
  7. Position the (A) heat shrink tube over the (B) wire repair.
    • Overlap the heat shrink tube on both wires.
    Fig 5: Positioning Heat Shrink Tube Over Wire Repair
    G01373682Courtesy of FORD MOTOR CO.
  8. Use the heat gun to heat the repaired area until adhesive flows out both ends of the heat shrink tube.
    Fig 6: Locating Heating Area
    G01373683Courtesy of FORD MOTOR CO.
  9. Reconnect the battery ground cable.