lemon-mirror:
Home >> Ford >> 2003 >> ZX2 Automatic >> Repair and Diagnosis >> External Pages >> Different car >> Section 340 (Engine-3.9L) >> In-Vehicle Repair >> Timing Drive Components >> Items 7-20: Timing Drive Components Installation Note

Items 7-20: Timing Drive Components Installation Note

WARNING: This page is about a different car, the 2003 Lincoln LS. However, it is still accessible from the selected car via links, so may be relevant.
  1. Reset the timing chain tensioners.
    1. Hold the lever toward the tensioner piston.
    2. Using finger pressure, compress the tensioner until it is completely collapsed.
    3. Push the lever down and install a drill rod to lock the piston.
    Fig 1: Installing Drill Rod To Lock Piston
    G01286146Courtesy of FORD MOTOR CO.
  2. CAUTION: The camshaft holding tool should still be installed on the LH cylinder head.
    CAUTION: The flats on the camshaft must completely contact the special service tool or damage to the camshafts can occur. Slowly draw the special tool down evenly until it is fully seated on the camshaft flats.
    Fig 2: Positioning Crankshaft Gear In Timing Chain
    G01286147Courtesy of FORD MOTOR CO.
  3. Position the LH timing chain and crankshaft gear.
    • Position the timing chain over the LH intake camshaft sprocket.
    • Position the crankshaft gear in the timing chain.
  4. Install the LH timing chain guide.
    Fig 3: Installing LH timing chain guide
    G01286148Courtesy of FORD MOTOR CO.
  5. Install the LH timing chain tensioner arm.
    Fig 4: Installing LH Timing Chain Tensioner Arm
    G01286149Courtesy of FORD MOTOR CO.
  6. Install the LH timing chain tensioner.
    1. Install the timing chain tensioner and bolts.
    2. Remove the drill rod.
    Fig 5: Installing LH Timing Chain Tensioner Bolts
    G01286150Courtesy of FORD MOTOR CO.
  7. CAUTION: The exhaust camshaft sprocket bolt must be fully tightened before tightening the intake camshaft sprocket bolt.
    CAUTION: Using the special tool, apply 10Nm(89 lb-in) counterclockwise to the LH exhaust camshaft sprocket.
    Fig 6: Tightening LH Exhaust Camshaft Sprocket And VCT Unit Bolts
    G01286151Courtesy of FORD MOTOR CO.
  8. Tighten the LH exhaust camshaft sprocket and VCT unit bolts in two stages:
    • Stage 1: Tighten to 20 Nm (15 lb-ft).
    • Stage 2: Tighten an additional 90 degrees.
  9. Remove the special tool.
    Fig 7: Removing Special Tool
    G01286152Courtesy of FORD MOTOR CO.
  10. CAUTION: The flats on the camshaft must completely contact the special service tool or damage to the camshafts can occur. Slowly draw the special tool down evenly until it is fully seated on the camshaft flats.
    Fig 8: Installing Special Tool On RH Cylinder Head
    G01286153Courtesy of FORD MOTOR CO.
  11. Install the special tool on the RH cylinder head.
  12. Position the RH timing chain over the RH intake camshaft sprocket and over the crankshaft gear.
    Fig 9: Positioning RH Timing Chain Over RH Intake Camshaft Sprocket And Over Crankshaft Gear
    G01286154Courtesy of FORD MOTOR CO.
  13. Install the RH timing chain guide.
    Fig 10: Installing RH Timing Chain Guide
    G01286155Courtesy of FORD MOTOR CO.
  14. Install the RH timing chain tensioner arm.
    Fig 11: Installing RH Timing Chain Tensioner Arm
    G01286156Courtesy of FORD MOTOR CO.
  15. Install the RH timing chain tensioner.
    1. Install the timing chain tensioner and bolts.
    2. Remove the drill rod.
    Fig 12: Installing RH Timing Chain Tensioner
    G01286157Courtesy of FORD MOTOR CO.
  16. CAUTION: The exhaust camshaft sprocket bolt must be fully tightened before tightening the intake camshaft sprocket bolt.
    CAUTION: Using the special tool, apply 10 Nm (89 lb-in) counterclockwise to the RH exhaust camshaft sprocket.
    Fig 13: Tightening RH Exhaust Camshaft Sprocket And VCT Unit Bolts
    G01286158Courtesy of FORD MOTOR CO.
  17. Tighten the RH exhaust camshaft sprocket and VCT unit bolts in two stages:
    • Stage 1: Tighten to 20 Nm (15 lb-ft).
    • Stage 2: Tighten an additional 90 degrees.
  18. Remove the special tool.
    Fig 14: Removing Special Tool
    G01286159Courtesy of FORD MOTOR CO.
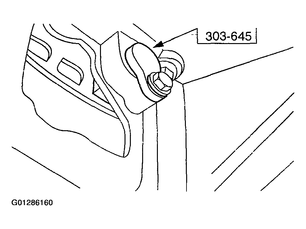
  19. Remove the special tool.
    Fig 15: Removing Special Tool
    G01286160Courtesy of FORD MOTOR CO.
  20. Install the CKP sensor and the torque converter cover.
    Fig 16: Installing CKP Sensor And Torque Converter Cover
    G01286161Courtesy of FORD MOTOR CO.