lemon-mirror:
Home >> Ford >> 2003 >> ZX2 Automatic >> Repair and Diagnosis >> Transmission >> Automatic Trans >> Automatic Transaxle/Transmission >> Disassembly And Assembly Of Subassemblies >> 3-4 Clutch >> Assembly

3-4 Clutch: Assembly

CAUTION: Composition clutch plates and synthetic seals should not be cleaned in a vapor degreaser or with any type of detergent cleaner. To clean these parts, wipe them off with a lint free cloth. New clutch plates or bands should be soaked in Motorcraft MERCON® Multi-Purpose Automatic Transmission Fluid XT-2-QDX or equivalent meeting Ford specification MERCON for two hours before being assembled.
NOTE: Clutch clearances are adjusted by the selection of snap ring thickness. If the clearance is not within specification, adjust as necessary.
  1. Clean the components with a suitable solvent and use compressed air to dry all parts and clean the fluid passages. Perform the following before assembly:
    • Inspect the clutch cylinder damage or wear.
    • Inspect all clutches for damage or wear.
    • Check the clutch piston and drum seal area for burrs or damage.
  2. NOTE: Measure the facing thickness in three places and calculate the average value.
    Fig 1: Measuring Direct Drive Plate Facing Thickness
    G01372000Courtesy of FORD MOTOR CO.
  3. Measure the direct drive plate facing thickness.
    • If not within the specification, replace the drive plates.
  4. NOTE: Do not compress the 3-4 clutch piston spring when measuring it with vernier calipers.
    Fig 2: Measuring 3-4 Clutch Piston Spring Free Length
    G01372001Courtesy of FORD MOTOR CO.
  5. Measure the 3-4 clutch piston spring free length.
    • If not within the specification, replace the 3-4 clutch piston spring.
  6. Inspect the 3-4 clutch piston.
    • Verify that there is air flow when applying compressed air through the fluid hole on the return spring side. Apply a maximum air pressure of 390 kPa (57 psi).
    • Verify that there is no air leakage when applying compressed air through the fluid hole opposite the return spring side. Apply a maximum air pressure of 390 kPa (57 psi).
    Fig 3: Inspecting 3-4 Clutch Piston
    G01372002Courtesy of FORD MOTOR CO.
  7. Apply Motorcraft MERCON® Multi-Purpose Automatic Transmission Fluid XT-2-QDX or equivalent meeting Ford specification MERCON to the 3-4 clutch piston large seal and the 3-4 clutch piston inner seal and install the (A) 3-4 clutch piston large seal and the (B) 3-4 clutch piston inner seal.
    Fig 4: Installing 3-4 Clutch Piston Large Seal And 3-4 Clutch Piston Inner Seal
    G01372003Courtesy of FORD MOTOR CO.
  8. Measure the inner diameters of the 3-4 clutch piston large seal and the 3-4 clutch piston inner seal.
    • Replace if not within specification.
    Fig 5: Measuring Inner Diameters Of 3-4 Clutch Piston Large Seal And 3-4 Clutch Piston Inner Seal
    G01372004Courtesy of FORD MOTOR CO.
  9. Install the 3-4 clutch piston into the 3-4 clutch cylinder. Seat the 3-4 clutch piston by pushing evenly around the circumference of the piston, being careful not to damage the outer seal.
    Fig 6: Installing 3-4 Clutch Piston Into 3-4 Clutch Cylinder
    G01372005Courtesy of FORD MOTOR CO.
  10. Install the (A) 3-4 clutch piston spring retainer and the (B) 3-4 clutch piston spring.
    Fig 7: Installing 3-4 Clutch Piston Spring Retainer And 3-4 Clutch Piston Spring
    G01372006Courtesy of FORD MOTOR CO.
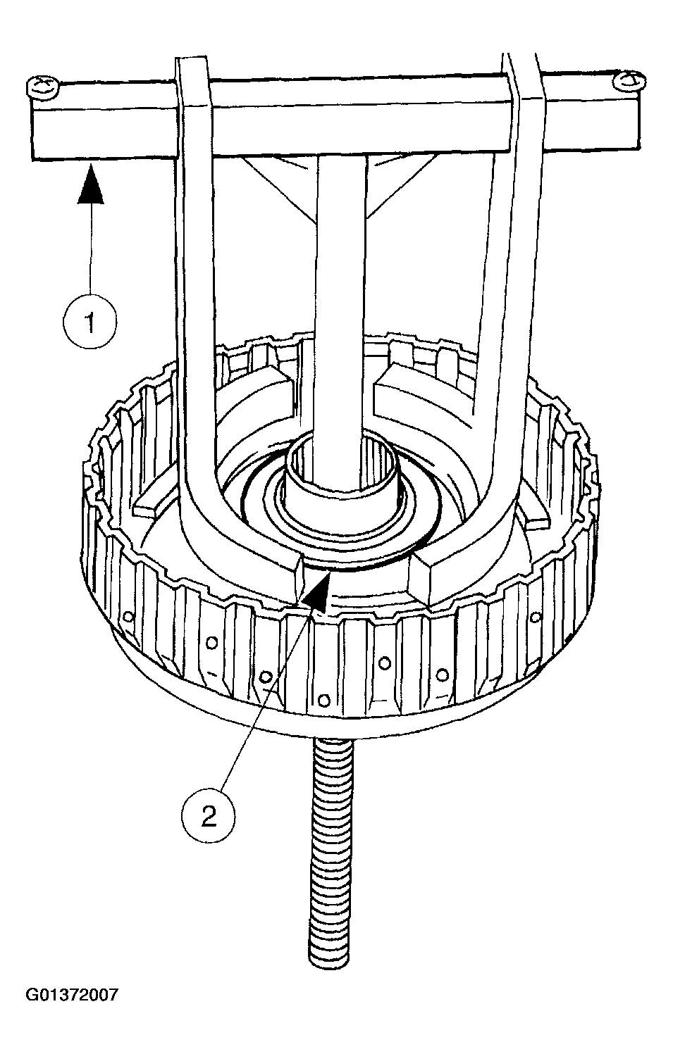
  11. Use Clutch Spring Compressor to install the 3-4 clutch return spring snap ring.
    1. Install Clutch Spring Compressor and compress the 3-4 clutch piston spring. Compress the 3-4 clutch piston spring only enough to install the 3-4 clutch return spring snap ring.
    2. Install the 3-4 clutch return spring snap ring.
    Fig 8: Installing 3-4 Clutch Return Spring Snap Ring
    G01372007Courtesy of FORD MOTOR CO.
  12. Install the 3-4 clutch disc pack.
    • The installation order is alternating steel-friction-steel-friction, etc.
    Fig 9: Installing 3-4 Clutch Disc Pack
    G01372008Courtesy of FORD MOTOR CO.
  13. Install the 3-4 clutch pressure plate.
    Fig 10: Installing 3-4 Clutch Pressure Plate
    G01372009Courtesy of FORD MOTOR CO.
  14. Install the 3-4 clutch pressure plate snap ring.
    Fig 11: Installing 3-4 Clutch Pressure Plate Snap Ring
    G01372010Courtesy of FORD MOTOR CO.
  15. With the 3-4 clutch assembled, check the 3-4 clutch disc pack clearance.
    1. Use a feeler gauge to measure between the 3-4 clutch pressure plate and the 3-4 clutch pressure plate snap ring. The clearance should be 1.3-1.6 mm (0.051-0.063 in). If the clearance is not within the specification, adjust it by selecting the proper snap ring.

    Snap Ring Sizes 

    Fig 12: Snap Ring Sizes Table
    G01372011Courtesy of FORD MOTOR CO.
    Fig 13: Checking 3-4 Clutch Disc Pack Clearance
    G01372012Courtesy of FORD MOTOR CO.
  16. Use Leak Check Adapter to check the 3-4 clutch piston operation.
    1. Install Leak Check Adapter to the 3-4 clutch cylinder.
    2. Apply compressed air through Leak Check Adapter. Apply a maximum air pressure of 390 kPa (57 psi). The 3-4 clutch should make a solid apply sound.
    Fig 14: Checking 3-4 Clutch Piston Operation
    G01372013Courtesy of FORD MOTOR CO.
  17. Pour Motorcraft MERCON® Multi-Purpose Automatic Transmission Fluid XT-2-QDX or equivalent meeting Ford specification MERCON into the 3-4 clutch cylinder until the 3-4 clutch piston is submerged. Apply compressed air through Leak Check Adapter. Apply a maximum air pressure of 390 kPa (57 psi). Verify that no bubbles come from the 3-4 clutch piston seals.
    Fig 15: Locating Area For Pouring Oil Into 3-4 Clutch Cylinder
    G01372014Courtesy of FORD MOTOR CO.
  18. Apply petroleum jelly to the thrust bearings and install them on the 3-4 clutch cylinder.
    • The thrust bearing outer diameter for the carrier hub side should be 56.1 mm (2.21 in). The thrust bearing outer diameter for the output shell side should be 72.1 mm (2.84 in).
    Fig 16: Installing Thrust Bearings On 3-4 Clutch Cylinder
    G01372015Courtesy of FORD MOTOR CO.