lemon-mirror:
Home >> Ford >> 2003 >> ZX2 Automatic >> Repair and Diagnosis >> Transmission >> Automatic Trans >> Automatic Transaxle/Transmission >> Disassembly And Assembly Of Subassemblies >> Output Gear >> Assembly

Output Gear: Assembly

  1. Clean the components with a suitable solvent and use compressed air to dry all parts. Perform the following before assembly:
    • Inspect the output gear for damaged or excessively worn teeth.
    • Inspect the output gear splines for damage or wear.
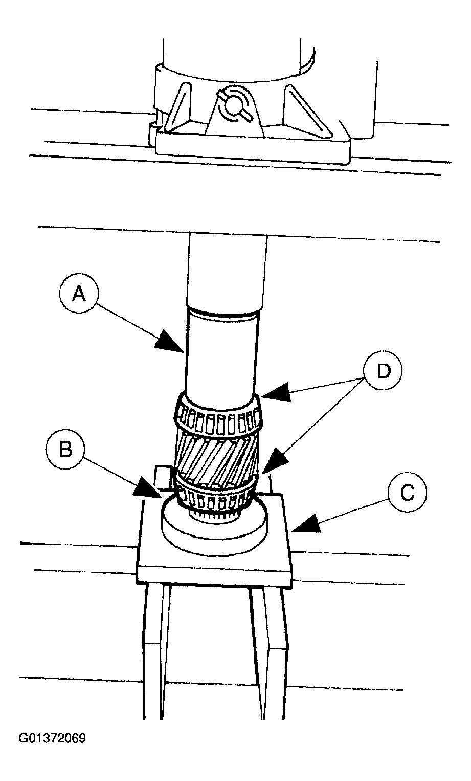
  2. Use (A) Dust Boot Replacer, (B) Bearing Cone Replacer, and (C) Axle Bearing/Seal Plate to press the (D) output gear bearings onto the output gear.
    Fig 1: Installing Output Gear Bearings
    G01372069Courtesy of FORD MOTOR CO.
  3. Apply Motorcraft MERCON® Multi-Purpose Automatic Transmission Fluid XT-2-QDX or equivalent meeting Ford specification MERCON to the new seal rings and install them on the output gear.
    • Seal ring inner diameter: 27.6 mm (1.087 in).
    Fig 2: Applying Multi-Purpose Automatic Transmission Fluid
    G01372070Courtesy of FORD MOTOR CO.