lemon-mirror:
Home >> Ford >> 2003 >> ZX2 Automatic >> Repair and Diagnosis >> Transmission >> Automatic Trans >> Automatic Transaxle/Transmission >> In-Vehicle Repair >> Transmission Range (Tr) Sensor >> Installation

Transmission Range (Tr) Sensor: Installation

  1. Shift the transmission into neutral, then align the marks on the TR sensor and the manual control lever (7A256) while installing and hand-tightening the two bolts.
    Fig 1: Aligning Marks On TR Sensor And Manual Control Lever
    G01371690Courtesy of FORD MOTOR CO.
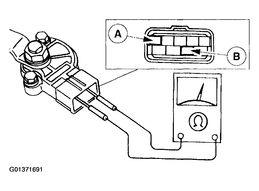
  2. Connect an ohmmeter between (A) terminal F and (B) terminal I.
    Fig 2: Connecting An Ohmmeter Between Terminal F And I
    G01371691Courtesy of FORD MOTOR CO.
  3. Adjust the TR sensor to the point where there is continuity between the terminals by rotating the TR sensor housing on the manual control lever.
    Fig 3: Adjusting TR Sensor
    G01371692Courtesy of FORD MOTOR CO.
  4. Tighten the TR sensor bolts while holding the switch in place.
    Fig 4: Tightening TR Sensor Bolts
    G01371693Courtesy of FORD MOTOR CO.
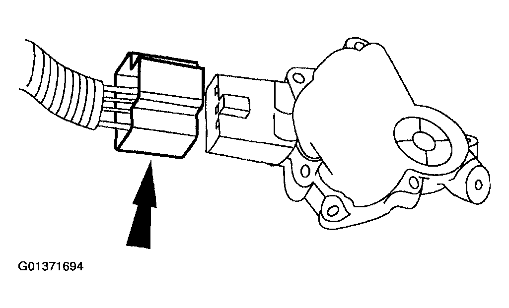
  5. Connect the TR sensor electrical connector.
    Fig 5: Connecting TR Sensor Electrical Connector
    G01371694Courtesy of FORD MOTOR CO.
  6. Position the manual control lever into place and tighten the manual control lever nut to specification.
    Fig 6: Tightening Manual Control Lever Nut To Specification
    G01371695Courtesy of FORD MOTOR CO.
  7. Install the shift cable and bracket (7E395) and nut to specification. Refer to TRANSAXLE/TRANSMISSION COOLING EXTERNAL CONTROLS for the shift cable adjustment procedure.
    Fig 7: Installing Shift Cable And Bracket And Nut To Specification
    G01371696Courtesy of FORD MOTOR CO.
  8. Install the air cleaner outlet tube; refer to AIR INDUCTION SYSTEMS .
  9. NOTE: When the battery (10653) is disconnected and reconnected, some abnormal drive symptoms may occur while the vehicle relearns its adaptive strategy. The vehicle may need to be driven 16 km (10 mi) or more to relearn the strategy.
    Fig 8: Connecting Battery Ground Cable
    G01371697Courtesy of FORD MOTOR CO.
  10. Connect the battery ground cable.