lemon-mirror:
Home >> Ford >> 2004 >> Focus SVT, 2D Hatchback >> Repair and Diagnosis >> External Pages >> Different car >> Section 249 (Steering Column) >> Disassembly And Assembly >> Steering Column >> Assembly

Steering Column: Assembly

WARNING: This page is about a different car, the 2003 Ford Windstar. However, it is still accessible from the selected car via links, so may be relevant.
  1. Install the steering column upper and lower lock actuators.
    1. Use ignition lock grease to lubricate the steering column lock actuators.
    2. Install the steering column upper and lower lock actuators.
      Fig 1: Installing Steering Column Upper And Lower Lock Actuators
      G01306572Courtesy of FORD MOTOR CO.
  2. NOTE: Coat all surfaces with ignition lock grease.
  3. Install the steering column lock pawl.
    1. Position the steering column lock pawl.
    2. Drive in the steering column lock lever pin (3B663).
      Fig 2: Installing Steering Column Lock Pawl
      G01306573Courtesy of FORD MOTOR CO.
  4. Install the steering column lower bearing retainer (3D681).
    1. Position the steering column lower bearing retainer.
    2. Install the bolts.
      Fig 3: Installing Steering Column Lower Bearing Retainer
      G01306574Courtesy of FORD MOTOR CO.
  5. NOTE: The "UP" position of the bearing must be facing forward, toward the engine.
    NOTE: Install the steering column lower bearing and sleeve so that the inner race is visible when installed.
    Fig 4: Installing Steering Column Lower Bearing And Sleeve
    G01306575Courtesy of FORD MOTOR CO.
  6. Install the steering column lower bearing and sleeve.
  7. Install the ignition switch. Align the ignition switch with the slot and index mark on the steering column.
    • Install the screws.
      Fig 5: Installing Ignition Switch
      G01306576Courtesy of FORD MOTOR CO.
  8. Install the transmission control selector lever spring clip and the gearshift lever socket bushings (7335) on the shift tube.
    • Coat the gearshift lever socket bushings with steering gear grease.
      Fig 6: Installing Gearshift Lever Socket Bushings
      G01306577Courtesy of FORD MOTOR CO.
  9. Install the column shift selector lever plunger.
    • Coat the column shift selector plunger with steering gear grease.
      Fig 7: Installing Column Shift Selector Lever Plunger
      G01306578Courtesy of FORD MOTOR CO.
  10. Position the gearshift lever in the shift tube.
    Fig 8: Installing Gearshift Lever In Shift Tube
    G01306579Courtesy of FORD MOTOR CO.
  11. CAUTION: Gearshift lever pin must be installed correctly or 1st gear position may be blocked.
    Fig 9: Installing Gearshift Lever Pin
    G01306580Courtesy of FORD MOTOR CO.
  12. Install the gearshift lever pin in the shift tube.
  13. Install the gearshift selector tube spring in the shift tube.
    • Coat the end of the spring with steering gear grease.
      Fig 10: Installing Spring
      G01306581Courtesy of FORD MOTOR CO.
  14. Install the transmission selector lever arm and support on the shift tube.
    1. Position the transmission selector lever arm and support.
    2. Install the bolts.
      Fig 11: Installing Bolts
      G01306582Courtesy of FORD MOTOR CO.
  15. Install the shift tube.
    1. Position the shift tube.
    2. Position the shift tube clamps.
    3. Install the bolts.
      Fig 12: Installing Shift Tube
      G01306583Courtesy of FORD MOTOR CO.
  16. Position the brake shift interlock solenoid and install the bolts.
    Fig 13: Installing Brake Shift Interlock Solenoid
    G01306584Courtesy of FORD MOTOR CO.
  17. CAUTION: Install the upper steering column bearing so that the inner race is visible when installed.
    Fig 14: Installing Steering Column Upper Bearing
    G01306585Courtesy of FORD MOTOR CO.
    Fig 15: Locating Bearing Installer
    G01306586Courtesy of FORD MOTOR CO.
  18. Using an appropriate bearing installer or socket, install the steering column upper bearing on the steering column lock cylinder housing.
  19. CAUTION: Install the large steering column bearing so that the inner race is visible when installed.
    NOTE: Use an appropriate bearing installer or socket.
    Fig 16: Installing Steering Column Lower Bearing
    G01306587Courtesy of FORD MOTOR CO.
    Fig 17: Locating Bearing Installer
    G01306588Courtesy of FORD MOTOR CO.
  20. Install the steering column lower bearing into the steering column lock cylinder housing.
  21. Position the steering column shaft in the steering column lock cylinder housing.
    • Install the steering column bearing tolerance ring on the steering column shaft.
      Fig 18: Installing Steering Column Bearing Tolerance Ring
      G01306589Courtesy of FORD MOTOR CO.
  22. Install the steering column bearing sleeve.
    Fig 19: Installing Steering Column Bearing Sleeve
    G01306590Courtesy of FORD MOTOR CO.
  23. Install the steering column upper bearing spring.
    Fig 20: Installing Steering Column Upper Bearing Spring
    G01306591Courtesy of FORD MOTOR CO.
  24. Install the snap ring.
    Fig 21: Installing Snap Ring
    G01306592Courtesy of FORD MOTOR CO.
  25. Install the turn indicator cancel cam.
    Fig 22: Installing Turn Indicator Cancel Cam
    G01306593Courtesy of FORD MOTOR CO.
  26. Install the lock cylinder housing screws loosely and position the steering actuator housing in a vise.
    • Lubricate the lock cylinder housing screws with rust penetrant.
      Fig 23: Installing Lock Cylinder Housing Screws
      G01306594Courtesy of FORD MOTOR CO.
  27. NOTE: Lubricate the lock cylinder housing bushings with rust penetrant.
  28. Position the steering column lock cylinder housing and the steering column shaft in the steering actuator housing.
    • Make sure the upper and lower steering column lock actuators are aligned.
      Fig 24: Installing Steering Column Lock Cylinder Housing
      G01306595Courtesy of FORD MOTOR CO.
  29. On tilt steering columns, position the steering column locking levers on the steering actuator housing.
    1. Use a shop fabricated tool.
    2. Install and compress the steering column position spring.
      Fig 25: Installing Steering Column Position Spring
      G01306596Courtesy of FORD MOTOR CO.
  30. Position the lock cylinder housing and steering actuator housing, and install screws.
    Fig 26: Installing Lock Cylinder Housing And Steering Actuator Housing
    G01306597Courtesy of FORD MOTOR CO.
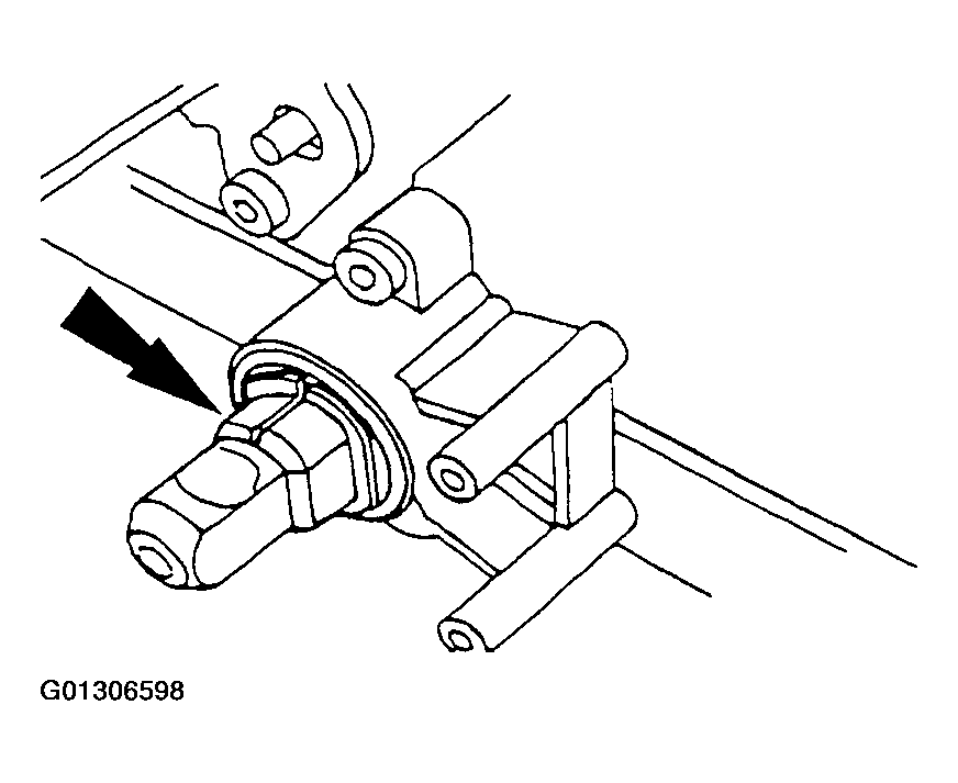
  31. Install the steering column bearing tolerance ring.
    Fig 27: Installing Steering Column Bearing Tolerance Ring
    G01306598Courtesy of FORD MOTOR CO.
  32. Install the sensor ring.
    1. Install the sensor ring.
    2. Install the steering column lower bearing spring.
      Fig 28: Installing Steering Column Lower Bearing Spring
      G01306599Courtesy of FORD MOTOR CO.
  33. NOTE: The narrow section of the keyhole in the lock gear must be in the 1 o'clock position.
  34. Install the steering column lock gear.
    • Use ignition lock grease to coat the steering column lock gear.
      Fig 29: Installing Steering Column Lock Gear
      G01306600Courtesy of FORD MOTOR CO.
  35. Install the steering column lock housing bearing.
    • The narrow section of the keyhole should be in the 1 o'clock position, with the tab inboard at the 3 o'clock position and rotate it counterclockwise.
    • Lubricate the steering column lock housing bearing with ignition lock grease.
      Fig 30: Installing Steering Column Lock Housing Bearing
      G01306601Courtesy of FORD MOTOR CO.
  36. Install the bearing retainer firmly to engage the four retention tabs into the lock housing.
    Fig 31: Installing Bearing Retainer
    G01306602Courtesy of FORD MOTOR CO.
  37. Install the gearshift lever assembly and install the retaining pin.
    Fig 32: Installing Gearshift Lever Assembly And Retaining Pin
    G01306603Courtesy of FORD MOTOR CO.
  38. Attach the steering column gearshift lever seal onto the steering column.
    Fig 33: Installing Steering Column Gearshift Lever Seal
    G01306604Courtesy of FORD MOTOR CO.
  39. Attach the overdrive on/off wiring harness to the plastic harness retainer.
    Fig 34: Installing Overdrive On/Off Wiring Harness
    G01306605Courtesy of FORD MOTOR CO.
  40. WARNING: To reduce the risk of serious personal injury, read and follow all warnings, notes and instructions in the steering column removal and installation procedure.
  41. Install the steering column. For additional information, refer to COLUMN .