lemon-mirror:
Home >> Ford >> 2004 >> Focus ZTW, Automatic >> Repair and Diagnosis >> Engine Performance >> Fuel Delivery >> Fuel System-General Information >> General Procedures >> Quick Release Coupling >> Disconnection

Quick Release Coupling: Disconnection

WARNING: Do not carry lighted tobacco or open flame of any type when working on or near any fuel related components. Highly flammable vapors are always present and can ignite. Failure to follow these instructions may result in personal injury.
WARNING: This procedure involves fuel handling. Be prepared for fuel spillage at all times and always observe fuel handling precautions. Failure to follow these instructions may result in personal injury.
CAUTION: Fuel injection equipment is manufactured to very precise tolerances and fine clearances. It is therefore essential that absolute cleanliness is observed when working with these components. Always install blanking plugs to any open orifices or tubes.
CAUTION: When reusing liquid or vapor tube connectors, make sure to use compressed air to remove any foreign material from the connector retaining clip area before separating from the tube.
NOTE: Fuel supply tube connectors are white or are identified by a white band. Fuel return tube connectors are red or are identified by a red band.
  1. Release the fuel system pressure. For additional information, refer to FUEL SYSTEM PRESSURE RELEASE .
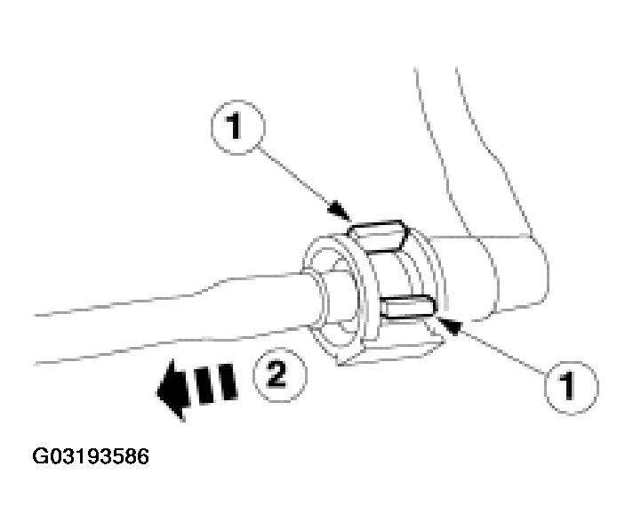
  2. Disconnect the fuel tube quick release coupling.
    1. Press the fuel tube quick release coupling locking tangs.
    2. Disconnect the fuel tube quick release coupling.
    Fig 1: Disconnecting Fuel Tube Quick Release Coupling
    G03193586Courtesy of FORD MOTOR CO.
  3. Disconnect the fuel tube quick release coupling.
    1. Pull the fuel tube quick release coupling locking tang.
    2. Push the clip through the fuel tube quick release coupling to release the fuel tube.
    Fig 2: Disconnecting Fuel Tube Quick Release Coupling
    G03193587Courtesy of FORD MOTOR CO.
  4. Disconnect the fuel tube quick release coupling.
    1. Press the fuel tube quick release coupling locking tangs.
    2. Disconnect the fuel tube quick release coupling.
    Fig 3: Disconnecting Fuel Tube Quick Release Coupling
    G03193588Courtesy of FORD MOTOR CO.
  5. Disconnect the fuel tube quick release coupling.
    • Press the fuel tube quick release coupling buttons and pull the fuel tube to disconnect.
    Fig 4: Disconnecting Fuel Tube Quick Release Coupling
    G03193589Courtesy of FORD MOTOR CO.
  6. NOTE: If the fuel tube retainer clip is broken or damaged, install a new clip using a suitable fuel line disconnect tool to separate the retainer clip legs. Once the retainer legs have been separated, lift the clip out of the connector housing, lifting from the stamped side of the connector body.
    Fig 5: Disconnecting Fuel Tube Quick Release Coupling
    G03193590Courtesy of FORD MOTOR CO.
  7. Disconnect the fuel tube quick release coupling.
    • Push the connector towards the tube to release pressure.
    • Press the fuel tube quick release coupling button and pull the fuel tube to disconnect.
WARNING: Do not carry lighted tobacco or open flame of any type when working on or near a fuel related components. Highly flammable vapors are always present and can ignite. Failure to follow these instructions may result in personal injury.
WARNING: This procedure involves fuel handling. Be prepared for fuel spillage at all times an always observe fuel handling precautions. Failure to follow these instructions may result in personal injury.
CAUTION: Fuel injection equipment is manufactured to very precise tolerances and fine clearances. It is therefore essential that absolute cleanliness is observed when working with these components. Always install blanking plugs to any open orifices or tubes.
CAUTION: When reusing liquid or vapor tube connectors, make sure to use compressed air to remove any foreign material from the connector retaining clip area before separating from the tube.
NOTE: Fuel supply tube connectors are white or are identified by a white band. Fuel return tube connectors are red or are identified by a red band.
NOTE: Apply clean engine oil to the end of the tube before inserting the tube into the connector.
    CAUTION: Make sure the fuel tube clicks into place when installing the tube. To make sure that the fuel tube is fully seated, pull on the tube.
    Fig 6: Installing Fuel Tube Quick Release Coupling
    G03193591Courtesy of FORD MOTOR CO.
  1. Install the fuel tube quick release coupling.
  2. CAUTION: Make sure the fuel tube clicks into place when installing the tube. To make sure that the fuel tube is fully seated, pull on the tube.
    Fig 7: Installing Fuel Tube Quick Release Coupling
    G03193592Courtesy of FORD MOTOR CO.
  3. Install the fuel tube quick release coupling.
  4. NOTE: Make sure the collar on the fuel tube is inserted fully into the fuel tube quick release coupling.
    Fig 8: Installing Fuel Tube Quick Release Coupling
    G03193593Courtesy of FORD MOTOR CO.
  5. Install the fuel tube quick release coupling.
  6. NOTE: Make sure the collar on the fuel tube is inserted fully into the fuel tube quick release coupling before the locking tang is locked.
    Fig 9: Installing Fuel Tube Quick Release Coupling
    G03193594Courtesy of FORD MOTOR CO.
  7. Install the fuel tube quick release coupling.
    1. Install the fuel tube quick release coupling locking tang.
    2. Rotate the fuel tube quick release coupling locking tang into position.
  8. NOTE: Make sure the collar on the fuel tube is inserted fully into the fuel tube quick release coupling before the locking tang is locked.
    Fig 10: Installing Fuel Tube Quick Release Coupling
    G03193595Courtesy of FORD MOTOR CO.
  9. Install the fuel tube quick release coupling.
    1. Install the fuel tube quick release coupling.
    2. Press the fuel tube quick release coupling locking tang into position.