lemon-mirror:
Home >> Ford >> 2004 >> Freestar Base >> Repair and Diagnosis >> Transmission >> Automatic Transmission >> General Procedures >> Main Control - Pump >> Installation

Main Control - Pump: Installation

  1. Install the pump assembly and main control valve body onto the pump shaft.
    Fig 1: Installing Pump Assembly And Main Control Valve Body
    G03244545Courtesy of FORD MOTOR CO.
  2. Rotate the pump assembly and main control valve body to connect the manual valve link with the manual valve.
  3. CAUTION: Do not use the bolts to draw pump assembly and main control valve body onto the chain cover case. Component damage may occur.
    Fig 2: Installing Pump Assembly And Main Control Valve Body Bolts
    G03244546Courtesy of FORD MOTOR CO.
  4. Install the pump assembly and main control valve body. Using the special tools, loosely install the bolts.
  5. Remove the special tools and install the two bolts in their place. Tighten all the bolts in the sequence shown.
    Fig 3: Pump Assembly And Main Control Valve Body Bolts Tightening Sequence
    G03244547Courtesy of FORD MOTOR CO.
  6. Install the transaxle wire harness and retaining clip into the separator plate.
  7. Connect the electrical connectors.
    Fig 4: Connecting Electrical Connectors
    G03244548Courtesy of FORD MOTOR CO.
  8. NOTE: The transaxle side cover gasket is reusable if not torn or ripped.
    Fig 5: Inspecting Transaxle Side Cover Gasket
    G03244549Courtesy of FORD MOTOR CO.
  9. Remove the gasket. Clean and inspect the gasket, reinstall into the pan.
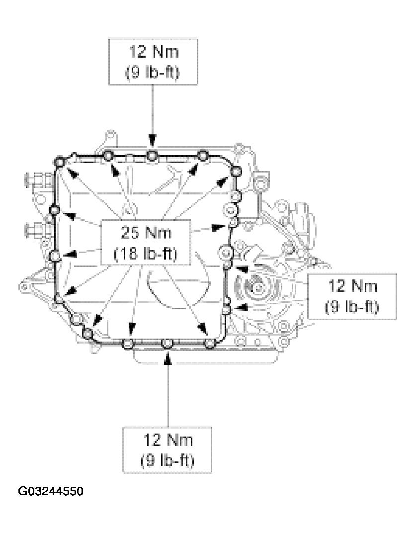
  10. Install the side cover, gasket and bolts.
    Fig 6: Installing Transaxle Side Cover
    G03244550Courtesy of FORD MOTOR CO.
  11. Install the rear transaxle support insulator bracket.
    Fig 7: Installing Rear Transaxle Support Insulator Bracket
    G03244551Courtesy of FORD MOTOR CO.
  12. Position the transaxle support insulator in place and loosely install the bolt and nut.
    Fig 8: Installing Transaxle Support Insulator
    G03244552Courtesy of FORD MOTOR CO.
  13. Tighten the retaining bolt and nut.
    Fig 9: Tightening Transaxle Support Insulator Bolt
    G03244553Courtesy of FORD MOTOR CO.
  14. Install the upper main control cover bolts.
    Fig 10: Installing Upper Main Control Cover
    G03244554Courtesy of FORD MOTOR CO.
  15. Remove the special tools.
    Fig 11: Removing Special Tools
    G03244555Courtesy of FORD MOTOR CO.
  16. Remove the special tool (rear of engine compartment).
    Fig 12: Removing Special Tool From Rear Of Engine Compartment
    G03244556Courtesy of FORD MOTOR CO.
  17. Remove the special tool (front of engine compartment).
    Fig 13: Removing Special Tool Front Of Engine Compartment
    G03244557Courtesy of FORD MOTOR CO.
  18. Install the oil filler cap.
    Fig 14: Installing Oil Filler Cap
    G03244558Courtesy of FORD MOTOR CO.
  19. Install the hood latch.
    Fig 15: Installing Hood Latch
    G03244559Courtesy of FORD MOTOR CO.
  20. Install the passenger compartment air intake box.
    Fig 16: Installing Passenger Compartment Air Intake Box
    G03244560Courtesy of FORD MOTOR CO.
  21. Install the air intake tube.
    Fig 17: Installing Air Intake Tube
    G03244561Courtesy of FORD MOTOR CO.
  22. Install the front upper radiator shield.
    Fig 18: Installing Front Upper Radiator Shield
    G03244562Courtesy of FORD MOTOR CO.
  23. Connect the electrical connectors.
    1. Connect the digital transmission range (TR) sensor electrical connector.
    2. Connect the transaxle electrical connector.
    3. Connect the speed control electrical connector.
    Fig 19: Connecting Electrical Connectors
    G03244563Courtesy of FORD MOTOR CO.
  24. Install the wiper arm and pivot assembly. For additional information, refer to WINDSHIELD WIPER
  25. Install the air cleaner assembly. For additional information, refer to AIR CLEANER ASSEMBLY .
    Fig 20: Installing Air Cleaner Assembly
    G03244564Courtesy of FORD MOTOR CO.
  26. Install the air cleaner tube and tighten the clamps.
    Fig 21: Installing Air Cleaner Tube
    G03244565Courtesy of FORD MOTOR CO.
  27. NOTE: When the battery is disconnected and reconnected, some abnormal drive symptoms may occur while the vehicle relearns its adaptive shift strategy.
  28. Install the battery tray. For additional information, refer to BATTERY & CHARGING SYSTEM .
  29. Fill the transaxle assembly with one quart of clean automatic transmission fluid.
  30. Start the engine. Move the transaxle range selector lever through all positions. Check the fluid level. For additional information, refer to Fluid Level and Condition Check under PRELIMINARY INSPECTION .