lemon-mirror:
Home >> Ford >> 2004 >> Mustang Mach 1, Automatic >> Repair and Diagnosis >> Steering >> Power Steering System >> Disassembly And Assembly >> Gear >> Assembly

Disassembly And Assembly: Gear: Assembly

All Steering Gears 

  1. Install the steering gear in the special tools.

    Steering Gears Equipped With Travel Restrictors 

  2. Install the travel restrictors.
    • Install new travel restrictors as necessary.

    All Steering Gears 

  3. CAUTION: Place the steering gear at the center position. Use a crowfoot on the flat of the rack gear to resist rotation and prevent damage to the steering gear during removal and installation of the front wheel spindle tie-rods.
    Fig 1: Installing Front Wheel Spindle Tie-Rods
    G03238024Courtesy of FORD MOTOR CO.
  4. Place the steering gear at the center position. Install a crowfoot on the flat of the steering gear. Using the special tool install the front wheel spindle tie-rods.
  5. Thoroughly clean the steering gear of any foreign material.
  6. CAUTION: Use care not to damage the front suspension steering ball stud dust seals. If the front suspension steering ball stud dust seals are damaged, this will allow contamination into the steering gear and cause leakage.
  7. Install the front suspension steering ball stud dust seals and clamps.
    • Position the front suspension steering ball stud seals and steering gear rack tubes as shown.
    • Install new front suspension steering ball stud dust seals and clamps as necessary.
    • To prevent the front suspension steering ball stud dust seals from twisting during toe adjustment, apply grease to the groove in the front wheel spindle tie-rods and uniformly to the inner-diameter of the front suspension steering ball stud dust seals.
      Fig 2: Installing Front Suspension Steering Ball Stud Dust Seals And Clamps (1 Of 2)
      G03238025Courtesy of FORD MOTOR CO.
      Fig 3: Installing Front Suspension Steering Ball Stud Dust Seals And Clamps (2 Of 2)
      G03238026Courtesy of FORD MOTOR CO.
  8. Install the nut and the tie-rods ends. Align the marks.
    • Apply silicone dielectric compound to the front wheel spindle tie-rod threads.
      Fig 4: Applying Silicone Dielectric Compound To Front Wheel Spindle Tie-Rod Threads
      G03238027Courtesy of FORD MOTOR CO.
  9. Remove the steering gear from the special tools.
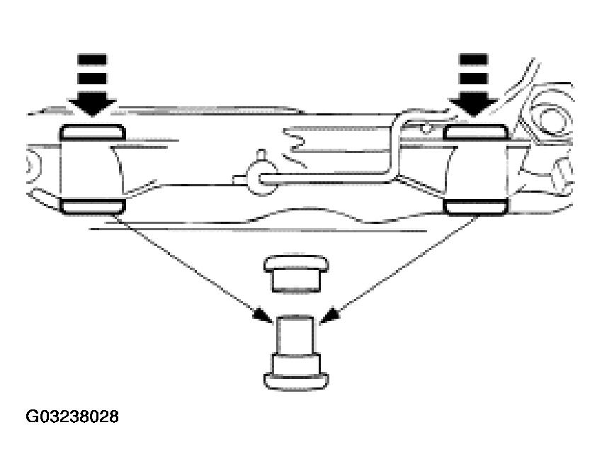
  10. Install the steering gear mounting bracket housing insulators.
    • Install new steering gear mounting bracket housing insulators as necessary.
    • The large end of the metal sleeve must be positioned downward.
    • Check that the mounting surfaces are clean and free of foreign material.
      Fig 5: Installing Steering Gear Mounting Bracket Housing Insulators
      G03238028Courtesy of FORD MOTOR CO.