lemon-mirror:
Home >> Ford >> 2004 >> Taurus SES, 3.0 2 >> Repair and Diagnosis >> Transmission >> Automatic Trans >> Automatic Transmission >> Assembly >> Transaxle

Automatic Transmission: Assembly: Transaxle

Fig 1: Identifying Special Tool(s) (1 Of 5)
G01362038Courtesy of FORD MOTOR CO.
Fig 2: Identifying Special Tool(s) (2 Of 5)
G01362040Courtesy of FORD MOTOR CO.
Fig 3: Identifying Special Tool(s) (3 Of 5)
G01362041Courtesy of FORD MOTOR CO.
Fig 4: Identifying Special Tool(s) (4 Of 5)
G01362042Courtesy of FORD MOTOR CO.
Fig 5: Identifying Special Tool(s) (5 Of 5)
G01362043Courtesy of FORD MOTOR CO.
  1. Install the parking pawl assembly.
    1. Install the parking pawl and return spring.
    2. Install the parking pawl shaft.
      Fig 6: Installing Parking Pawl Shaft
      G01362044Courtesy of FORD MOTOR CO.
  2. Install the park pawl roll pin.
    Fig 7: Installing Park Pawl Roll Pin
    G01362045Courtesy of FORD MOTOR CO.
  3. Using the special tool, install the cup plug.
    Fig 8: Installing Cup Plug Using The Special Tool
    G01362046Courtesy of FORD MOTOR CO.
  4. NOTE: The bolt holes are offset and the drive sprocket can only be aligned one way.
    Fig 9: Installing Stator Support
    G01362047Courtesy of FORD MOTOR CO.
  5. Install the stator support.
  6. Install the stator support bolts.
    Fig 10: Installing Stator Support Bolts
    G01362048Courtesy of FORD MOTOR CO.
  7. Using the special tool, install the converter impeller hub seal.
    Fig 11: Installing Converter Impeller Hub Seal Using Special Tool,
    G01362049Courtesy of FORD MOTOR CO.
  8. Install the differential carrier thrust bearing.
    1. Install the differential carrier thrust washer.
    2. Install the differential carrier thrust bearing and race (tabs down).
      Fig 12: Installing Differential Carrier Thrust Bearing
      G01362050Courtesy of FORD MOTOR CO.
  9. Install the final drive ring gear.
    Fig 13: Installing Final Drive Ring Gear
    G01362051Courtesy of FORD MOTOR CO.
  10. Install the rear planet support spacer.
    Fig 14: Installing Rear Planet Support Spacer
    G01362052Courtesy of FORD MOTOR CO.
  11. Install the final drive differential assembly.
    Fig 15: Installing Final Drive Differential Assembly
    G01362053Courtesy of FORD MOTOR CO.
  12. Align the rear lube tube holes in the case window.
    Fig 16: Aligning Rear Lube Tube Holes In Case Window
    G01362054Courtesy of FORD MOTOR CO.
  13. NOTE: The retaining ring must be correctly installed.
    Fig 17: Installing Beveled Retaining Ring (1 Of 2)
    G01362055Courtesy of FORD MOTOR CO.
    Fig 18: Installing Beveled Retaining Ring (2 Of 2)
    G01362056Courtesy of FORD MOTOR CO.
  14. Using the special tool install the beveled retaining ring.
  15. CAUTION: If support is not visible on inside diameter of the retaining ring the low/intermediate piston could be damaged.
    Fig 19: Verifying Beveled Retaining Ring Seats Correctly In Case Groove With The Bevel Down
    G01362057Courtesy of FORD MOTOR CO.
  16. Make sure that the beveled retaining ring seats correctly in case groove with the bevel down and final drive support must be visible on the inside diameter of the retaining ring but must not seat against the case wall.
  17. Place a screwdriver into the differential case and pry up to make sure that the retaining ring is fully seated in the top of the case groove.
    Fig 20: Placing A Screwdriver Into Differential Case And Prying Up To Make Sure The Retaining Ring Is Fully Seated In The Top Of The Case Groove
    G01362058Courtesy of FORD MOTOR CO.
  18. Install the special tools.
    Fig 21: Installing Special Tools
    G01362059Courtesy of FORD MOTOR CO.
  19. Remove the No. 15 needle bearing.
    Fig 22: Removing No. 15 Needle Bearing
    G01362060Courtesy of FORD MOTOR CO.
  20. NOTE: The dial indicator extension rod must set on the No. 15 bearing surface.
    Fig 23: Installing Special Tools
    G01362061Courtesy of FORD MOTOR CO.
  21. Install the special tools.
  22. Install the special tools and zero the dial indicator.
    Fig 24: Installing Special Tools And Zero Dial Indicator
    G01362062Courtesy of FORD MOTOR CO.
  23. Tighten the bolt.
    Fig 25: Tightening Bolt
    G01362063Courtesy of FORD MOTOR CO.
  24. Read and record the dial indicator reading. If the dial indicator reading indicates movement more than the specification the next larger beveled ring retainer will need to be used.
    Fig 26: Identifying Dial Indicator
    G01362064Courtesy of FORD MOTOR CO.
  25. Select the correct beveled retaining ring.
    Fig 27: Selection Chart Of Beveled Retaining Ring (1 Of 2)
    G01362065Courtesy of FORD MOTOR CO.
    Fig 28: Selection Chart Of Beveled Retaining Ring (2 Of 2)
    G01362066Courtesy of FORD MOTOR CO.
    Fig 29: Identifying Beveled Retaining Ring
    G01362067Courtesy of FORD MOTOR CO.
  26. NOTE: Make sure the No. 15 needle bearing is on the rear planet support hub and the black plastic No. 15 thrust washer is in place on top of the low/intermediate clutch spring retainer.
    Fig 30: Installing No. 15 Thrust Bearing
    G01362068Courtesy of FORD MOTOR CO.
  27. Install the No. 15 thrust bearing.
  28. Check the clearance for the No. 16 thrust washer. Mount the Dial Indicator with the stylus on the end of the output shaft. Zero the dial indicator.
    Fig 31: Checking Clearance For No. 16 Thrust Washer
    G01362069Courtesy of FORD MOTOR CO.
  29. Tighten the bolt. Read and record the dial indicator reading.
    Fig 32: Tightening Bolt
    G01362070Courtesy of FORD MOTOR CO.
  30. NOTE: The beveled retaining ring and the rear planet support must be removed to change the No. 16 thrust race.
  31. If the clearance is not within specification a thicker or thinner washer will need to be added.
  32. Fig 33: No. 16 Thrust Race (Washer) Chart
    G01362071Courtesy of FORD MOTOR CO.
    Fig 34: Measuring Clearance
    G01362072Courtesy of FORD MOTOR CO.
  33. Install the low-intermediate one-way clutch assembly.
    Fig 35: Installing Low-Intermediate One-Way Clutch Assembly
    G01362073Courtesy of FORD MOTOR CO.
  34. NOTE: The friction plate internal splines will center the one-way clutch.
  35. Install the low-intermediate clutch pressure plate.
    1. Install the low-intermediate clutch wave spring.
    2. Install the low-intermediate clutch pack.
    3. Install the low-intermediate clutch pressure plate.
      Fig 36: Installing Low-Intermediate Clutch Pressure Plate
      G01362074Courtesy of FORD MOTOR CO.
  36. CAUTION: Make sure that the retaining ring is seated in the case groove.
    Fig 37: Installing Low-Intermediate Clutch Retaining Ring
    G01362075Courtesy of FORD MOTOR CO.
  37. Install the low-intermediate clutch retaining ring.
  38. WARNING: To prevent injury, wear eye protection when using pressurized air.
    NOTE: Be sure the pressurized air is dry and regulated at 276 kPa (40 psi).
    Fig 38: Applying Regulated Air Pressure To Low-Intermediate Apply Port
    G01362076Courtesy of FORD MOTOR CO.
  39. Apply regulated air pressure to the low-intermediate apply port. Make sure that the piston moves and no air is leaking past the piston seal.
  40. Measure the clearance between the clutch pressure plate and the low-intermediate clutch retainer. If the clearance is not within specification a thicker or thinner retainer may be needed.
  41. Fig 39: Selective Retaining Rings Chart
    G01362077Courtesy of FORD MOTOR CO.
    Fig 40: Measuring Clearance Between Clutch Pressure Plate
    G01362078Courtesy of FORD MOTOR CO.
  42. Install the coast band.
    1. Install the coast band.
    2. Align the anchor pin pocket with the anchor pin in the case.
      Fig 41: Installing Coast Band
      G01362079Courtesy of FORD MOTOR CO.
  43. Install the low-intermediate drum. Rotate the low-intermediate drum and sun gear into the low-intermediate one-way clutch.
    Fig 42: Installing Low-Intermediate Drum
    G01362080Courtesy of FORD MOTOR CO.
  44. Install the park rod abutment and make sure that the park pawl moves freely.
    Fig 43: Installing Park Rod Abutment
    G01362081Courtesy of FORD MOTOR CO.
  45. Install the coast band piston cover.
    1. Install the coast band servo piston spring.
    2. Install the coast band servo piston.
    3. Install the coast band servo piston cover.
      Fig 44: Installing Coast Band Servo Piston Cover
      G01362082Courtesy of FORD MOTOR CO.
  46. Using the special tool, install the coast servo cover retaining ring.
    Fig 45: Installing Coast Servo Cover Retaining Ring
    G01362083Courtesy of FORD MOTOR CO.
  47. Using the special tools, install the front planetary/reverse clutch assembly.
    Fig 46: Installing Front Planetary/Reverse Clutch Assembly
    G01362084Courtesy of FORD MOTOR CO.
  48. Make sure that the reverse clutch cylinder apply tube hole is aligned with the case hole. Remove the tool.
    Fig 47: Removing Tool
    G01362085Courtesy of FORD MOTOR CO.
  49. Loosely install the reverse clutch anchor pin.
    Fig 48: Installing Reverse Clutch Anchor Pin
    G01362086Courtesy of FORD MOTOR CO.
  50. Using the special tool install the forward/intermediate clutch assembly. Align the shell and sun gear into the front planet.
    Fig 49: Aligning Shell And Sun Gear Into Front Planet
    G01362087Courtesy of FORD MOTOR CO.
  51. Install the overdrive band.
    Fig 50: Installing Overdrive Band
    G01362088Courtesy of FORD MOTOR CO.
  52. NOTE: The foot of the overdrive retainer goes down against the band.
    Fig 51: Installing Overdrive Band Anchor Strut With Cross Hairs Facing Up
    G01362089Courtesy of FORD MOTOR CO.
  53. Install the overdrive band anchor strut with the cross hairs facing up.
  54. Remove the No. 8 sprocket thrust washer and the No. 9 bearing and race from the driven sprocket support.
    1. Remove the No. 9 bearing and race.
    2. Remove the No. 8 sprocket support.
      Fig 52: Removing No. 8 Sprocket Support
      G01362090Courtesy of FORD MOTOR CO.
  55. Install only the No. 9 needle bearing with the outer lip up.
    Fig 53: Installing No. 9 Needle Bearing With Outer Lip Up
    G01362091Courtesy of FORD MOTOR CO.
  56. Install the special tool over the output shaft until it is fully seated on to the No. 9 needle bearing.
    Fig 54: Installing Special Tool Over Output Shaft
    G01362092Courtesy of FORD MOTOR CO.
  57. Install the special tool to make the measurements.
    Fig 55: Installing Special Tool To Make Measurements
    G01362093Courtesy of FORD MOTOR CO.
  58. When taking the measurement, record readings on both sides of the output shaft 180 degrees apart from each other. Add both readings and divide by two to obtain reading A.
    Fig 56: Installing Special Tool To Make Measurements
    G01362094Courtesy of FORD MOTOR CO.
  59. NOTE: Reading A and Dimension C from the chart will be used in the selection of the No. 5 thrust washer.
  60. Use the reading A to select the correct No. 8 thrust washer from the chart.
  61. Fig 57: No. 8 Thrust Washer Selection Chart
    G01362095Courtesy of FORD MOTOR CO.
  62. Remove the special tools.
    Fig 58: Removing Special Tools
    G01362096Courtesy of FORD MOTOR CO.
  63. Install the special tools to make the measurements.
    Fig 59: Installing Special Tools To Make Measurements
    G01362097Courtesy of FORD MOTOR CO.
  64. Measure down to the No. 5 thrust washer mating surface of the overdrive drum. Take another reading on the other side of the drum 180 degrees from the first one. Add both readings and divide by two to obtain reading B.
    Fig 60: Measuring No. 5 Thrust Washer Mating Surface Of Overdrive Drum
    G01362098Courtesy of FORD MOTOR CO.
  65. Remove the special tools.
    Fig 61: Removing Special Tools
    G01362099Courtesy of FORD MOTOR CO.
  66. NOTE: Reading A was obtained during No. 8 thrust washer selection. Dimension C is found on the No. 8 thrust washer selection chart.
    Fig 62: Thrust Washer Reading Chart
    G01362100Courtesy of FORD MOTOR CO.
  67. Subtract reading A from Reading B and add the difference between A and B to dimension C. Record this reading as D.
  68. Use Reading D to select the correct No. 5 thrust washer.
  69. Fig 63: No. 5 Support Thrust Washer Chart
    G01362101Courtesy of FORD MOTOR CO.
    NOTE: Use petroleum jelly to hold the No. 5 thrust washer in place.
    Fig 64: Installing No. 5 Front Support Thrust Washer
    G01362102Courtesy of FORD MOTOR CO.
  70. Install the No. 5 front support thrust washer.
  71. CAUTION: The No. 9 direct hub needle bearing may still be inside the transaxle from the No. 8 driven sprocket support thrust washer selection procedure. Use petroleum jelly to hold bearing and washer in place.
  72. Install the correct bearing.
    1. Install the correct No. 8 driven sprocket support thrust washer.
    2. Install the No. 9 direct clutch needle bearing.
      Fig 65: Installing Correct Bearing
      G01362103Courtesy of FORD MOTOR CO.
  73. Install the driven sprocket support assembly.
    Fig 66: Installing Driven Sprocket Support Assembly
    G01362104Courtesy of FORD MOTOR CO.
  74. Install the neutral/drive accumulator cover.
    1. Install the neutral/drive accumulator piston.
    2. Install the neutral/drive accumulator spring.
      • The outer spring is yellow in color.
      • The inner spring is grey in color.
    3. Install the neutral/drive accumulator cover.
      Fig 67: Installing Neutral/Drive Accumulator Cover
      G01362105Courtesy of FORD MOTOR CO.
  75. Install the bolt.
    Fig 68: Installing Bolt
    G01362106Courtesy of FORD MOTOR CO.
  76. NOTE: All the fluid supply tubes must have new O-rings installed.
    Fig 69: Installing Fluid Supply Tubes
    G01362107Courtesy of FORD MOTOR CO.
  77. Install the fluid supply tubes.
  78. Install the brackets.
    Fig 70: Installing Brackets
    G01362108Courtesy of FORD MOTOR CO.
  79. Using the special tool, install the manual control lever shaft seal.
    Fig 71: Installing Manual Control Lever Shaft Seal
    G01362109Courtesy of FORD MOTOR CO.
  80. Install the parking lever actuating rod.
    • Push in on the park pawl.
    • Slide down the parking lever actuating rod to fit in the park pawl.
      Fig 72: Installing Parking Lever Actuating Rod
      G01362110Courtesy of FORD MOTOR CO.
  81. NOTE: The manual control valve detent lever must be installed with the shoulder and roll pin hole pointing toward the driven sprocket support.
    Fig 73: Installing Manual Control Lever Shaft
    G01362111Courtesy of FORD MOTOR CO.
  82. Install the manual control lever shaft.
  83. NOTE: Prior to installing the roll pins be sure that the manual control valve detent lever shoulder and roll pin hole is pointing toward the driven sprocket support.
    Fig 74: Installing Roll Pins
    G01362112Courtesy of FORD MOTOR CO.
  84. Install the roll pins.
  85. NOTE: Apply petroleum jelly to the drive sprocket thrust washer and driven sprocket thrust washer to hold them in place.
  86. Install the thrust washers.
    1. Install the No. 2 drive sprocket thrust washer.
    2. Install the No. 4 driven sprocket thrust washer.
      Fig 75: Installing Thrust Washers
      G01362113Courtesy of FORD MOTOR CO.
  87. CAUTION: Be careful not to damage or bend the exciter tabs on the driven sprocket speed sensor wheel. The TSS sensor will not operate correctly if the tabs are bent.
    NOTE: Lower the assembly into the sprocket supports simultaneously.
    Fig 76: Installing Drive Chain And Sprockets
    G01362114Courtesy of FORD MOTOR CO.
  88. Install the drive chain and sprockets.
  89. Install the shift accumulator springs.
    1. Install the 1-2 shift accumulator piston inner assist springs.
    2. Install the 1-2 shift accumulator piston outer springs (blue).
    3. Install the 2-3 shift accumulator piston inner assist spring.
    4. Install the 2-3 shift accumulator piston outer spring (blue).
    5. Install the reverse shift accumulator piston spring (pink).
    6. Install the 3-4 shift accumulator piston spring (pink).
      Fig 77: Installing Shift Accumulator Springs
      G01362115Courtesy of FORD MOTOR CO.
  90. NOTE: Make sure that the alignment pins are installed in case.
    Fig 78: Installing New Chain Cover Gasket
    G01362116Courtesy of FORD MOTOR CO.
  91. Install the new chain cover gasket.
  92. CAUTION: Be extremely careful not to damage the cast iron sealing ring.
  93. Use petroleum jelly to hold thrust washers in place during assembly.
    1. Install the No. 1 thrust washer.
    2. Install the No. 2 thrust washer.
    3. Install the chain cover.
      Fig 79: Installing No. 1 & 2 Thrust Washers & Chain Cover
      G01362117Courtesy of FORD MOTOR CO.
  94. NOTE: After installing the chain cover the input shaft should have some end play and should rotate freely. Apply gentle downward pressure on the chain cover to overcome spring pressure.
    Fig 80: Starting Two Bolts
    G01362118Courtesy of FORD MOTOR CO.
  95. Start two bolts.
  96. Install the remaining bolts.
    Fig 81: Installing Remaining Bolts
    G01362119Courtesy of FORD MOTOR CO.
  97. Install the bolts.
    Fig 82: Installing Bolts
    G01362120Courtesy of FORD MOTOR CO.
  98. CAUTION: The test spring from the overdrive servo rod tool is plain in color and has a shorter free height than the operational spring. Extreme care must be used not to assemble the transaxle using the test spring.
  99. Inspect the spring height.
    1. Test spring.
    2. Original spring.
      Fig 83: Inspecting Spring Height
      G01362121Courtesy of FORD MOTOR CO.
  100. Overdrive servo travel check. Install the overdrive servo piston.
    1. Install the test spring.
    2. Install the overdrive servo piston.
      Fig 84: Installing Test Spring And Overdrive Servo Piston
      G01362122Courtesy of FORD MOTOR CO.
  101. Install the special tools.
    Fig 85: Installing Special Tools
    G01362123Courtesy of FORD MOTOR CO.
  102. Using the special tools, tighten the center screw and zero out the dial indicator.
    Fig 86: Using Special Tools, Tighten The Center Screw And Zero Out The Dial Indicator
    G01362124Courtesy of FORD MOTOR CO.
  103. Using the special tools, back off the center screw until the piston movement stops and read the dial indicator. The reading should be within specification. If the reading does not match the specification, see the overdrive specification chart and determine which overdrive servo rod to use.
    Fig 87: Identifying Special Tools
    G01362125Courtesy of FORD MOTOR CO.
  104. If the overdrive servo travel was incorrect, install a new overdrive servo rod. Zero the dial indicator and repeat the above step to verify the amount of piston travel. If within specification, remove the tool and test spring.
  105. Fig 88: Overdrive Piston Rod Selection Chart
    G01362126Courtesy of FORD MOTOR CO.
    CAUTION: Do not assemble the transaxle using the test spring.
  106. Install the overdrive servo.
    1. Install the overdrive servo spring.
    2. Install the overdrive servo.
    3. Install the overdrive servo cover and bolts.
      Fig 89: Installing Overdrive Servo, Cover And Bolts
      G01362127Courtesy of FORD MOTOR CO.
  107. Install the transmission test plate.
    Fig 90: Installing Transmission Test Plate
    G01362128Courtesy of FORD MOTOR CO.
  108. WARNING: Wear safety glasses while carrying out this procedure to prevent personal injury.
    NOTE: When applying regulated 276 kPa (40 psi) air pressure to the appropriate passage, a dull thud should be heard when the clutch or band applies. There should be no hissing sound when the clutch or band applies.
    NOTE: Plugging the vent hole during the test will provide an inaccurate result.
    Fig 91: Identifying Vent Hole In Test Plate
    G01362131Courtesy of FORD MOTOR CO.
    Fig 92: Parts Description Chart (Items 1-3)
    G01362129Courtesy of FORD MOTOR CO.
    Fig 93: Parts Description Chart (Items 4-12)
    G01362130Courtesy of FORD MOTOR CO.
  109. Cover the vent hole in the test plate with a clean lint free shop towel to prevent spray when air is applied. Apply air pressure to the appropriate clutch ports.
  110. CAUTION: The seals must be lapped correctly or internal leakage will occur.
    Fig 94: Installing Teflon® Seals On Pump Shaft
    G01362132Courtesy of FORD MOTOR CO.
  111. Install the new Teflon® seals on the pump shaft.
  112. Install the pump shaft.
    Fig 95: Installing Pump Shaft
    G01362133Courtesy of FORD MOTOR CO.
  113. Install the manual valve detent lever.
    Fig 96: Installing Manual Valve Detent Lever
    G01362134Courtesy of FORD MOTOR CO.
  114. Install the main control valve body over the pump shaft and connect the main control valve actuating rod while pushing down until it is seated on the chain cover.
    Fig 97: Installing Main Control Valve Body
    G01362135Courtesy of FORD MOTOR CO.
  115. CAUTION: Do not use the bolts to draw pump assembly and main control valve body onto the chain cover case. Component damage may occur.
    Fig 98: Identifying Bolt Tightening Sequence
    G01362136Courtesy of FORD MOTOR CO.
  116. Use the valve body guide pins to install the pump assembly and main control valve body. Install the bolt and tighten in sequence.
  117. Connect the connectors.
    Fig 99: Connecting Connectors
    G01362137Courtesy of FORD MOTOR CO.
  118. NOTE: The transaxle side cover gasket is reusable if not torn or ripped.
    Fig 100: Removing Gasket
    G01362138Courtesy of FORD MOTOR CO.
  119. Remove the gasket. Clean and inspect the gasket, reinstall into the pan.
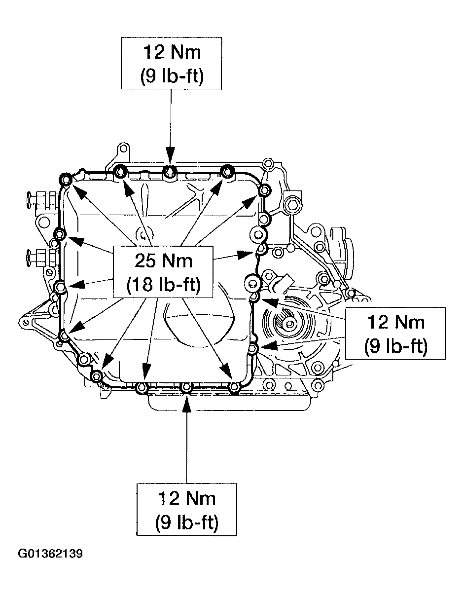
  120. Install the pan.
    Fig 101: Installing Pan
    G01362139Courtesy of FORD MOTOR CO.
  121. Install the mount bracket.
    Fig 102: Installing Mount Bracket
    G01362140Courtesy of FORD MOTOR CO.
  122. Tighten the reverse clutch anchor bolt.
    1. Tighten the anchor bolt.
    2. Tighten the locknut.
      Fig 103: Tightening Reverse Clutch Anchor Bolt
      G01362141Courtesy of FORD MOTOR CO.
  123. Install the new seal and gasket kit and seal assembly.
    Fig 104: Installing New Seal And Gasket Kit And Seal Assembly
    G01362142Courtesy of FORD MOTOR CO.
  124. Install the fluid pan magnet.
    Fig 105: Installing Fluid Pan Magnet
    G01362143Courtesy of FORD MOTOR CO.
  125. NOTE: The gasket is reusable if not damaged or torn.
    Fig 106: Installing Transmission Fluid Pan And Gasket
    G01362144Courtesy of FORD MOTOR CO.
  126. Install the transmission fluid pan and gasket.
  127. Install the turbine shaft speed (TSS) sensor.
    1. Install the sensor.
    2. Install the bolt.
      Fig 107: Installing Turbine Shaft Speed (TSS) Sensor
      G01362145Courtesy of FORD MOTOR CO.
  128. NOTE: Locate and align the orange dot adjacent to the stud on the torque converter and place it in the 6 o'clock position.
  129. Verify that the shift selector lever is in NEUTRAL.
  130. Install the digital TR sensor and loosely install the bolts.
    Fig 108: Installing Digital TR Sensor And Loosely Installing Bolts
    G01362146Courtesy of FORD MOTOR CO.
  131. Using the special tool, align the digital TR sensor and tighten the bolts.
    Fig 109: Using Special Tool To Align Digital TR Sensor And Tighten Bolts
    G01362147Courtesy of FORD MOTOR CO.
  132. Install the fluid filler tube with a new grommet.
    1. Install the grommet.
    2. Install the fluid filler tube.
      • Tighten the bolt.
        Fig 110: Installing Fluid Filler Tube With A New Grommet
        G01362148Courtesy of FORD MOTOR CO.
  133. Using the special tool install the LH output shaft seal.
    Fig 111: Using Special Tool To Installing LH Output Shaft Seal
    G01362149Courtesy of FORD MOTOR CO.
  134. Using the special tool install the RH output shaft seal.
    Fig 112: Using Special Tool To Install The RH Output Shaft Seal
    G01362150Courtesy of FORD MOTOR CO.
  135. Install the output shaft speed (OSS) sensor and reconnect the harness.
    Fig 113: Installing Output Shaft Speed (OSS) Sensor And Reconnecting Harness
    G01362151Courtesy of FORD MOTOR CO.
  136. Install the output shaft speed (OSS) sensor cover.
    1. Install the OSS cover.
    2. Install the bolt.
    3. Connect the connector to the bracket.
      Fig 114: Installing Output Shaft Speed (OSS) Sensor Cover
      G01362152Courtesy of FORD MOTOR CO.
  137. Install the identification tag, if removed.
    Fig 115: Installing Identification Tag
    G01362153Courtesy of FORD MOTOR CO.
  138. NOTE: Locate and align the orange dot adjacent to the stud on the torque converter and place it in the 6 o'clock position.
    Fig 116: Using Special Tools To Install The Torque Converter
    G01362155Courtesy of FORD MOTOR CO.
  139. Using the special tools, install the torque converter.