lemon-mirror:
Home >> Ford >> 2004 >> Taurus SES, 3.0 2 >> Repair and Diagnosis >> Transmission >> Automatic Trans >> Automatic Transmission >> In-Vehicle Repair >> Main Control - Pump >> Installation

Main Control - Pump: Installation

    ALL VEHICLES 

  1. Install the pump assembly and main control valve body onto the pump shaft.
    Fig 1: Installing Pump Assembly And Main Control Valve Body Onto Pump Shaft
    G01361561Courtesy of FORD MOTOR CO.
  2. Rotate the pump assembly and main control valve body to connect the manual valve link with the manual valve.
  3. CAUTION: Do not use the bolts to draw pump assembly and main control valve body onto the chain cover case. Component damage may occur.
    Fig 2: Installing Retaining Bolt And Tightening In Sequence
    G01361562Courtesy of FORD MOTOR CO.
  4. Install retaining bolt and tighten in sequence.
  5. Install the transaxle wire harness retaining clip into the separator plate.
  6. Connect the electrical connectors.
    Fig 3: Connecting Electrical Connectors
    G01361563Courtesy of FORD MOTOR CO.
  7. NOTE: The transaxle side cover gasket is reusable if not torn or ripped.
    Fig 4: Removing Gasket
    G01361564Courtesy of FORD MOTOR CO.
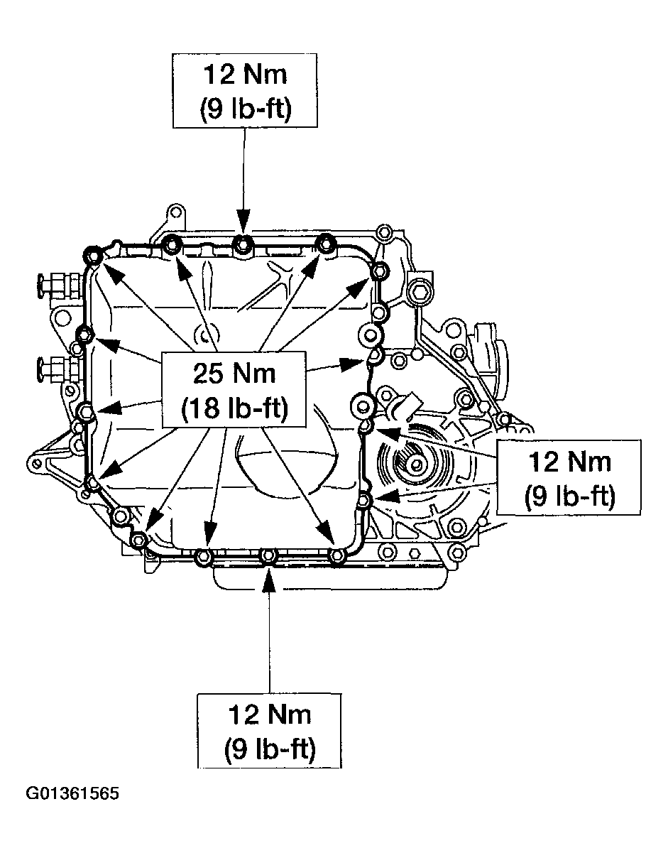
  8. Remove the gasket. Clean and inspect the gasket, reinstall gasket onto the pan.
  9. Install the pan.
    Fig 5: Installing Pan
    G01361565Courtesy of FORD MOTOR CO.
  10. Install the mount bracket.
    Fig 6: Installing Mount Bracket
    G01361566Courtesy of FORD MOTOR CO.
  11. NOTE: It will be necessary to reinstall the left side of the subframe.
  12. For subframe alignment procedure, and bolt specification, refer to the installation procedure in UNI-BODY, SUBFRAME AND MOUNTING SYSTEM .

    Install the LH transaxle support and insulator. For additional information, refer to TRANSAXLE SUPPORT INSULATOR .

  13. Install the LH front fender splash shield and the five retainers.
    Fig 7: Installing LH Front Fender Splash Shield And Retainers
    G01361567Courtesy of FORD MOTOR CO.
  14. Install the LH wheel and tire.
  15. 3.0L 4V ENGINES 

  16. Remove the Engine Lifting Bracket.
    Fig 8: Removing Engine Lifting Bracket
    G01361568Courtesy of FORD MOTOR CO.
  17. Install the rear support brace.
    1. Install the rear support brace.
    2. Install the bolt.
    3. Install the nut.
      Fig 9: Installing Rear Support Brace Nuts
      G01361569Courtesy of FORD MOTOR CO.
  18. Install the lower cowl assembly.
    Fig 10: Installing Lower Cowl Assembly
    G01361570Courtesy of FORD MOTOR CO.
  19. Install the wiper.
    1. Install the upper cowl assembly.
    2. Install the clips.
    3. Install the wiper.
      Fig 11: Installing Wiper
      G01361571Courtesy of FORD MOTOR CO.
  20. Remove the engine lifting bracket.
    Fig 12: Removing Engine Lifting Bracket
    G01361572Courtesy of FORD MOTOR CO.
  21. Install the nut for the cooling tube.
    Fig 13: Installing Nut For Cooling Tube
    G01361573Courtesy of FORD MOTOR CO.
  22. 3.0L 2V ENGINES 

  23. Remove the LH engine lifting bracket.
    Fig 14: Removing LH Engine Lifting Bracket
    G01361574Courtesy of FORD MOTOR CO.
  24. Remove the RH engine lifting bracket.
    Fig 15: Removing RH Engine Lifting Bracket
    G01361575Courtesy of FORD MOTOR CO.
  25. Remove the special tools.
    Fig 16: Removing Special Tools
    G01361576Courtesy of FORD MOTOR CO.
  26. ALL VEHICLES 

  27. Reconnect the turbine shaft speed (TSS) sensor connector.
    Fig 17: Reconnecting Turbine Shaft Speed (TSS) Sensor Connector
    G01361577Courtesy of FORD MOTOR CO.
  28. Install the electrical connector bracket.
    Fig 18: Installing Electrical Connector Bracket
    G01361578Courtesy of FORD MOTOR CO.
  29. Install the power steering line bracket.
    Fig 19: Installing Power Steering Line Bracket
    G01361579Courtesy of FORD MOTOR CO.
  30. Reconnect the electrical connector.
    Fig 20: Reconnecting Electrical Connector
    G01361580Courtesy of FORD MOTOR CO.
  31. Reconnect the electrical connectors.
    Fig 21: Reconnecting Electrical Connectors
    G01361581Courtesy of FORD MOTOR CO.
  32. Install the air filter assembly.
    Fig 22: Installing Air Filter Assembly
    G01361582Courtesy of FORD MOTOR CO.
  33. Install the engine air cleaner and tube.
    Fig 23: Installing Engine Air Cleaner And Tube
    G01361583Courtesy of FORD MOTOR CO.
  34. Reconnect the mass air flow (MAF) sensor and the breather tubes.
    Fig 24: Reconnecting Mass Air Flow (MAF) Sensor And Breather Tubes
    G01361584Courtesy of FORD MOTOR CO.
  35. Reinstall the battery.
  36. Fill the transaxle assembly with one quart of clean automatic transmission fluid.
  37. Start the engine. Move the transaxle range selector lever through all positions. Check the fluid level. For additional information, refer to PRELIMINARY INSPECTION .