lemon-mirror:
Home >> Ford >> 2004 >> Taurus SES, 3.0 U >> Repair and Diagnosis >> Steering >> Steering Column >> Steering Column >> General Procedures >> Reactivation

General Procedures: Reactivation

WARNING: To reduce the risk of serious personal injury, read and follow all warnings, cautions, and notes at the beginning of the deactivation procedure.
NOTE: Make sure the battery negative cable is still disconnected before proceeding with the reactivation portion of this procedure.

    ALL VEHICLES 

  1. Remove the restraint system diagnostic tool from the seat harness side of the driver seat safety belt buckle pretensioner electrical connector.
    Fig 1: Removing Restraint System Diagnostic Tool From Seat Harness Side
    G01363046Courtesy of FORD MOTOR CO.
  2. Connect the driver seat safety belt buckle pretensioner electrical connector.
    1. Connect the driver seat safety belt buckle pretensioner electrical connector.
    2. Slide and engage the driver seat safety belt buckle pretensioner electrical connector locking clip.
      Fig 2: Connecting Driver Seat Safety Belt Buckle Pretensioner Electrical Connector
      G01363047Courtesy of FORD MOTOR CO.
  3. Reposition the seat cushion trim cover around the driver seat safety belt buckle pretensioner and attach the hook and loop strip.
    Fig 3: Identifying Driver Seat Safety Belt Buckle Pretensioner And Attach Hook And Loop Strip
    G01363048Courtesy of FORD MOTOR CO.
  4. VEHICLES WITH SIDE AIR BAGS 

  5. Remove the restraint system diagnostic tool from the vehicle harness side of the driver seat side air bag module electrical connector.
    Fig 4: Removing Restraint System Diagnostic Tool From Vehicle Harness Side
    G01363049Courtesy of FORD MOTOR CO.
  6. Connect the driver seat side air bag module electrical connector.
    Fig 5: Connecting Driver Seat Side Air Bag Module Electrical Connector
    G01363050Courtesy of FORD MOTOR CO.
  7. ALL VEHICLES 

  8. Remove the restraint system diagnostic tool from the seat harness side of the front passenger seat safety belt buckle pretensioner electrical connector.
    Fig 6: Removing Restraint System Diagnostic Tool
    G01363051Courtesy of FORD MOTOR CO.
  9. Connect the front passenger seat safety belt buckle pretensioner electrical connector.
    1. Connect the front passenger seat safety belt buckle pretensioner electrical connector.
    2. Slide and engage the front passenger seat safety belt buckle pretensioner electrical connector locking clip.
      Fig 7: Connecting Front Passenger Seat Safety Belt Buckle Pretensioner Electrical Connector
      G01363052Courtesy of FORD MOTOR CO.
  10. Reposition the seat cushion trim cover around the front passenger seat safety belt buckle pretensioner and attach the hook and loop strip.
    Fig 8: Identifying Front Passenger Seat Safety Belt Buckle Pretensioner
    G01363053Courtesy of FORD MOTOR CO.
  11. VEHICLES WITH SIDE AIR BAGS 

  12. Remove the restraint system diagnostic tool from the vehicle harness side of the passenger seat side air bag module electrical connector.
    Fig 9: Removing Restraint System Diagnostic Tool
    G01363054Courtesy of FORD MOTOR CO.
  13. Connect the passenger seat side air bag module electrical connector.
    Fig 10: Connecting Passenger Seat Side Air Bag Module Electrical Connector
    G01363055Courtesy of FORD MOTOR CO.
  14. ALL VEHICLES 

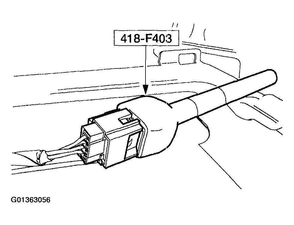
  15. Remove the restraint system diagnostic tool from the vehicle harness side of the passenger seat air bag module electrical connector.
    Fig 11: Removing Restraint System Diagnostic Tool
    G01363056Courtesy of FORD MOTOR CO.
  16. Make sure there are no foreign objects in the passenger air bag module alignment channels.
    Fig 12: Identifying Foreign Objects In Passenger Air Bag Module Alignment Channels
    G01363057Courtesy of FORD MOTOR CO.
  17. Remove or position anything out of the way that may be blocking the accessibility to the I/P alignment rails or holes.
    Fig 13: Removing Anything Out Of Way That Blocking Accessibility
    G01363058Courtesy of FORD MOTOR CO.
  18. Connect the passenger air bag module electrical connector.
    1. Position the passenger air bag module.
    2. Install the wire harness pin-type retainer to the passenger air bag module.
    3. Connect the passenger air bag module electrical connector.
      Fig 14: Connecting Passenger Air Bag Module Electrical Connector
      G01363059Courtesy of FORD MOTOR CO.
  19. Position the passenger air bag module alignment channels to the alignment rails of the I/P.
    Fig 15: Positioning Passenger Air Bag Module Alignment Channels
    G01363060Courtesy of FORD MOTOR CO.
  20. Install the passenger air bag module and trim cover into the I/P.
    NOTE: Left hand upper alignment pin shown, left hand lower alignment pin is similar.
    • Starting at the left hand side of the trim cover, install the upper and lower alignment pins into the I/P.
      Fig 16: Installing Upper And Lower Alignment Pins Into I/P
      G01363061Courtesy of FORD MOTOR CO.
  21. Working from left to right, install all the trim cover retaining tabs and alignment pins into the I/P.
    • When all channels and tabs are aligned correctly, there will be an even gap around the perimeter of the passenger air bag trim cover.
      Fig 17: Installing All Trim Cover Retaining Tabs And Alignment Pins Into I/P
      G01363062Courtesy of FORD MOTOR CO.
  22. Through the glove box opening, install the passenger air bag module retaining bolts.
    Fig 18: Installing Passenger Air Bag Module Retaining Bolts
    G01363063Courtesy of FORD MOTOR CO.
  23. Close the glove box.
  24. Remove the restraint system diagnostic tool from the vehicle harness side of the four-pin clockspring electrical connector at the base of the steering column.
    Fig 19: Removing Restraint System Diagnostic Tool
    G01363064Courtesy of FORD MOTOR CO.
  25. Connect the four-pin clockspring electrical connector at the base of the steering column.
    Fig 20: Connecting Four-Pin Clockspring Electrical Connector
    G01363065Courtesy of FORD MOTOR CO.
  26. Install the lower steering column opening cover with reinforcement.
    1. Position the lower steering column opening cover with reinforcement to the instrument panel and push in at the top seating the retaining clips.
    2. Install the bolts.
      Fig 21: Installing Lower Steering Column Opening Cover With Reinforcement
      G01363066Courtesy of FORD MOTOR CO.
  27. Connect the battery ground cable. For additional information, refer to BATTERY, MOUNTING AND CABLES .
  28. WARNING: The restraint system diagnostic tool is for restraint system service only. Remove from the vehicle prior to road use. Failure to remove could result in injury and possible violation of vehicle safety standards.
  29. With all the restraint system diagnostic tools removed, prove out the supplemental restraint system (SRS). For additional information, refer to SYSTEM OPERATION CHECK .