lemon-mirror:
Home >> Ford >> 2005 >> Excursion 5.4 L, RWD >> Repair and Diagnosis >> Accessories & Equipment >> Accessories Control Systems >> Component Testing >> Component Testing >> Window adjust switch >> Schematic

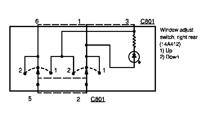
Window adjust switch: Schematic

Fig 1: Window Adjust Switch - Schematic
G03987518Courtesy of FORD MOTOR CO.