lemon-mirror:
Home >> Ford >> 2005 >> Expedition RWD >> Repair and Diagnosis >> Engine Mechanical >> Mechanical >> Engine >> Disassembly And Assembly Of Subassemblies >> Piston >> Assembly

Disassembly And Assembly Of Subassemblies: Piston: Assembly

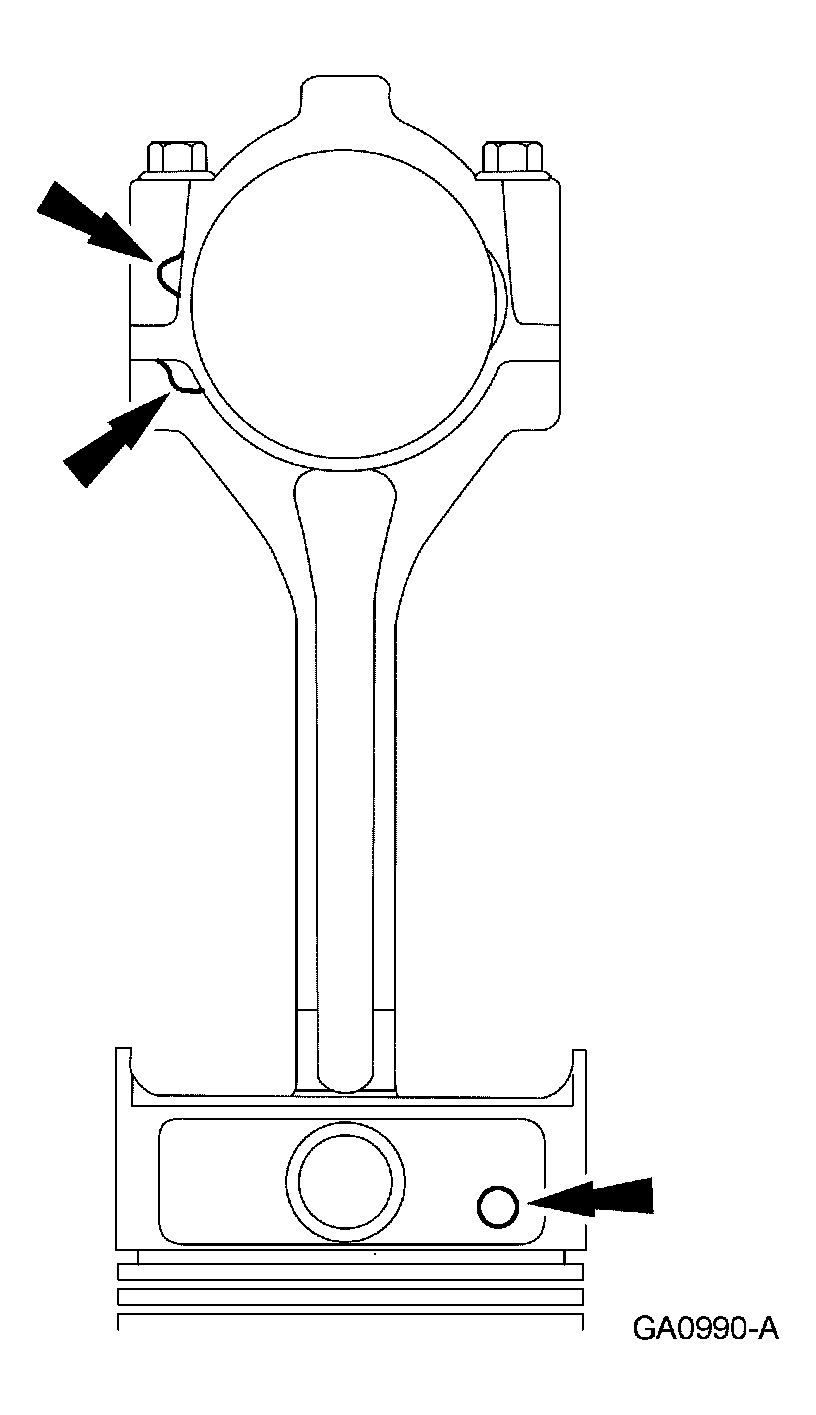
    NOTE: The connecting rod must be installed into the piston with identification markings toward the front.
    Fig 1: Locating Connecting Rod & Piston Identification Marks
    G03885869Courtesy of FORD MOTOR CO.
  1. Position the connecting rod in the piston.
  2. Lubricate the piston pin and pin bore with clean engine oil.
  3. Install the piston pin in the piston and connecting rod assembly.
  4. Install the piston pin retaining clips in the piston.
  5. Lubricate the piston and the new piston rings with clean engine oil.
  6. Install the piston rings onto the piston.