lemon-mirror:
Home >> Ford >> 2005 >> Expedition RWD >> Repair and Diagnosis >> Transmission >> Automatic Trans >> Automatic Transmission >> In-Vehicle Repair >> Main Control Valve Body >> Removal

Main Control Valve Body: Removal

  1. Drain transmission fluid and remove the transmission fluid pan and filter. For additional information, refer to FLUID PAN, GASKET AND FILTER .
  2. CAUTION: Do not pull on the molded lead frame. This may cause damage to the connector ends. Carefully pry up on the locking tabs to disconnect the solenoids. Disconnect the molded lead frame from the solenoids.
  3. Disconnect the molded lead frame from the solenoids.
    1. Disconnect the shift solenoid SSA and SSB.
    2. Disconnect the torque converter clutch (TCC).
    3. Disconnect the electronic pressure control (EPC) solenoid.
    4. Disconnect the bulkhead inter-connector.
      Fig 1: Identifying Molded Lead Frame And Solenoids
      G04584282Courtesy of FORD MOTOR CO.
  4. Remove the manual control valve detent lever bolt and spring.
    Fig 2: Locating Manual Valve Detent Lever Spring & Bolt
    G04584283Courtesy of FORD MOTOR CO.
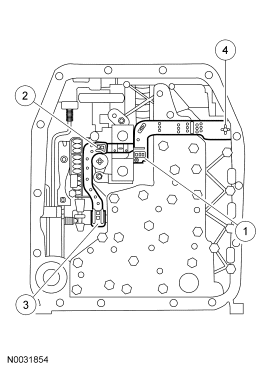
  5. Remove the 24 valve body-to-case bolts and the EPC bracket bolt.
    Fig 3: Locating Main Control Valve Body Bolts
    G03882633Courtesy of FORD MOTOR CO.
  6. Remove the main control valve body and discard the pump outlet screen.
    Fig 4: Locating Pump Outlet Screen
    G04628233Courtesy of FORD MOTOR CO.