lemon-mirror:
Home >> Ford >> 2005 >> Focus ZXW SES, Automatic >> Repair and Diagnosis >> Transmission >> Automatic Trans >> Automatic Transmission >> Disassembly And Assembly Of Subassemblies >> Main Control Valve Body >> Assembly

Main Control Valve Body: Assembly

    NOTE: The top side of the separator plate has a bonded gasket.
    NOTE: The separator gasket goes on the bottom side.
    NOTE: Inspect the main control valve body.
    Fig 1: Installing Control Valve Body Plate Assembly And Separator Gaskets
    G03951540Courtesy of FORD MOTOR CO.
  1. Installing new control valve body plate assembly and separator gaskets.
  2. NOTE: Do not fully tighten the bolts at this stage.
    Fig 2: Assembling Main Control Valve Body
    G03951539Courtesy of FORD MOTOR CO.
  3. Assemble the main control valve body.
  4. Install the seals.
    Fig 3: Installing Seals
    G03951538Courtesy of FORD MOTOR CO.
  5. Tighten the solenoid body bolts.
    Fig 4: Tightening Solenoid Body Bolts
    G03951543Courtesy of FORD MOTOR CO.
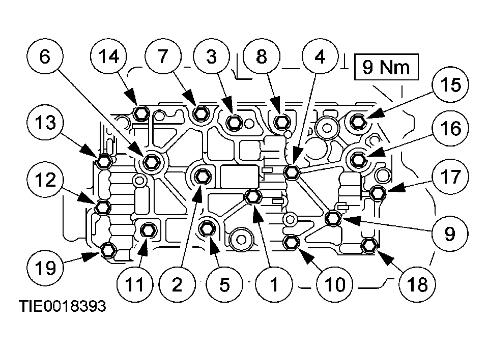
  6. Tighten the remaining bolts in the sequence shown.
    Fig 5: Tightening Solenoid Body Bolts Sequence
    G03951544Courtesy of FORD MOTOR CO.