lemon-mirror:
Home >> Ford >> 2005 >> Focus ZXW SES, Automatic >> Repair and Diagnosis >> Transmission >> Automatic Trans >> Automatic Transmission >> Disassembly >> Transaxle >> Disassembly

Automatic Transmission: Disassembly: Transaxle: Disassembly

    CAUTION: If, during repair work, abrasive particles are found in the transaxle fluid (particles from the clutch or metal chips or foreign material), the transaxle must be disassembled completely and thoroughly cleaned. Also, clean the fluid pipes, fluid cooler and torque converter carefully. In the case of extreme soiling of the fluid pipes, install a new fluid cooler and torque converter.
    NOTE: In case of clutch abrasion, rinse the torque converter with clean automatic transmission fluid.
  1. Inspect the transaxle during disassembly.
  2. Remove the output shaft speed (OSS) sensor.
    1. Remove the bolt.
    2. Remove the OSS.
    Fig 1: Removing Output Shaft Speed (OSS) Sensor
    G03951381Courtesy of FORD MOTOR CO.
  3. Remove the turbine shaft speed (TSS) sensor.
    Fig 2: Removing Turbine Shaft Speed (TSS) Sensor
    G03951382Courtesy of FORD MOTOR CO.
  4. CAUTION: Do not use air tools.
    Fig 3: Removing Manual Control Lever
    G03951383Courtesy of FORD MOTOR CO.
  5. While holding the lever, remove the manual control lever.
  6. Remove the transmission range (TR) sensor.
    Fig 4: Removing Transmission Range (TR) Sensor
    G03951384Courtesy of FORD MOTOR CO.
  7. Remove the special tool.
    Fig 5: Removing Special Tool To Torque Converter
    G03951666Courtesy of FORD MOTOR CO.
  8. CAUTION: Do not tilt the torque converter when removing it, to prevent damaging the torque converter hub.
    NOTE: The torque converter is filled with fluid. Drain into a suitable container.
    Fig 6: Removing Torque Converter Using Special Tool
    G03951665Courtesy of FORD MOTOR CO.
  9. Using the special tool, remove the torque converter.
  10. Using the special tool, mount the transaxle to a bench.
    Fig 7: Mounting Transaxle To Bench Using Special Tool
    G03951387Courtesy of FORD MOTOR CO.
  11. Remove the bolts.
    Fig 8: Removing Transaxle Bolts
    G03951388Courtesy of FORD MOTOR CO.
  12. Using the two 10 mm bolts, remove the fluid pump.
    Fig 9: Using Two 10 mm Bolts To Remove Fluid Pump
    G03951389Courtesy of FORD MOTOR CO.
  13. Remove the fluid pump seals.
    Fig 10: Removing Fluid Pump Seals
    G03951390Courtesy of FORD MOTOR CO.
  14. Remove the forward clutch thrust washer.
    Fig 11: Removing Forward Clutch Thrust Washer
    G03951391Courtesy of FORD MOTOR CO.
  15. Remove the forward clutch assembly.
    Fig 12: Removing Forward Clutch Assembly
    G03951656Courtesy of FORD MOTOR CO.
  16. NOTE: Small levers will aid in the removal of the forward clutch hub.
    Fig 13: Removing Forward Clutch Hub
    G03951655Courtesy of FORD MOTOR CO.
  17. Remove the forward clutch hub.
  18. Rotate the transaxle 180 degrees.
  19. Remove the end cover.
    Fig 14: Removing End Cover
    G03951394Courtesy of FORD MOTOR CO.
  20. Clean the silicone from the end cover and transaxle case surfaces thoroughly with metal surface cleaner.
  21. Remove the direct clutch hub bearing shim.
    Fig 15: Removing Direct Clutch Hub Bearing Shim
    G03951395Courtesy of FORD MOTOR CO.
  22. Remove the end cover seals.
    Fig 16: Removing End Cover Seals
    G03951644Courtesy of FORD MOTOR CO.
  23. Remove the end cover to case seals.
    Fig 17: Removing End Cover To Case Seals
    G03951643Courtesy of FORD MOTOR CO.
  24. Remove the direct clutch cylinder thrust bearing.
    Fig 18: Removing Direct Clutch Cylinder Thrust Bearing
    G03951642Courtesy of FORD MOTOR CO.
  25. Remove the intermediate/overdrive band anchor bolt.
    Fig 19: Removing Intermediate/Overdrive Band Anchor Bolt
    G03951399Courtesy of FORD MOTOR CO.
  26. Remove the intermediate/overdrive band.
    Fig 20: Removing Intermediate/Overdrive Band
    G03951400Courtesy of FORD MOTOR CO.
  27. Remove the intermediate/overdrive drum assembly.
    Fig 21: Removing Intermediate/Overdrive Drum Assembly
    G03951401Courtesy of FORD MOTOR CO.
  28. Remove the planet gear assembly.
    Fig 22: Removing Planet Gear Assembly
    G03951402Courtesy of FORD MOTOR CO.
  29. Remove the low/reverse clutch plate retaining ring.
    Fig 23: Removing Low/Reverse Clutch Plate Retaining Ring
    G03951403Courtesy of FORD MOTOR CO.
  30. Remove the low/reverse clutch plates, pressure plate and bevel ring.
    Fig 24: Removing Low/Reverse Clutch Plates, Pressure Plate And Bevel Ring
    G03951635Courtesy of FORD MOTOR CO.
  31. Remove the low one-way clutch retaining ring.
    Fig 25: Removing Low One-Way Clutch Retaining Ring
    G03951405Courtesy of FORD MOTOR CO.
  32. Remove the low one-way clutch inner race.
    Fig 26: Removing Low One-Way Clutch Inner Race
    G03951406Courtesy of FORD MOTOR CO.
  33. Remove the low/reverse clutch return spring.
    Fig 27: Removing Low/Reverse Clutch Return Spring
    G03951407Courtesy of FORD MOTOR CO.
  34. Remove the low/reverse clutch piston.
    Fig 28: Removing Low/Reverse Clutch Piston
    G03951408Courtesy of FORD MOTOR CO.
  35. Using the special tool, remove the transaxle fluid pan.
    1. Remove the bolts.
    2. Using the special tool, remove the transaxle fluid pan.
    Fig 29: Removing Transaxle Fluid Pan Using Special Tool
    G03951409Courtesy of FORD MOTOR CO.
  36. Clean the silicone from the transaxle fluid pan and transaxle case surfaces thoroughly with metal surface cleaner.
  37. Disconnect the transmission fluid temperature (TFT) sensor.
    Fig 30: Disconnecting Transmission Fluid Temperature (TFT) Sensor
    G03951282Courtesy of FORD MOTOR CO.
  38. Remove the fluid filter.
    Fig 31: Removing Fluid Filter
    G03951283Courtesy of FORD MOTOR CO.
  39. NOTE: It is necessary to note the location of the main control wire harness connectors so they can be connected in the same positions. Connector color letters are cast into the solenoid body.
    Fig 32: Removing Ground Wire Bolt, Disconnecting Electrical Connectors And Removing Wire Harness
    G03951412Courtesy of FORD MOTOR CO.
  40. Remove the ground wire bolt, disconnect the electrical connectors and remove the wire harness.
    1. Solenoid SSC; Color N (Neutral).
    2. Solenoid SSE; Color G (Green).
    3. Solenoid SSD; Color L (Blue).
    4. Solenoid EPC; Color B (Black).
    5. Solenoid SSA; Color N (Neutral).
    6. Solenoid SSB; Color B (Black).
  41. NOTE: Note the locations of the longer bolts.
    Fig 33: Removing 13 Main Control Valve Body Bolts
    G03951413Courtesy of FORD MOTOR CO.
  42. Remove the 13 main control valve body bolts.
  43. NOTE: Squeeze the tabs on the side of the electrical connector.
    Fig 34: Removing Transaxle Internal Harness Electrical Connector
    G03951621Courtesy of FORD MOTOR CO.
  44. Remove the transaxle internal harness electrical connector.
  45. NOTE: Each accumulator has two springs. All four springs are different sizes.
    NOTE: Note the size and location of the accumulator springs to aid assembly.
    NOTE: Accumulator bore and pistons are a match as to depth, some piston may have steps. Install new pistons in the same bore as removed.
    Fig 35: Removing Accumulator Pistons And Springs
    G03951415Courtesy of FORD MOTOR CO.
  46. Remove the accumulator pistons and springs.
  47. Remove the manual lever shaft roll pin.
    Fig 36: Removing Manual Lever Shaft Roll Pin
    G03951614Courtesy of FORD MOTOR CO.
  48. Remove the manual lever shaft.
    Fig 37: Removing Manual Lever Shaft
    G03951417Courtesy of FORD MOTOR CO.
  49. Remove the O-ring seals from the manual lever shaft.
    Fig 38: Removing O-Ring Seals From Manual Lever Shaft
    G03951418Courtesy of FORD MOTOR CO.
  50. Remove the control lever assembly.
    Fig 39: Removing Control Lever Assembly
    G03951419Courtesy of FORD MOTOR CO.
  51. CAUTION: The intermediate/overdrive band servo cover plate is spring loaded. The bolts should be removed evenly until plate is unloaded, then remove the bolts.
    Fig 40: Removing Three Intermediate/Overdrive Piston Servo Cover Bolts And Servo Cover
    G03951420Courtesy of FORD MOTOR CO.
  52. Remove the three intermediate/overdrive piston servo cover bolts and the servo cover.
  53. Remove the O-ring seal.
    Fig 41: Removing O-Ring Seal
    G03951421Courtesy of FORD MOTOR CO.
  54. Remove the intermediate/overdrive servo piston.
    Fig 42: Removing Intermediate/Overdrive Servo Piston
    G03951422Courtesy of FORD MOTOR CO.
  55. Remove the intermediate/overdrive servo piston return spring.
    Fig 43: Removing Intermediate/Overdrive Servo Piston Return Spring
    G03951423Courtesy of FORD MOTOR CO.
  56. Rotate the transaxle 180 degrees.
  57. Remove the bolts and separate the converter housing from the transaxle case.
    Fig 44: Removing Bolts And Separate Converter Housing From Transaxle Case
    G03951424Courtesy of FORD MOTOR CO.
  58. Remove the differential assembly.
    Fig 45: Removing Differential Assembly
    G03951425Courtesy of FORD MOTOR CO.
  59. Remove the parking pawl assembly cover.
    • Remove the bolts and the parking pawl assembly cover.
    Fig 46: Removing Bolts And Parking Pawl Assembly Cover
    G03951426Courtesy of FORD MOTOR CO.
  60. Remove the parking pawl abutment.
    1. Unclip the spring.
    2. Remove the pin.
    3. Remove the lever.
    4. Remove the parking pawl abutment.
    Fig 47: Removing Parking Pawl Abutment
    G03951427Courtesy of FORD MOTOR CO.
  61. Remove the spring.
    Fig 48: Removing Spring
    G03951428Courtesy of FORD MOTOR CO.
  62. Remove the transfer shaft gears.
    Fig 49: Removing Transfer Shaft Gears
    G03951429Courtesy of FORD MOTOR CO.
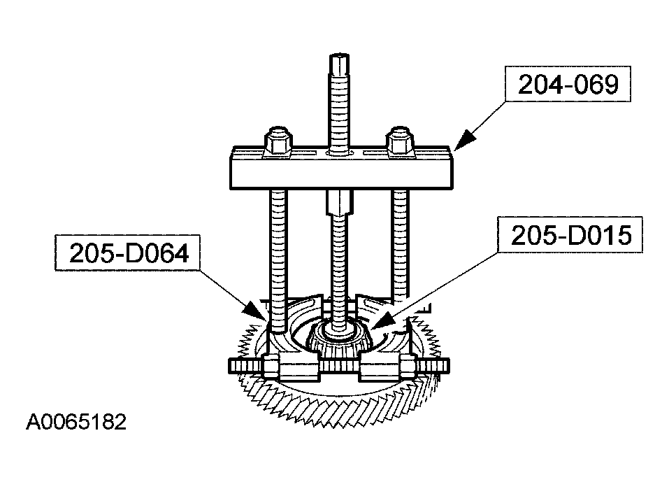
  63. Using the special tool, lock the final drive input gear.
    Fig 50: Using Special Tool To Lock Final Drive Input Gear
    G03951430Courtesy of FORD MOTOR CO.
  64. Rotate the transaxle 180 degrees.
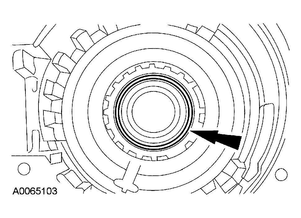
  65. NOTE: Release the locking sleeve away from the final drive input gear bearing retainer nut.
    Fig 51: Removing Final Drive Input Gear Bearing Retainer Nut Using Special Tool
    G03951431Courtesy of FORD MOTOR CO.
  66. Using the special tools, remove the final drive input gear bearing retainer nut.
  67. Remove the special tools.
  68. Rotate the transaxle 180 degrees.
  69. Remove the special tool.
    Fig 52: Removing Special Tools From Final Drive Input
    G03951430Courtesy of FORD MOTOR CO.
  70. CAUTION: Hold the final drive input gear while removing the bearing to prevent it from falling out of the transaxle case.
  71. Rotate the transaxle 180 degrees.
  72. Remove the final drive input gear bearing by lightly tapping on the end of the gear.
    Fig 53: Removing Final Drive Input Gear Bearing
    G03951433Courtesy of FORD MOTOR CO.
  73. Remove and discard the collapsible spacer.
    Fig 54: Removing Collapsible Spacer
    G03951434Courtesy of FORD MOTOR CO.
  74. WARNING: Wear eye protection when working with the chisel as the cutting operation may produce splinters. Failure to follow this instruction may result in personal injury.
    Fig 55: Removing Final Drive Input Gear Bearing Using Special Tool
    G03951435Courtesy of FORD MOTOR CO.
  75. Using a suitable chisel, remove the final drive input gear bearing.
  76. Using the special tools, remove the final drive input gear bearing inner race.
    Fig 56: Removing Final Drive Input Gear Bearing Inner Race Using Special Tool
    G03951436Courtesy of FORD MOTOR CO.
  77. Clean the converter housing and transaxle case surfaces thoroughly with metal surface cleaner.