lemon-mirror:
Home >> Ford >> 2005 >> Freestar Base >> Repair and Diagnosis >> Electrical >> Component Locations >> Electrical Component Locator >> Circuit Protection Devices

Circuit Protection Devices

CIRCUIT PROTECTION DEVICES LOCATION

Component Location
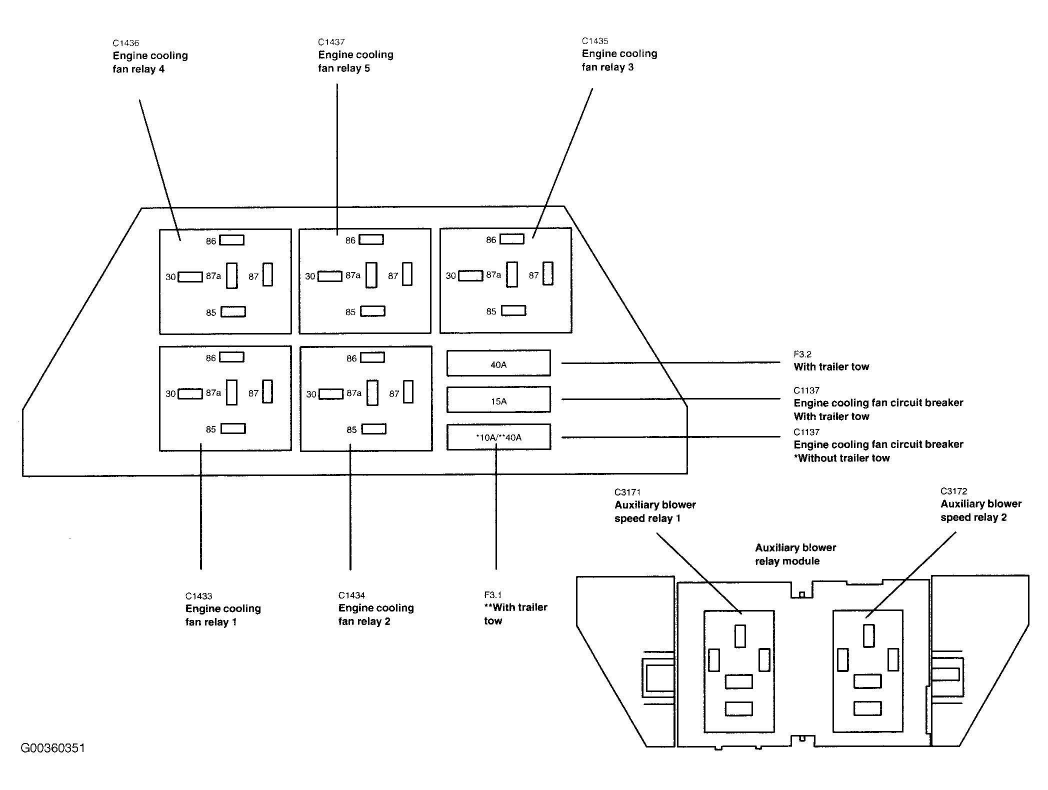
Auxiliary Blower Relay Module Left rear of vehicle, behind trim panel.
Auxiliary Relay Box 1 Right front of engine compartment. See Figure.
Bussed Electrical Center (BEC) At left side of engine compartment. See Figure.
Engine Cooling Fan Circuit Breaker In auxiliary relay box 1. See Figure.
Fusible Link A At left side of engine compartment.
Smart Junction Box (SJB) Behind left side of dash. See Figure.