lemon-mirror:
Home >> Ford >> 2005 >> Freestar Base >> Repair and Diagnosis >> Engine Mechanical >> Mechanical >> Engine >> In-Vehicle Repair >> Lower Intake Manifold >> Installation

Lower Intake Manifold: Installation

  1. Clean all gasket sealing surfaces with metal surface cleaner.
  2. NOTE: Front seal shown in illustration, rear seal similar.
    Fig 1: Installing Lower Intake Manifold Front And Rear Seals
    G04003896Courtesy of FORD MOTOR CO.
  3. Install the lower intake manifold front and rear seals.
    1. Apply a bead of silicone gasket and sealant to the intake manifold front and rear seal mounting points as shown in illustration.
    2. Install the new lower intake manifold front and rear seals.
  4. Install the new intake manifold gaskets.
    Fig 2: Installing Intake Manifold Gaskets
    G03961989Courtesy of FORD MOTOR CO.
  5. NOTE: The lower intake manifold must be installed within 4 minutes of applying sealant.
    Fig 3: Positioning Lower Intake Manifold
    G04003898Courtesy of FORD MOTOR CO.
  6. Position the lower intake manifold.
    1. Apply a bead of silicone gasket and sealant to the lower intake manifold mounting points (at the front and rear seal).
    2. Position the lower intake manifold.
  7. NOTE: Make sure the bolts are installed in the correct locations.
    Fig 4: Installing Long Bolts
    G04003899Courtesy of FORD MOTOR CO.
  8. Install the 6 long bolts.
  9. Install the 8 short bolts.
    Fig 5: Installing Short Bolts
    G04003900Courtesy of FORD MOTOR CO.
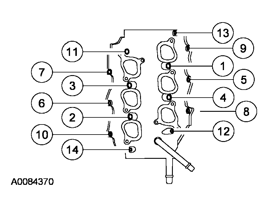
  10. Tighten the lower intake manifold bolts in 2 stages in the sequence shown in illustration.
    • Stage 1: Tighten to 5 Nm (44 lb-in).
    • Stage 2: Tighten to 10 Nm (89 lb-in).
    Fig 6: Tightening Lower Intake Manifold Bolts In Sequence
    G04003901Courtesy of FORD MOTOR CO.
  11. Connect the IMRC electrical connector.
  12. Connect the upper radiator hose to the lower intake manifold and install the clamp.
  13. Connect the 2 heater hoses to the lower intake manifold.
  14. Install the fuel injection supply manifold. For additional information, refer to FUEL CHARGING & CONTROLS .
  15. Install the coolant bypass tube. For additional information, refer to ENGINE COOLING .
  16. Drain the engine oil.
    • Tighten to 26 Nm (19 lb-ft).
    Fig 7: Locating Drain Plug
    G04003902Courtesy of FORD MOTOR CO.
  17. NOTE: Tighten the oil filter one-half turn after the gasket makes contact with oil filter housing.
  18. Install a new engine oil filter.
  19. Fill the engine with clean engine oil.