lemon-mirror:
Home >> Ford >> 2005 >> Freestar SE >> Repair and Diagnosis (Single Page) >> Engine Mechanical >> Mechanical >> Engine >> Assembly >> Engine >> Engine Assembly

Engine Assembly

Fig 1: Identifying Engine - Lower Components (1 Of 2)
G04004213Courtesy of FORD MOTOR CO.
Fig 2: Identifying Engine - Lower Components (2 Of 2)
G04004214Courtesy of FORD MOTOR CO.
Fig 3: Identifying Engine -Upper Components (1 Of 2)
G04004215Courtesy of FORD MOTOR CO.
Fig 4: Identifying Engine -Upper Components (2 Of 2)
G04004216Courtesy of FORD MOTOR CO.
Fig 5: Identifying Engine -Front Components
G04004217Courtesy of FORD MOTOR CO.
Fig 6: Identifying Cylinder Heads (1 Of 2)
G04004218Courtesy of FORD MOTOR CO.
Fig 7: Identifying Cylinder Heads (2 Of 2)
G04004219Courtesy of FORD MOTOR CO.
Fig 8: Identifying Engine -External Components
G04004220Courtesy of FORD MOTOR CO.
CAUTION: During engine repair procedures, cleanliness is extremely important. Any foreign material, including any material created while cleaning gasket surfaces that enters the oil passages, coolant passages or the oil pan, can cause engine failure.
CAUTION: The moving components must be lubricated with clean engine oil before assembly.
CAUTION: The components with oil holes must be correctly aligned with the oil feed holes.
NOTE: For additional information, refer to the exploded views under DESCRIPTION AND OPERATION .
  1. If necessary, install the following:
    1. Cylinder block dowels
    2. Oil gallery plugs
    3. Water jacket plugs
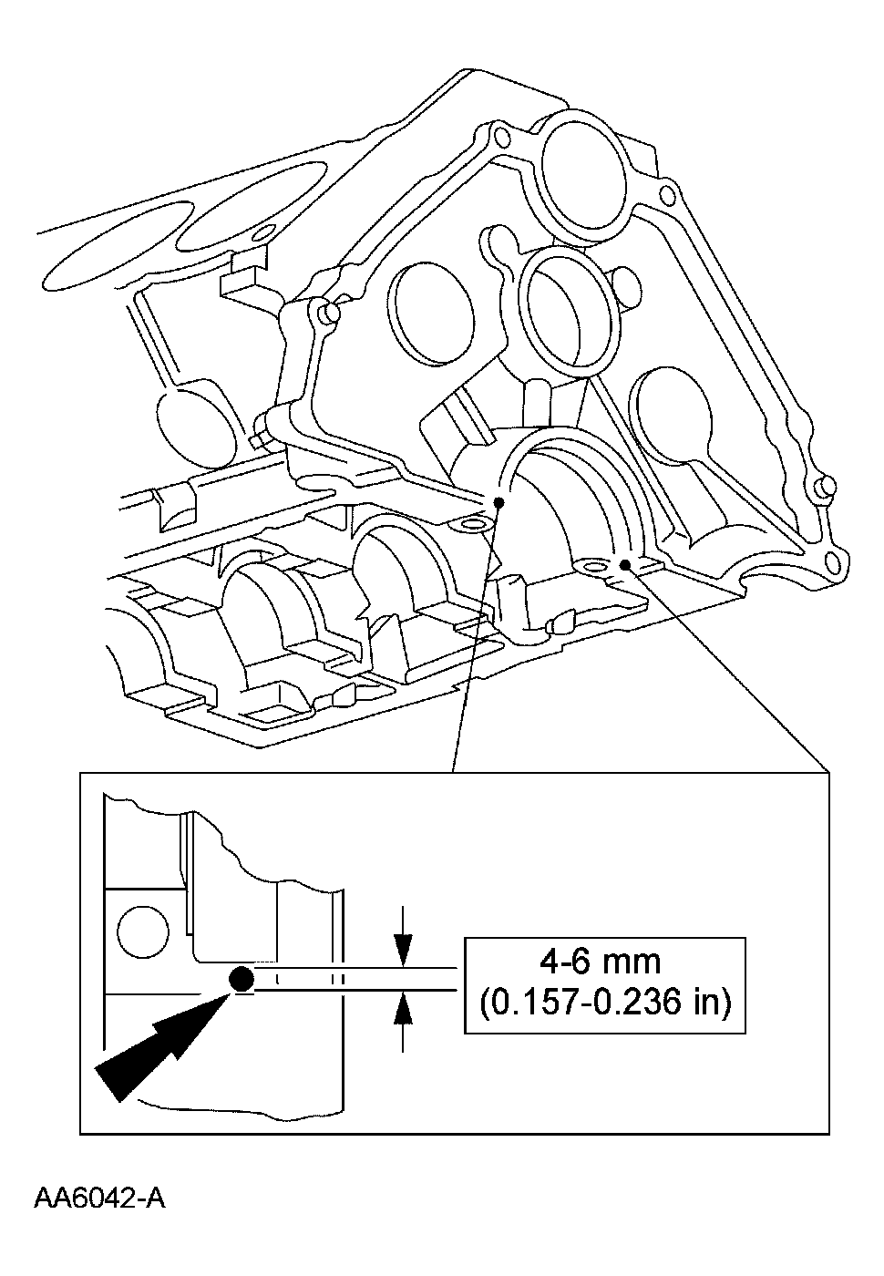
    Fig 9: Installing Cylinder Block Dowels And Oil Gallery Plugs
    G04004190Courtesy of FORD MOTOR CO.
  2. Using the Camshaft Service Set, install the engine dynamic balance shaft bearings.
    Fig 10: Installing Engine Dynamic Balance Shaft Bearings
    G03962198Courtesy of FORD MOTOR CO.
  3. Using the Camshaft Service Set, install the camshaft bearings.
    Fig 11: Installing Camshaft Bearings
    G03962197Courtesy of FORD MOTOR CO.
  4. Install the following:
    1. Engine dynamic balance shaft bearing cover
    2. Camshaft bearing cover
    Fig 12: Installing Engine Dynamic Balance Shaft Bearing Cover
    G04004180Courtesy of FORD MOTOR CO.
  5. If equipped, install the block heater.
    • Tighten to 2 Nm (18 lb-in).
    Fig 13: Installing Block Heater
    G03962238Courtesy of FORD MOTOR CO.
  6. CAUTION: Make sure the components are installed in the correct locations.
    NOTE: Lubricate the crankshaft main bearings with clean engine oil prior to installation.
    Fig 14: Installing Crankshaft Upper Main Bearings And Crankshaft Upper Thrust Main Bearing
    G03962196Courtesy of FORD MOTOR CO.
  7. Install the crankshaft upper main bearings and the crankshaft upper thrust main bearing.
  8. CAUTION: The crankshaft journals must be protected from damage when installing the crankshaft.
    Fig 15: Positioning Crankshaft
    G03962195Courtesy of FORD MOTOR CO.
    CAUTION: The main bearings are precision selective fit. Inspect the bearing clearance. For additional information, refer to ENGINE SYSTEM-GENERAL INFORMATION .
  9. Position the crankshaft.
  10. NOTE: If the rear main bearing cap is not installed within 4 minutes, remove the sealant and reapply.
    Fig 16: Applying Silicone Gasket And Sealant To Rear Main Bearing Cap-To-Cylinder Block Parting Line
    G03962241Courtesy of FORD MOTOR CO.
  11. Clean the rear main bearing cap sealing area with metal surface cleaner. Apply silicone gasket and sealant to the rear main bearing cap-to-cylinder block parting line.
  12. Install the main bearing caps. Tighten the bolts in 2 stages.
    • Stage 1: Tighten to 55 Nm (41 lb-ft).
    • Stage 2: Rotate an additional 90 degrees.
    Fig 17: Installing Main Bearing Caps
    G03962242Courtesy of FORD MOTOR CO.
  13. Using a piston ring compressor, compress the piston rings.
    Fig 18: Compressing Piston Rings
    G03962243Courtesy of FORD MOTOR CO.
  14. CAUTION: Inspect the piston clearance. For additional information, refer to ENGINE SYSTEM-GENERAL INFORMATION .
    CAUTION: Do not damage the cylinder wall with the sharp edges of the connecting rod.
    NOTE: 4.2L shown, 3.9L similar.
    Fig 19: Installing Piston With Arrow On Piston Face Pointing Toward Front Of Engine
    G03962244Courtesy of FORD MOTOR CO.
  15. Install the piston with the arrow on the piston face pointing toward the front of the engine.
  16. CAUTION: Inspect the connecting rod bearing clearance. For additional information, refer to ENGINE SYSTEM-GENERAL INFORMATION .
    CAUTION: The connecting rod cap will fit only one way.
    Fig 20: Positioning Lower Connecting Rod Bearing
    G03962245Courtesy of FORD MOTOR CO.
  17. Position the lower connecting rod bearing and the connecting rod cap on the connecting rod and the crankshaft journal.
  18. Tighten the connecting rod cap bolts in 3 stages.
    • Stage 1: Tighten to 25 Nm (18 lb-ft).
    • Stage 2: Tighten to 45 Nm (33 lb-ft).
    • Stage 3: Tighten an additional 105 degrees.
    Fig 21: Tightening Connecting Rod Cap Bolts
    G03962246Courtesy of FORD MOTOR CO.
  19. Install the remaining pistons and the connecting rods.
  20. Install the oil pan baffle and the retaining nuts.
    • Tighten to 32 Nm (24 lb-ft).
    Fig 22: Installing Oil Pan Baffle And Retaining Nuts
    G03962192Courtesy of FORD MOTOR CO.
  21. Using a new gasket, install the oil pump screen cover and tube.
    1. Tighten to 25 Nm (18 lb-ft).
    2. Tighten to 32 Nm (24 lb-ft).
    Fig 23: Installing Oil Pump Screen Cover And Tube
    G04004235Courtesy of FORD MOTOR CO.
  22. CAUTION: Do not damage the camshaft lobes when installing the camshaft.
    Fig 24: Installing Camshaft, Camshaft Spacer And Camshaft Key
    G04004236Courtesy of FORD MOTOR CO.
  23. Install the camshaft, camshaft spacer and camshaft key.
  24. Install the camshaft thrust plate and bolts.
    • Tighten to 11 Nm (8 lb-ft).
    Fig 25: Installing Camshaft Thrust Plate And Bolts
    G03962250Courtesy of FORD MOTOR CO.
  25. Install the engine dynamic balance shaft assembly and bolts.
    • Tighten to 11 Nm (8 lb-ft).
    Fig 26: Installing Engine Dynamic Balance Shaft Assembly And Bolts
    G04004178Courtesy of FORD MOTOR CO.
  26. NOTE: If correctly aligned, the engine dynamic balance shaft keyway will be at 12 o'clock and the camshaft keyway will be at 6 o'clock on the camshaft.
    Fig 27: Installing Engine Balance Shaft Drive Gear
    G04004239Courtesy of FORD MOTOR CO.
  27. Install the engine balance shaft drive gear so that the timing mark lines up with the timing mark on the engine balance shaft driven gear.
  28. NOTE: Lubricate the valve tappets with clean engine oil prior to installing. If reusing the valve tappets, make sure to install them in their original locations.
    Fig 28: Installing Valve Tappets
    G03962253Courtesy of FORD MOTOR CO.
  29. Install the valve tappets.
    • Install the valve tappets.
    • Install the tappet guide plates and retainers.
    • Install the bolts and tighten to 12 Nm (9 lb-ft).
  30. Install the timing chain tensioner and bolts.
    • Position the timing chain tensioner.
    • Install the bolts and tighten to 11 Nm (8 lb-ft).
    Fig 29: Identifying Timing Chain Tensioner And Mounting Bolts
    G03962032Courtesy of FORD MOTOR CO.
  31. If necessary, compress the tensioner pad and install a retaining pin.
    Fig 30: Installing Retaining Pin
    G03962034Courtesy of FORD MOTOR CO.
  32. Rotate the crankshaft so the number 1 piston is at top dead center (TDC) and the keyway is at the 12 o'clock position.
    Fig 31: Locating Crankshaft Keyway At 12 O'Clock Position
    G04003971Courtesy of FORD MOTOR CO.
  33. Turn the camshaft sprocket so that the keyway is on the bottom of the camshaft.
    Fig 32: Identifying Keyway Position On Camshaft
    G03962036Courtesy of FORD MOTOR CO.
  34. Install the timing chain, the camshaft sprocket and the crankshaft sprocket as an assembly.
    Fig 33: Identifying Timing Chain And Sprockets
    G03962031Courtesy of FORD MOTOR CO.
  35. CAUTION: All timing marks must be aligned with the No. 1 cylinder set on TDC of the compression stroke or the synchronizer assembly will not be installed correctly.
    NOTE: The crankshaft must not be turned until the camshaft synchronizer is installed.
    Fig 34: Identifying Timing Marks And Keyways Position
    G04003974Courtesy of FORD MOTOR CO.
  36. Make sure the timing marks and the keyways are aligned.
  37. Remove the retaining pin.
    Fig 35: Removing Retaining Pin
    G03962030Courtesy of FORD MOTOR CO.
  38. Install the synchronizer drive gear and the bolt.
    • Tighten to 45 Nm (33 lb-ft).
    Fig 36: Installing Synchronizer Drive Gear And Bolt
    G03962040Courtesy of FORD MOTOR CO.
  39. NOTE: Use Thread Sealant with Teflon on studs No. 4 and 6 and bolt No. 12.
  40. Install the engine front cover studs in their original locations.
    • Tighten the engine front cover studs to 7 Nm (62 lb-in).
  41. CAUTION: The coolant pump and gasket must be installed at this time to correctly tighten all of the engine front cover fasteners in sequence.
    Fig 37: Installing Engine Front Cover
    G03962019Courtesy of FORD MOTOR CO.
  42. Using a new gasket, install the engine front cover.
    • Using a new gasket, install the coolant pump.
    • Tighten the fasteners in the sequence shown in illustration.
      • Tighten capscrew No. 12 to 10 Nm (89 lb-in).
      • Tighten all other fasteners to 28 Nm (21 lb-ft).
  43. Clean and inspect the mating surface.
  44. NOTE: Lubricate the crankshaft front seal lips with clean engine oil prior to installation.
    Fig 38: Placing Crankshaft Front Seal Onto Special Tools
    G04003923Courtesy of FORD MOTOR CO.
  45. Assemble the special tools, then place the crankshaft front seal onto the special tools.
  46. Using the special tools, install the crankshaft front seal.
    Fig 39: Installing Crankshaft Front Seal
    G04003924Courtesy of FORD MOTOR CO.
  47. Apply a bead of Silicone Gasket and Sealant to the keyway in the crankshaft damper. Using the special tool, position and install the crankshaft damper.
    Fig 40: Installing Crankshaft Damper
    G04003916Courtesy of FORD MOTOR CO.
  48. Install the crankshaft pulley bolt.
    • Tighten to 160 Nm (118 lb-ft).
    Fig 41: Installing Crankshaft Pulley Bolt
    G04004253Courtesy of FORD MOTOR CO.
  49. CAUTION: After installation, do not loosen the synchronizer bolt and rotate the synchronizer assembly. The synchronizer assembly is not adjustable. Do not loosen the synchronizer bolt after the alignment tool has been removed in order to align the CMP electrical connector for any reason. If the electrical connector is not in the correct position, the synchronizer assembly must be removed, the alignment tool and the assembly reinstalled if the engine has not been rotated from top dead center TDC of the compression stroke on the No. 1 cylinder.
    CAUTION: A synchronizer alignment gauge must be used during the installation of the synchronizer assembly. Failure to follow this procedure will result in the fuel system being out of time with the engine, possibly causing engine damage.
    Fig 42: Installing Special Tool On Camshaft Synchronizer
    G04004254Courtesy of FORD MOTOR CO.
  50. Install the special tool on the camshaft synchronizer by rotating the tool until it engages the notch in the camshaft synchronizer housing.
  51. NOTE: Always coat the synchronizer drive gear with clean engine oil prior to installation.
    NOTE: During installation, the arrow on the special tool with rotate clockwise as the gears engage.
    Fig 43: Installing Camshaft Synchronizer Housing Assembly
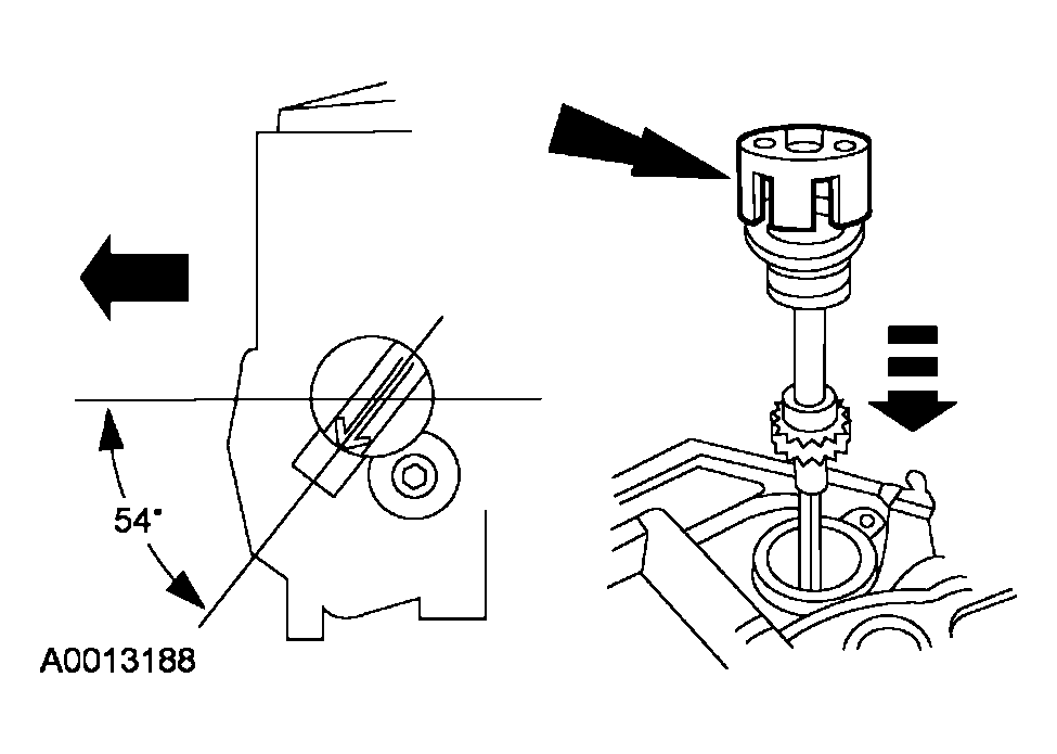
    G04004255Courtesy of FORD MOTOR CO.
  52. Install the camshaft synchronizer housing assembly so the arrow on the synchronizer alignment tool is 54 degrees from the centerline of the engine.
  53. Install the camshaft synchronizer retaining bolt.
    • Tighten to 25 Nm (18 lb-ft).
    Fig 44: Installing Camshaft Synchronizer Retaining Bolt
    G03962268Courtesy of FORD MOTOR CO.
  54. Install the CMP sensor.
    • Tighten to 3 Nm (27 lb-in).
    Fig 45: Installing CMP Sensor
    G03962269Courtesy of FORD MOTOR CO.
  55. NOTE: If the oil pan is not installed within 4 minutes, remove the sealant and reapply.
    Fig 46: Installing Oil Pan Rear Seal
    G04004258Courtesy of FORD MOTOR CO.
  56. Clean and apply the sealant to the oil pan sealing areas shown in illustration and install the oil pan rear seal.
    1. Apply silicone gasket and sealant to the rear main bearing cap.
    2. Install the oil pan rear seal.
    3. Clean the oil pan mating surfaces with metal surface cleaner and apply silicone gasket and sealant to the oil pan mating surfaces.
  57. Tighten the oil pan bolts in the sequence shown in illustration.
    • Tighten to 10 Nm (89 lb-in).
    Fig 47: Tightening Oil Pan Bolts In Sequence
    G03962271Courtesy of FORD MOTOR CO.
  58. Install the oil pressure sensor.
    • Tighten to 27 Nm (20 lb-ft).
    Fig 48: Installing Oil Pressure Sensor
    G04004165Courtesy of FORD MOTOR CO.
  59. CAUTION: A new oil cooler must be installed or severe damage to the engine can occur.
  60. If equipped, install the new oil cooler and tube assembly. For additional information, refer to OIL COOLER .
  61. NOTE: Tighten the oil filter one-half turn after the gasket makes contact with the oil filter housing.
    Fig 49: Installing Oil Filter
    G04004261Courtesy of FORD MOTOR CO.
  62. Install a new oil filter.
  63. NOTE: Install the new cylinder head gaskets with the small hole to the front of the engine.
    Fig 50: Installing RH And LH Cylinder Heads
    G04004262Courtesy of FORD MOTOR CO.
  64. Using new gaskets, install the RH and the LH cylinder heads.
  65. CAUTION: Always use new bolts.
    NOTE: Lubricate the bolts with clean engine oil prior to installation.
    Fig 51: Installing Cylinder Head Bolts
    G04003993Courtesy of FORD MOTOR CO.
  66. Install the new bolts. Make sure the bolts are installed in the correct locations.
    1. Install the new long bolts.
    2. Install the new short bolts.
  67. Tighten the bolts in the sequence shown in illustration in 3 stages.
    • Stage 1: Tighten to 20 Nm (14 lb-ft).
    • Stage 2: Tighten to 40 Nm (29 lb-ft).
    • Stage 3: Tighten to 50 Nm (36 lb-ft).
    Fig 52: Tightening Bolts In Sequence
    G04004264Courtesy of FORD MOTOR CO.
  68. CAUTION: Each bolt must be loosened and the final tightening carried out prior to working on the next bolt in the sequence. Do not loosen all of the bolts at one time.
    Fig 53: Tightening Bolts In Sequence
    G04004264Courtesy of FORD MOTOR CO.
  69. Carry out the following final tightening process on each bolt in the sequence shown in illustration.
    • Long bolts:
      • Loosen the long bolt and back out 3 turns.
      • Tighten the long bolt to 45 Nm (33 lb-ft).
      • Tighten the long bolt an additional 180 degrees.
      • Continue on to the next bolt in sequence.
    • Short bolts:
      • Loosen the short bolt and back out 3 turns.
      • Tighten the short bolt to 25 Nm (18 lb-ft).
      • Tighten the short bolt an additional 180 degrees.
      • Continue on to the next bolt in sequence.
  70. Install the lower exhaust manifold studs on both cylinder heads.
    • Tighten to 8 Nm (71 lb-in).
    Fig 54: Identifying Exhaust Manifold Lower Studs
    G03962055Courtesy of FORD MOTOR CO.
  71. NOTE: Lubricate the push rods with clean engine oil prior to installation. If reusing the push rods, make sure to install them in their original locations.
    Fig 55: Installing Push Rods
    G04004160Courtesy of FORD MOTOR CO.
  72. Install the 12 push rods.
  73. NOTE: If reusing the rocker arms, make sure to install them in their original locations.
    Fig 56: Installing Rocker Arms
    G03962170Courtesy of FORD MOTOR CO.
  74. Install the rocker arms.
    • Position the rocker arms and pivots.
    • Hand-start the bolts.
    • Tighten the bolts in 2 stages.
      • Stage 1: Tighten to 5 Nm (44 lb-in).
      • Stage 2: Tighten to 32 Nm (24 lb-ft).
  75. NOTE: Inspect the valve cover gaskets for damage. Install a new gasket, if necessary.
    Fig 57: Installing Valve Covers
    G04004269Courtesy of FORD MOTOR CO.
  76. Install the valve covers.
    1. Position the valve covers.
    2. Install the bolts and tighten to 10 Nm (89 lb-in).
    3. Install the stud bolts and tighten to 10 Nm (89 lb-in).
  77. Using a new gasket, install the RH exhaust manifold. Loosely install the RH nuts.
  78. Tighten the bolts in the sequence shown in illustration.
    • Tighten to 25 Nm (18 lb-ft).
    Fig 58: Installing RH Exhaust Manifold
    G04004270Courtesy of FORD MOTOR CO.
  79. Install the heat shield and the nuts.
    • Tighten to 10 Nm (89 lb-in).
    Fig 59: Installing Heat Shield And Nuts
    G04004154Courtesy of FORD MOTOR CO.
  80. Using a new gasket, install the LH exhaust manifold. Loosely install the LH nuts.
    Fig 60: Installing LH Exhaust Manifold
    G04004156Courtesy of FORD MOTOR CO.
  81. Tighten the bolts in the sequence shown in illustration.
    • Tighten to 25 Nm (18 lb-ft).
    Fig 61: Tightening Bolts In Sequence
    G04004273Courtesy of FORD MOTOR CO.
  82. Refer to the illustration for intake manifold sealing components.
    Fig 62: Installing Intake Manifold Sealing Components
    G04004274Courtesy of FORD MOTOR CO.
  83. Install the lower intake manifold front and rear end seals.
    1. Apply a bead of silicone gasket and sealant to the intake manifold front and rear end seal mounting points as indicated.
    2. Install the lower intake manifold front and rear end seals.
    Fig 63: Installing Lower Intake Manifold Front And Rear End Seals
    G04003896Courtesy of FORD MOTOR CO.
  84. Position the intake manifold gaskets.
    Fig 64: Positioning Intake Manifold Gaskets
    G03961989Courtesy of FORD MOTOR CO.
  85. NOTE: The lower intake manifold must be installed within 4 minutes of applying the sealant.
    Fig 65: Positioning Lower Intake Manifold
    G04003898Courtesy of FORD MOTOR CO.
  86. Position the lower intake manifold.
    1. Apply a bead of silicone gasket and sealant to the lower intake manifold mounting at the points indicated.
    2. Position the lower intake manifold.
  87. NOTE: Make sure the bolts are installed in the correct locations.
    Fig 66: Installing Long Bolts
    G04003899Courtesy of FORD MOTOR CO.
  88. Install the 6 long bolts.
  89. Install the 8 short bolts.
    Fig 67: Installing Short Bolts
    G04003900Courtesy of FORD MOTOR CO.
  90. Tighten the lower intake manifold bolts in 2 stages in the sequence shown in illustration.
    • Stage 1: Tighten to 5 Nm (44 lb-in).
    • Stage 2: Tighten to 10 Nm (89 lb-in).
    Fig 68: Tightening Lower Intake Manifold Bolts In Sequence
    G04003901Courtesy of FORD MOTOR CO.
  91. Install new O-ring seals on the fuel injectors.
    Fig 69: Installing O-Ring Seals On Fuel Injectors
    G03956375Courtesy of FORD MOTOR CO.
  92. NOTE: Lubricate the O-ring seals with clean engine oil to aid installation.
    Fig 70: Installing Fuel Injectors And Retaining Clips On Fuel Supply Manifold
    G04004150Courtesy of FORD MOTOR CO.
  93. Install the fuel injectors and retaining clips on the fuel supply manifold.
  94. Install the fuel supply manifold, fuel injectors and fuel charging harness as an assembly and install the bolts.
    • Tighten to 10 Nm (89 lb-in).
    Fig 71: Installing Fuel Supply Manifold, Fuel Injectors And Fuel Charging Harness Assembly
    G04004149Courtesy of FORD MOTOR CO.
  95. Using new gaskets, install the upper intake manifold and bolts.
    • Tighten the upper intake manifold bolts in 2 stages in the sequence shown in illustration.
      • Stage 1: Tighten to 6 Nm (53 lb-in).
      • Stage 2: Tighten to 10 Nm (89 lb-in).
    Fig 72: Installing Upper Intake Manifold And Bolts
    G04003892Courtesy of FORD MOTOR CO.
  96. Position the engine harness onto the engine and connect the engine harness-to-fuel charging harness electrical connector.
    Fig 73: Connecting Engine Harness-To-Fuel Charging Harness Electrical Connector
    G04004147Courtesy of FORD MOTOR CO.
  97. Position the vacuum harness onto the engine and connect the 2 vacuum harness connections.
    Fig 74: Connecting Vacuum Harness Connections
    G04004146Courtesy of FORD MOTOR CO.
  98. Install the ignition coil and bolts.
    • Tighten to 6 Nm (53 lb-in).
    Fig 75: Installing Ignition Coil And Bolts
    G04004287Courtesy of FORD MOTOR CO.
  99. Install the engine harness pin-type retainer and connect the ignition coil electrical connector.
    Fig 76: Installing Engine Harness Pin-Type Retainer
    G04004144Courtesy of FORD MOTOR CO.
  100. NOTE: Do not tighten the EGR system module-to-manifold tube lower fitting.
    Fig 77: Installing EGR System Module-To-Manifold Tube
    G04004289Courtesy of FORD MOTOR CO.
  101. Install the EGR system module-to-manifold tube.
  102. Connect the following:
    1. Idle air control (IAC) electrical connector
    2. Throttle position (TP) sensor electrical connector
    3. Exhaust gas recirculation (EGR) system module electrical connector
    4. EGR system module vacuum connector
    5. EGR system module-to-exhaust manifold tube upper fitting and tighten to 40 Nm (30 lb-ft)
    Fig 78: Connecting Electrical Connectors, Vacuum Connector & Module-To-Manifold Tube Upper Fitting
    G04004142Courtesy of FORD MOTOR CO.
  103. Tighten the EGR system module-to-manifold tube lower fitting.
    • Tighten to 40 Nm (30 lb-ft).
    Fig 79: Tightening EGR System Module-To-Manifold Tube Lower Fitting
    G04004022Courtesy of FORD MOTOR CO.
  104. Connect the cylinder head temperature (CHT) sensor electrical connector.
    Fig 80: Connecting Cylinder Head Temperature Sensor Electrical Connector
    G04004141Courtesy of FORD MOTOR CO.
  105. Install the 4 engine harness pin-type retainers.
    Fig 81: Installing Engine Harness Pin-Type Retainers
    G04003890Courtesy of FORD MOTOR CO.
  106. NOTE: Apply dielectric grease to the inside of the spark plug wire boots before attaching to the spark plugs and the ignition coil.
    Fig 82: Connecting Spark Plug Wires And Retainers Assembly
    G04004139Courtesy of FORD MOTOR CO.
  107. Install and connect the spark plug wires and retainers as an assembly.
  108. NOTE: Install a new oil level indicator tube O-ring seal.
    Fig 83: Installing Oil Level Indicator Tube And Retaining Nut
    G04004295Courtesy of FORD MOTOR CO.
  109. Install the oil level indicator tube and the retaining nut.
    • Tighten to 10 Nm (89 lb-in).
  110. Connect the quick disconnect crankcase vent hose to the intake manifold.
    Fig 84: Connecting Quick Disconnect Crankcase Vent Hose To Intake Manifold
    G04004137Courtesy of FORD MOTOR CO.
  111. Connect the quick disconnect crankcase vent hose and connect the crankcase vent hose valve electrical connector.
    Fig 85: Connecting Crankcase Vent Hose Valve Electrical Connector
    G04004136Courtesy of FORD MOTOR CO.
  112. Connect the intake manifold runner control (IMRC) electrical connector.
    Fig 86: Connecting Intake Manifold Runner Control Electrical Connector
    G04004135Courtesy of FORD MOTOR CO.
  113. Connect the CMP sensor electrical connector.
    Fig 87: Connecting CMP Sensor Electrical Connector
    G04004299Courtesy of FORD MOTOR CO.
  114. Connect the oil pressure sensor electrical connector and install the engine harness pin-type retainer.
    Fig 88: Connecting Oil Pressure Sensor Electrical Connector
    G04004133Courtesy of FORD MOTOR CO.
  115. Install the RH engine mount bracket.
    • Tighten to 48 Nm (35 lb-ft).
    Fig 89: Installing RH Engine Mount Bracket
    G04004132Courtesy of FORD MOTOR CO.
  116. Install the catalyst monitor sensor electrical connector bracket.
    • Tighten to 28 Nm (21 lb-ft).
    Fig 90: Installing Catalyst Monitor Sensor Electrical Connector Bracket
    G04003950Courtesy of FORD MOTOR CO.
  117. Connect the CKP sensor electrical connectors.
    Fig 91: Connecting CKP Sensor Electrical Connectors
    G04004130Courtesy of FORD MOTOR CO.
  118. Install the power steering pump bracket and mounting bolts.
    1. Tighten to 25 Nm (18 lb-ft).
    2. Tighten to 48 Nm (35 lb-ft).
    Fig 92: Installing Power Steering Pump Bracket And Mounting Bolts
    G04004304Courtesy of FORD MOTOR CO.
  119. Install the accessory drive belt tensioner and bolts.
    • Tighten to 25 Nm (18 lb-ft).
    Fig 93: Installing Accessory Drive Belt Tensioner And Bolts
    G04004128Courtesy of FORD MOTOR CO.
  120. NOTE: Install a new coolant pump outlet tube O-ring seal and lubricate with clean engine coolant.
    Fig 94: Installing Coolant Pump Outlet Tube
    G04004127Courtesy of FORD MOTOR CO.
  121. Install the coolant pump outlet tube.
    • Install the 2 bolts and tighten to 10 Nm (89 lb-in).
    • Connect the 3 coolant hoses.
      • Reposition the clamps.
  122. Install the A/C compressor bracket and bolts.
    • Tighten to 48 Nm (35 lb-ft).
    Fig 95: Installing A/C Compressor Bracket And Bolts
    G04004126Courtesy of FORD MOTOR CO.
  123. Install the A/C compressor mounting bracket brace and generator mounting bracket as an assembly and install the bolts.
    1. Tighten to 25 Nm (18 lb-ft).
    2. Tighten to 47 Nm (35 lb-ft).
    Fig 96: Installing A/C Compressor Mounting Bracket Brace And Generator Mounting Bracket
    G04004308Courtesy of FORD MOTOR CO.
  124. Install the coolant extension tube and bracket and bolt.
    • Tighten to 25 Nm (18 lb-ft).
    Fig 97: Installing Coolant Extension Tube And Bracket And Bolt
    G04004124Courtesy of FORD MOTOR CO.
  125. Install the generator and bolts.
    • Tighten to 25 Nm (18 lb-ft).
    Fig 98: Installing Generator And Bolts
    G04004123Courtesy of FORD MOTOR CO.
  126. Connect the generator.
    • Install the B+ wire terminal and nut and tighten to 8 Nm (71 lb-in).
    • Connect the generator electrical connector.
    Fig 99: Connecting Generator Electrical Connector
    G03955624Courtesy of FORD MOTOR CO.
  127. Install the accessory drive idler pulley and bolt.
    • Tighten to 47 Nm (35 lb-ft).
    Fig 100: Installing Accessory Drive Idler Pulley And Bolt
    G04004312Courtesy of FORD MOTOR CO.
  128. Install the coolant pump pulley and bolts.
    • Tighten to 11 Nm (8 lb-ft).
    Fig 101: Installing Coolant Pump Pulley And Bolts
    G03962021Courtesy of FORD MOTOR CO.
  129. NOTE: RH shown, LH similar.
    Fig 102: Installing Special Tools
    G04004105Courtesy of FORD MOTOR CO.
  130. Install the special tools.
  131. Install the engine lifting equipment.
    Fig 103: Installing Engine Lifting Equipment
    G04004106Courtesy of FORD MOTOR CO.
  132. Remove the engine from the stand.
  133. NOTE: Lubricate the crankshaft rear seal lips with clean engine oil prior to installation.
    Fig 104: Assembling Special Tools And Crankshaft Rear Seal
    G03962306Courtesy of FORD MOTOR CO.
  134. Assemble the special tools and the crankshaft rear seal.
  135. Install the special tools on the rear of the crankshaft.
    Fig 105: Installing Special Tools On Rear Of Crankshaft
    G03962307Courtesy of FORD MOTOR CO.
  136. Install the crankshaft rear seal. Tighten the center jack screw (303-S560) until the spacer (303-561) contacts the engine block.
    Fig 106: Installing Crankshaft Rear Seal
    G03962308Courtesy of FORD MOTOR CO.
  137. Install the flywheel and bolts.
    • Tighten to 80 Nm (59 lb-ft).
    Fig 107: Installing Flywheel And Bolts
    G04004118Courtesy of FORD MOTOR CO.