lemon-mirror:
Home >> Ford >> 2005 >> Freestar SE >> Repair and Diagnosis >> Transmission >> Automatic Trans >> Automatic Transmission >> Installation >> Transaxle >> Installation

Automatic Transmission: Installation: Transaxle: Installation

  1. Secure the transaxle on a high lift transmission jack. Apply multipurpose grease to the torque converter pilot hub.
    Fig 1: Applying Multipurpose Grease To Torque Converter Pilot Hub
    G03957427Courtesy of FORD MOTOR CO.
  2. Install the shift cable bracket and bolts.
    • Tighten to 23 Nm (17 lb-ft).
    Fig 2: Installing Shift Cable Bracket And Bolts
    G04005403Courtesy of FORD MOTOR CO.
  3. If not previously installed, install the heat shield.
    Fig 3: Installing Heat Shield
    G04004721Courtesy of FORD MOTOR CO.
  4. If not previously installed, install the rear engine support bracket.
    • Tighten to 62 Nm (46 lb-ft).
    Fig 4: Installing Rear Engine Support Bracket
    G03956892Courtesy of FORD MOTOR CO.
  5. Verify the position of the special tools.
    Fig 5: Verifying Position Of Special Tools
    G04004686Courtesy of FORD MOTOR CO.
  6. Position the transaxle to the back of the engine.
  7. Position the transaxle to the engine assembly, and install the transaxle retaining bolts.
    • Tighten to 47 Nm (35 lb-ft).
    Fig 6: Installing Transaxle Retaining Bolts
    G04005317Courtesy of FORD MOTOR CO.
  8. Install the oil pan-to-transaxle case bolt.
    • Tighten to 62 Nm (46 lb-ft).
    Fig 7: Installing Oil Pan-To-Transaxle Case Bolt (1 Of 2)
    G04005318Courtesy of FORD MOTOR CO.
  9. Install the oil pan-to-transaxle case bolt.
    • Tighten to 62 Nm (46 lb-ft).
    Fig 8: Installing Oil Pan-To-Transaxle Case Bolt (2 Of 2)
    G04005319Courtesy of FORD MOTOR CO.
  10. Install the front lower retaining bolt.
    • Tighten to 62 Nm (46 lb-ft).
    Fig 9: Installing Front Lower Retaining Bolt
    G04004819Courtesy of FORD MOTOR CO.
  11. Install the rear lower retaining bolt.
    • Tighten to 62 Nm (46 lb-ft).
    Fig 10: Installing Rear Lower Retaining Bolt
    G04004818Courtesy of FORD MOTOR CO.
  12. Remove the high-lift transmission jack.
  13. Connect the turbine shaft speed (TSS) sensor electrical connector.
    Fig 11: Connecting Turbine Shaft Speed (TSS) Sensor Electrical Connector
    G04004099Courtesy of FORD MOTOR CO.
  14. Connect the output shaft speed (OSS) sensor electrical connector.
    Fig 12: Connecting Output Shaft Speed (OSS) Sensor Electrical Connector
    G04004815Courtesy of FORD MOTOR CO.
  15. Install the RH halfshaft.
    Fig 13: Installing RH Halfshaft
    G03957434Courtesy of FORD MOTOR CO.
  16. Install the LH halfshaft.
    Fig 14: Installing LH Halfshaft
    G03957468Courtesy of FORD MOTOR CO.
  17. NOTE: Locate and align the orange dot adjacent to the stud on the torque converter with the orange dot on the flexplate.
    Fig 15: Installing Torque Converter Nuts
    G04004812Courtesy of FORD MOTOR CO.
  18. Install 4 new torque converter nuts.
    • Tighten to 35 Nm (26 lb-ft).
  19. Install the 2-piece transaxle housing cover.
    Fig 16: Installing 2-Piece Transaxle Housing Cover
    G04004811Courtesy of FORD MOTOR CO.
  20. Install the push pin for the inspection cover.
    Fig 17: Installing Push Pin For Inspection Cover
    G04004810Courtesy of FORD MOTOR CO.
  21. Tighten the transaxle inspection cover bolt and push pin.
    • Tighten to 10 Nm (89 lb-in).
    Fig 18: Tightening Transaxle Inspection Cover Bolt And Push Pin
    G04005329Courtesy of FORD MOTOR CO.
  22. Install the starter motor.
    • Tighten to 25 Nm (18 lb-ft).
    Fig 19: Installing Starter Motor
    G04004808Courtesy of FORD MOTOR CO.
  23. Install the ground strap.
    • Tighten to 20 Nm (15 lb-ft).
    Fig 20: Installing Ground Strap
    G04005331Courtesy of FORD MOTOR CO.
  24. Raise the subframe assembly into position. Connect the heat shield to the subframe.
  25. Using a 19 mm (0.76 in) dowel, check the front subframe alignment.
    • The dowel should slide directly through the front subframe and body without tilting.
    Fig 21: Checking Front Subframe Alignment Using Dowel
    G04000473Courtesy of FORD MOTOR CO.
  26. Install the sway bar assembly.
    Fig 22: Installing Sway Bar Assembly
    G04005333Courtesy of FORD MOTOR CO.
  27. Install 2 bolts for the RH sway bar retainer.
    • Tighten to 62 Nm (46 lb-ft).
    Fig 23: Installing 2 Bolts For RH Sway Bar Retainer
    G04004804Courtesy of FORD MOTOR CO.
  28. Install 2 bolts for the LH sway bar retainer.
    • Tighten to 62 Nm (46 lb-ft).
    Fig 24: Installing 2 Bolts For LH Sway Bar Retainer
    G04005335Courtesy of FORD MOTOR CO.
  29. Install the right rear subframe bolt.
    • Tighten to 90 Nm (66 lb-ft).
    Fig 25: Installing Right Rear Subframe Bolt
    G04005336Courtesy of FORD MOTOR CO.
  30. Install the left rear subframe bolt.
    • Tighten to 90 Nm (66 lb-ft).
    Fig 26: Installing Left Rear Subframe Bolt
    G04005337Courtesy of FORD MOTOR CO.
  31. Install the right front subframe bolt.
    • Tighten to 90 Nm (66 lb-ft).
    Fig 27: Installing Right Front Subframe Bolt
    G04005338Courtesy of FORD MOTOR CO.
  32. Install the left front subframe bolt.
    • Tighten to 90 Nm (66 lb-ft).
    Fig 28: Installing Left Front Subframe Bolt
    G04005339Courtesy of FORD MOTOR CO.
  33. Install the rear engine mount.
    • Tighten to 90 Nm (66 lb-ft).
    Fig 29: Installing Rear Engine Mount
    G04005340Courtesy of FORD MOTOR CO.
  34. Install the front engine mount.
    • Tighten to 90 Nm (66 lb-ft).
    Fig 30: Installing Front Engine Mount
    G04005341Courtesy of FORD MOTOR CO.
  35. Install the retainer for the power steering line.
    • Tighten to 6 Nm (53 lb-in).
    Fig 31: Installing Retainer For Power Steering Line
    G04005342Courtesy of FORD MOTOR CO.
  36. Install the retainer for the power steering hose.
    Fig 32: Installing Retainer For Power Steering Hose
    G04004795Courtesy of FORD MOTOR CO.
  37. Install the nuts for the power steering rack.
    • Tighten to 133 Nm (98 lb-ft).
    Fig 33: Installing Nuts For Power Steering Rack
    G04005344Courtesy of FORD MOTOR CO.
  38. Connect the RH knuckle assembly.
    1. Connect the RH tie rod assembly.
      • Tighten to 55 Nm (41 lb-ft).
    2. Connect the RH sway bar assembly.
      • Tighten to 55 Nm (41 lb-ft).
    3. Install the RH pinch bolt.
      • Tighten to 62 Nm (46 lb-ft).
    Fig 34: Connecting RH Knuckle Assembly
    G04005345Courtesy of FORD MOTOR CO.
  39. Connect the LH knuckle assembly.
    1. Connect the LH tie rod assembly.
      • Tighten to 55 Nm (41 lb-ft).
    2. Connect the LH sway bar assembly.
      • Tighten to 55 Nm (41 lb-ft).
    3. Install the LH pinch bolt.
      • Tighten to 62 Nm (46 lb-ft).
    Fig 35: Connecting LH Knuckle Assembly
    G04005346Courtesy of FORD MOTOR CO.
  40. Install the catalytic converter assembly. For additional information, refer to EXHAUST SYSTEM .
  41. Install the rear transaxle mount nut.
    • Tighten to 90 Nm (66 lb-ft).
    Fig 36: Installing Rear Transaxle Mount Nut
    G04004758Courtesy of FORD MOTOR CO.
  42. Install the anti-roll bracket and the 4 bolts.
    • Tighten to 62 Nm (46 lb-ft).
    Fig 37: Installing Anti-Roll Bracket
    G04004757Courtesy of FORD MOTOR CO.
  43. Install the 2 transaxle retaining bolts.
    • Tighten to 62 Nm (46 lb-ft).
    Fig 38: Installing 2 Transaxle Retaining Bolts
    G04004786Courtesy of FORD MOTOR CO.
  44. Connect the transaxle fluid cooler tubes.
    Fig 39: Connecting Transaxle Fluid Cooler Tubes
    G04005350Courtesy of FORD MOTOR CO.
  45. Install the retaining clips.
    Fig 40: Installing Retaining Clips
    G04005351Courtesy of FORD MOTOR CO.
  46. Install the upper transaxle fluid filler tube and bolt.
    • Tighten to 14 Nm (10 lb-ft).
    Fig 41: Installing Upper Transaxle Fluid Filler Tube And Bolt
    G04005352Courtesy of FORD MOTOR CO.
  47. Install the oil filler cap.
    Fig 42: Installing Oil Filler Cap
    G04004683Courtesy of FORD MOTOR CO.
  48. Install the hood latch.
    • Tighten to 12 Nm (9 lb-ft).
    Fig 43: Installing Hood Latch
    G04005354Courtesy of FORD MOTOR CO.
  49. Install the front upper radiator shield.
    Fig 44: Installing Front Upper Radiator Shield
    G04004681Courtesy of FORD MOTOR CO.
  50. Install the air intake tube.
    Fig 45: Installing Air Intake Tube
    G04004680Courtesy of FORD MOTOR CO.
  51. Install the passenger compartment air intake box.
    Fig 46: Installing Passenger Compartment Air Intake Box
    G04004679Courtesy of FORD MOTOR CO.
  52. Install the wiper arm and pivot assembly. For additional information, refer to BODY SYSTEM - GENERAL INFORMATION .
  53. Install the hood.
  54. Verify that the digital transmission range (TR) sensor is correctly adjusted. For additional information, refer to DIGITAL TRANSMISSION RANGE (TR) SENSOR .
  55. Install the manual control lever and nut.
    • Tighten to 13 Nm (10 lb-ft).
    Fig 47: Installing Manual Control Lever And Nut
    G04005358Courtesy of FORD MOTOR CO.
  56. Reconnect the harness retainer.
    Fig 48: Connecting Harness Retainer
    G04004773Courtesy of FORD MOTOR CO.
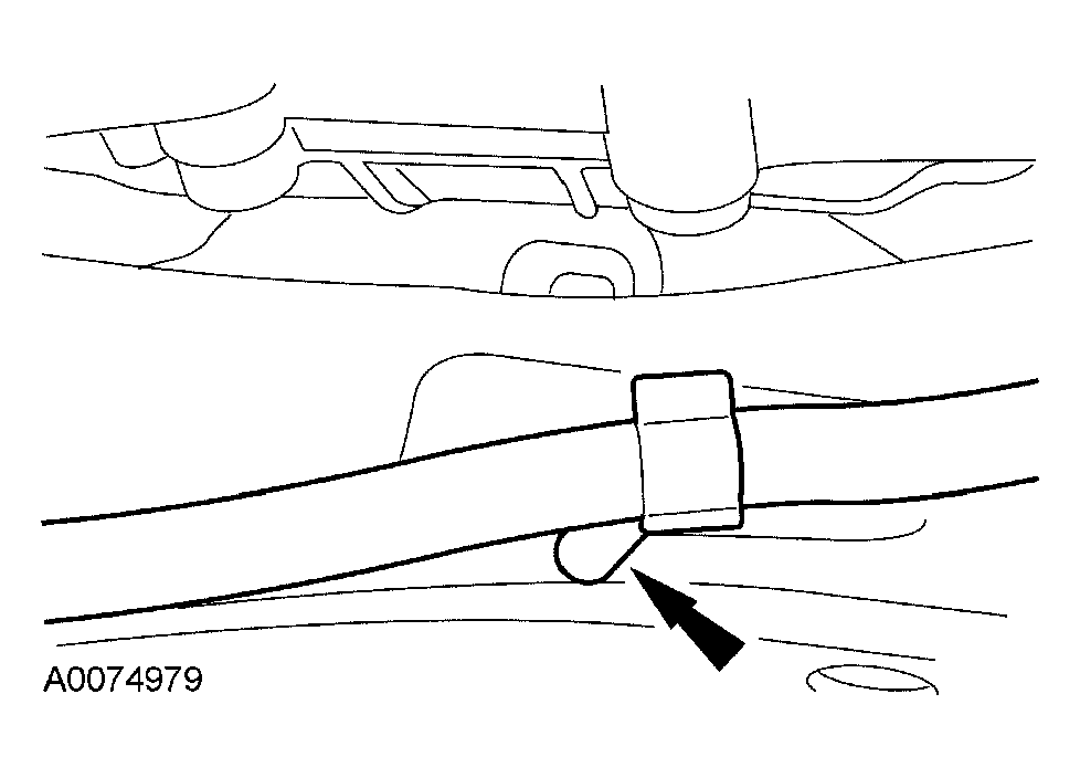
  57. Install the shift cable in the bracket.
    Fig 49: Installing Shift Cable In Bracket
    G04005360Courtesy of FORD MOTOR CO.
  58. Connect the shift cable to the manual control lever.
    Fig 50: Connecting Shift Cable To Manual Control Lever
    G04004660Courtesy of FORD MOTOR CO.
  59. Connect the electrical connectors.
    1. Connect the TR sensor electrical connector.
    2. Connect the transaxle electrical connector
    3. Connect the speed control electrical connector.
    Fig 51: Connecting Electrical Connectors
    G04004678Courtesy of FORD MOTOR CO.
  60. Install the air cleaner assembly. For additional information, refer to FUEL CHARGING & CONTROLS .
    Fig 52: Installing Air Cleaner Assembly
    G04004658Courtesy of FORD MOTOR CO.
  61. Install the air cleaner tube and tighten the hose clamps.
    Fig 53: Installing Air Cleaner Tube
    G04004657Courtesy of FORD MOTOR CO.
  62. NOTE: When the battery is disconnected and reconnected, some abnormal drive symptoms may occur while the vehicle relearns its adaptive shift strategy.
  63. Install the battery. For additional information, refer to CHARGING SYSTEM - GENERAL INFORMATION .
  64. Fill the transaxle using clean automatic transmission fluid.
  65. Start the engine. Move the transaxle range selector lever through all positions. Check the fluid level. For additional information, refer PRELIMINARY INSPECTION .