lemon-mirror:
Home >> Ford >> 2005 >> Mustang Base, 2D Convertible, Automatic >> Repair and Diagnosis >> Transmission >> Automatic Trans >> Automatic Transmission >> Assembly >> Transmission

Automatic Transmission: Assembly: Transmission

SPECIAL TOOLS

G03985448Courtesy of FORD MOTOR CO.
Adjustment Set, Transmission Band 307-S022 (T71P-77370-A)
G03912866Courtesy of FORD MOTOR CO.
Holding Fixture, Transmission 307-003 (T57L-500-B)
G03901177Courtesy of FORD MOTOR CO.
Depth Micrometer 303-D026 (D80P-4201-A) or equivalent
G03888878Courtesy of FORD MOTOR CO.
Alignment Gauge, TR Sensor 307--351 (T97L-70010-A)
G03964712Courtesy of FORD MOTOR CO.
Installer, Transmission Extension Housing Oil Seal 307-038 (T74P-77052-A)
G03949081Courtesy of FORD MOTOR CO.
Sizer, Piston Seal 307--338 (T95L-70010-G)
G04008394Courtesy of FORD MOTOR CO.
Alignment Set, Fluid Pump 307-S039 (T74P-77103-X)
G03949083Courtesy of FORD MOTOR CO.
Aligner, Fluid Pump Handle 307--431
G03997480Courtesy of FORD MOTOR CO.
Aligner, Fluid Pump Pilot 307--432
G03985457Courtesy of FORD MOTOR CO.
Gauge Bar 307--400
G03997617Courtesy of FORD MOTOR CO.
Compressor, Servo Cover 307--402
G03930030Courtesy of FORD MOTOR CO.
Installer, Shift Shaft Fluid Seal 307-050 (T74P-77498-A)
G03914889Courtesy of FORD MOTOR CO.
Handle, Torque Converter 307-091 (T81P-7902-C)
G03949089Courtesy of FORD MOTOR CO.
Compressor, Cushion Spring 307--401
G03974982Courtesy of FORD MOTOR CO.
Aligner, Valve Body 307--334 (T95L-70010-C)
G03949091Courtesy of FORD MOTOR CO.
Alignment Pins, Transmission Pump 307--399
G03949092Courtesy of FORD MOTOR CO.
Aligner, Flex Plate 307--403
G03948552Courtesy of FORD MOTOR CO.
Air Test Plate 307-433-01, 307-433-2, 307-433-3
G04008227Courtesy of FORD MOTOR CO.
Installer, Drive Pinion flange 205--479
G04008228Courtesy of FORD MOTOR CO.
Installer, Output Shaft Flange 307--404
MATERIAL SPECIFICATIONS

Item Specification
MERCON® V Automatic Transmission Fluid XT-5-QM MERCON® V
Multi-Purpose Grease XG-4 ESR-M1C159-A
  1. Thoroughly clean the transmission case and extension housing in solvent and blow dry with compressed air.
  2. Inspect the transmission case for the following:
    • Stripped bolt hole threads
    • Gasket and mating surfaces for burrs or nicks
    • Obstructions to vent and fluid passages
    • Cracks or warpage
      Fig 1: Inspecting Transmission Case
      G03949101Courtesy of FORD MOTOR CO.
  3. Inspect the extension housing for cracks, burrs or warpage.
    Fig 2: Inspecting Extension Housing
    G03985469Courtesy of FORD MOTOR CO.
  4. Inspect the case bearing for damage. If damage to the case bearing is indicated, install a new case.
    Fig 3: Identifying Case Bearing
    G03949104Courtesy of FORD MOTOR CO.
  5. WARNING: Make sure the lock pin on bench-mounted holding fixture is secure. Failure to follow these instructions may result in personal injury.
    Fig 4: Installing Transmission Into Bench With Converter Housing Facing Up
    G03949105Courtesy of FORD MOTOR CO.
  6. Using the special tool, install the transmission into the bench with the converter housing facing up.
  7. Using the special tool, install the manual control lever shaft seal and lubricate it with petroleum jelly.
    Fig 5: Installing Manual Control Lever Shaft Seal
    G03949106Courtesy of FORD MOTOR CO.
  8. Install the parking lever rod.
    Fig 6: Identifying Parking Lever Actuating Rod
    G03948937Courtesy of FORD MOTOR CO.
  9. Install the manual control lever.
    Fig 7: Identifying Manual Control Valve Inner Lever
    G03948936Courtesy of FORD MOTOR CO.
  10. Assemble the manual valve inner lever and parking lever actuating rod as shown.
    Fig 8: Locating Manual Valve Inner Lever At Parking Lever Actuating Rod
    G03948935Courtesy of FORD MOTOR CO.
  11. CAUTION: Align the flats on the manual valve inner lever with the flats on the manual control lever shaft.
    Fig 9: Identifying Manual Control Lever Shaft
    G03985476Courtesy of FORD MOTOR CO.
  12. Install the manual control lever shaft.
  13. Install the manual valve inner lever onto the manual shaft and loosely install the nut.
    Fig 10: Locating Manual Valve Inner Lever And Mounting Nut
    G03985477Courtesy of FORD MOTOR CO.
  14. CAUTION: Use care not to damage the fluid pan rail surface when installing the retaining pin.
    NOTE: Align the manual control lever shaft alignment groove with the manual control lever shaft spring pin bore in the transmission case.
  15. Install the manual control lever shaft spring pin.
    • Tap the manual control lever shaft spring pin into the transmission case.
      Fig 11: Identifying Manual Control Lever Shaft Spring Pin
      G03985478Courtesy of FORD MOTOR CO.
  16. CAUTION: To avoid damage, do not allow the wrench to strike the manual valve inner lever pin.
  17. Tighten the nut.
    • Tighten to 48 Nm (35 lb-ft).
      Fig 12: Tightening Nut
      G03985479Courtesy of FORD MOTOR CO.
  18. CAUTION: The tabs on the output shaft thrust washer (No. 11) point into the case. Make sure the thrust washer is correctly seated.
  19. Install the output shaft thrust washer (No. 11).
    • Coat the output shaft thrust washer with petroleum jelly.
      Fig 13: Installing Output Shaft Thrust Washer No. 11
      G03985303Courtesy of FORD MOTOR CO.
  20. Install the park gear on the output shaft.
    Fig 14: Identifying Park Gear On Output Shaft
    G03949115Courtesy of FORD MOTOR CO.
  21. Install the output shaft and park gear.
    Fig 15: Identifying Output Shaft And Park Gear
    G03985302Courtesy of FORD MOTOR CO.
  22. Install the low/reverse brake drum.
    • Rotate the low/reverse brake drum clockwise to install.
      Fig 16: Identifying Low/Reverse Brake Drum
      G03948927Courtesy of FORD MOTOR CO.
  23. CAUTION: Make sure band is resting on the 2 anchor pins in the case.
    Fig 17: Identifying Low/Reverse Band
    G03948929Courtesy of FORD MOTOR CO.
  24. Install the low/reverse band over the reverse drum.
  25. NOTE: The reverse band actuating lever must fit into the notches in the band.
    Fig 18: Identifying Reverse Band Actuating Lever
    G03948926Courtesy of FORD MOTOR CO.
  26. Install the reverse band actuating lever into the reverse band.
  27. Install the reverse band actuating lever shaft into the case and into the reverse band actuating lever.
    Fig 19: Identifying Reverse Band Actuating Lever Shaft
    G03985297Courtesy of FORD MOTOR CO.
  28. Install the No. 10 needle bearing into the case.
    Fig 20: Identifying Low Intermediate Sun Gear Bearing
    G03948924Courtesy of FORD MOTOR CO.
  29. CAUTION: Do not damage the seal against the case during assembly.
    Fig 21: Identifying Output Shaft Ring Gear
    G03948923Courtesy of FORD MOTOR CO.
  30. Install the output shaft ring gear, hub and seal.
  31. CAUTION: Always install a new output shaft retaining ring.
    Fig 22: Identifying Output Shaft Retaining Ring
    G03948922Courtesy of FORD MOTOR CO.
  32. Install a new output shaft retaining ring.
  33. NOTE: Install the output shaft sleeve with the cone facing up. This sleeve will snap into place when correctly installed.
    Fig 23: Identifying Output Shaft Sleeve
    G03949124Courtesy of FORD MOTOR CO.
  34. Install the output shaft sleeve.
  35. Install low/reverse planetary carrier needle bearing (No. 9) onto the output shaft ring gear and hub assembly.
    Fig 24: Identifying Thrust Bearing
    G03948920Courtesy of FORD MOTOR CO.
  36. CAUTION: Make sure the needle bearings stay in place.
    Fig 25: Identifying Low/Reverse Planetary Assembly
    G03948919Courtesy of FORD MOTOR CO.
  37. Install the low/reverse planetary assembly.
  38. CAUTION: The low/reverse brake drum must be pulled forward to install the low/reverse planet retaining ring.
    Fig 26: Identifying Retaining Ring
    G03949127Courtesy of FORD MOTOR CO.
  39. Install the retaining ring.
  40. Install the No. 8 thrust bearing.
    Fig 27: Identifying Thrust Bearing
    G03948917Courtesy of FORD MOTOR CO.
  41. Install the spacer on the input shell, using petroleum jelly to hold it in place.
    Fig 28: Installing Spacer On Input Shell
    G03949129Courtesy of FORD MOTOR CO.
  42. Install the input shell and sun gear assembly.
    Fig 29: Identifying Input Shell And Sun Gear Assembly
    G03948915Courtesy of FORD MOTOR CO.
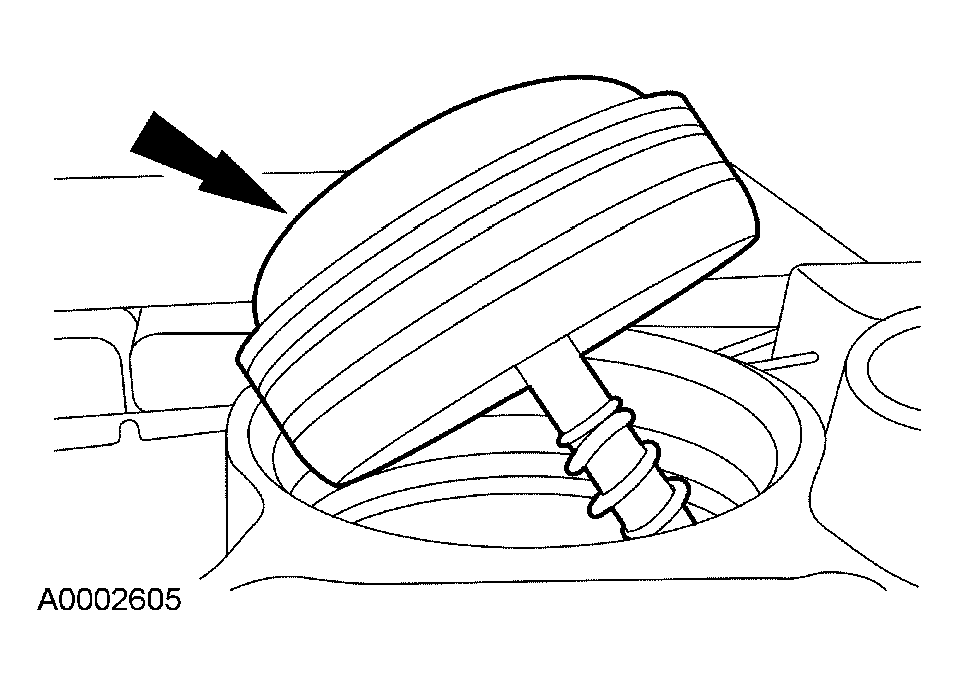
  43. NOTE: The No. 13 bearing must be properly seated in the forward planet assembly so the sun gear can be installed correctly.
    Fig 30: Identifying Forward Planetary Assembly
    G03948914Courtesy of FORD MOTOR CO.
  44. Install the forward planetary assembly.
  45. Install the No. 7 forward planet thrust bearing into the forward ring gear and hub assembly. Use petroleum jelly to hold the bearing in place.
    Fig 31: Identifying Forward Planet Thrust Bearing
    G03948913Courtesy of FORD MOTOR CO.
  46. Install the No. 6B forward clutch thrust washer onto the forward ring gear hub.
    Fig 32: Identifying Forward Clutch Thrust Washer
    G03948912Courtesy of FORD MOTOR CO.
  47. Install the forward ring gear and hub as an assembly.
    Fig 33: Identifying Forward Ring Gear And Hub
    G03948911Courtesy of FORD MOTOR CO.
  48. Install the No. 6A forward ring gear hub thrust bearing into the forward ring gear and hub.
    Fig 34: Installing No. 6A Forward Ring Gear Hub Thrust Bearing Into Forward Ring Gear And Hub
    G03949135Courtesy of FORD MOTOR CO.
  49. Install the forward clutch cylinder.
    Fig 35: Identifying Forward Clutch Cylinder
    G03948909Courtesy of FORD MOTOR CO.
  50. Install the No. 5 thrust bearing.
    Fig 36: Identifying Thrust Bearing
    G03948908Courtesy of FORD MOTOR CO.
  51. Install the intermediate servo piston and spring.
    • Lubricate the servo bore with clean automatic transmission fluid.
      Fig 37: Identifying Intermediate Servo Piston And Spring
      G03949138Courtesy of FORD MOTOR CO.
  52. Using the special tool, install the retaining ring.
    Fig 38: Installing Retaining Ring
    G03948882Courtesy of FORD MOTOR CO.
  53. Install the direct clutch drum.
    Fig 39: Identifying Direct Clutch Drum
    G03948907Courtesy of FORD MOTOR CO.
  54. Using a depth micrometer with an 8-inch extension, measure from the top of the gauge bar to center support ledge in case at 4 places 90 degrees apart.
    • Add the 4 measurements, divide by 4, and record as dimension A.
      Fig 40: Measuring Top Of Gauge Bar To Center Support Ledge In Case
      G03949141Courtesy of FORD MOTOR CO.
  55. CAUTION: The torque specifications are critical for this procedure. Failure to use the correct torque specifications may cause transmission damage.
  56. Install the special tool.
    1. Install the special tool and the bolts using the 2 pump screw locations at approximately 6 and 12 o'clock positions.
      • Tighten to 15 Nm (11 lb-ft).
    2. Tighten the center screw.
      • Tighten to 1 Nm (10 lb-in).
        Fig 41: Installing Special Tool And Bolts Using Pump Screw
        G03985508Courtesy of FORD MOTOR CO.
  57. NOTE: Align the disc holes on special tool with the slot in gauge bar for correct measurement.
    Fig 42: Measuring Distance From Top Of Gauge Bar To Drum Bearing Surface
    G03949143Courtesy of FORD MOTOR CO.
  58. Measure the distance from the top of the gauge bar to the drum bearing surface through the hole in the disc and record as dimension B. Repeat measurement 180 degrees opposite side of the special tool and record as dimension C.
  59. Add dimension B to C, divide by 2 and record as dimension D.
  60. Subtract A from D, and record as dimension E.
  61. Select bearing from the following chart, using dimension E.
    BEARING SPECIFICATIONS

    Dimension E Service Part Number (7D014) Bearing Thickness Identification (Notches)
    1.69--1.87 mm (0.066--0.074 in) XW4Z-CA 2.65--2.80 mm (0.104--0.110 in) None
    1.88--2.04 mm (0.073--0.080 in) XW4X-DA 2.83--2.98 mm (0.111--0.116 in) One
    2.05--2.22 mm (0.081--0.088 in) XW4Z-EA 3.01--3.16 mm (0.118--0.124 in) Two
    2.23--2.43 mm (0.088--0.096 in) XW4Z-FA 3.21--3.36 mm (0.126--0.132 in) Three
  62. NOTE: Make sure that the intermediate band apply strut is aligned with the band notch.
    NOTE: If the intermediate band is reused, it must be installed in the same position as when removed.
    NOTE: The new intermediate band is dark in color. This is a normal condition of the band. Hairline cracks in the band are also considered normal. Do not install a new band based solely on the color.
    Fig 43: Identifying Intermediate Band
    G03948904Courtesy of FORD MOTOR CO.
  63. Install the intermediate band.
  64. Install the intermediate band anchor strut.
    Fig 44: Identifying Intermediate Band Anchor Strut
    G03948903Courtesy of FORD MOTOR CO.
  65. CAUTION: To avoid a "fall-out" condition of the strut from the screw during assembly and function, the small "U" shape notch should be toward the band/case side and the large "U" shape notch toward the main control side.
  66. Position the strut in the transmission case.
    1. Band/case side of the anchor (small U notch).
    2. Main control side of the anchor (large U notch).
      Fig 45: Identifying Small Notch And Large Notch
      G03949145Courtesy of FORD MOTOR CO.
  67. CAUTION: If the strut is installed incorrectly, transmission damage will occur.
    Fig 46: Identifying Intermediate Band Anchor Strut Position
    G03949147Courtesy of FORD MOTOR CO.
  68. Check to make sure that the intermediate band anchor strut is installed in the correct orientation to the case and adjustment screw.
  69. Loosely install the screw.
    Fig 47: Locating Screw
    G03949148Courtesy of FORD MOTOR CO.
  70. Install the intermediate band apply strut.
    Fig 48: Installing Intermediate Band Apply Strut
    G03948905Courtesy of FORD MOTOR CO.
  71. CAUTION: If the strut is installed incorrectly, transmission damage will occur.
    Fig 49: Identifying Intermediate Band Apply Strut Position
    G03949150Courtesy of FORD MOTOR CO.
  72. Check to make sure that the intermediate band apply strut is installed in the correct orientation to the case and piston rod.
  73. Install the selected No. 4 thrust washer on the direct clutch drum.
    • Coat the thrust washer with petroleum jelly.
      Fig 50: Identifying Intermediate Brake Drum Thrust Washer
      G03948902Courtesy of FORD MOTOR CO.
  74. NOTE: Align the center support screw hole with correct case hole.
    Fig 51: Installing Center Support
    G03948897Courtesy of FORD MOTOR CO.
  75. Install the center support.
  76. Install the center support locknut and cage.
    Fig 52: Locating Center Support Locknut And Cage
    G03948895Courtesy of FORD MOTOR CO.
  77. Loosely install the screw.
    Fig 53: Installing Screw
    G03949154Courtesy of FORD MOTOR CO.
  78. CAUTION: Install the center support retaining ring with the tapered side facing up.
    CAUTION: Make sure the notch opening is not obstructed by the center support retaining ring.
  79. Install the center support retaining ring.
    1. Make sure the center support retaining ring is installed with the tapered side facing up.
    2. Make sure the opening of the center support retaining ring is positioned correctly.
      Fig 54: Installing Center Support Retaining Ring
      G03949155Courtesy of FORD MOTOR CO.
  80. Install the center shaft thrust bearing (No. 3).
    Fig 55: Identifying Center Shaft Thrust Bearing
    G03948893Courtesy of FORD MOTOR CO.
  81. Install the overdrive ring gear, overdrive one-way clutch and center shaft assembly.
    Fig 56: Identifying Overdrive Ring Gear
    G03948892Courtesy of FORD MOTOR CO.
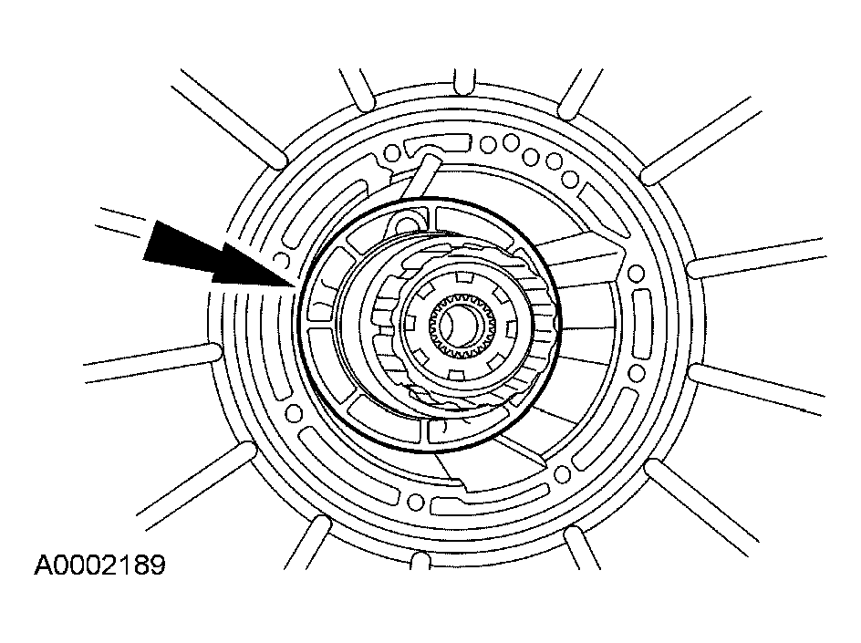
  82. CAUTION: Do not bend the trigger wheel. Make sure that the No. 2 thrust bearing is in this assembly.
    Fig 57: Identifying Planetary Gear Overdrive Carrier
    G03948890Courtesy of FORD MOTOR CO.
  83. Install the planetary gear overdrive carrier.
  84. Install the overdrive brake drum and coast clutch drum assembly.
    Fig 58: Identifying Overdrive Brake And Coast Clutch Drum
    G03948889Courtesy of FORD MOTOR CO.
  85. Install the overdrive band servo piston and spring.
    • Lubricate the servo bore with clean automatic transmission fluid.
      Fig 59: Identifying Overdrive Band Servo Piston
      G03949160Courtesy of FORD MOTOR CO.
  86. Using the special tools, install the retaining ring.
    Fig 60: Installing Retaining Ring
    G03949161Courtesy of FORD MOTOR CO.
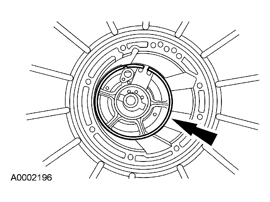
  87. NOTE: If the overdrive band is reused, it must be installed in the same position as when removed.
    NOTE: Make sure that the overdrive band apply strut is aligned with the band notch.
    NOTE: The new overdrive band is dark in color. This is a normal condition of the band. Hairline cracks in the band are also considered normal. Do not install a new band based solely on the color.
    Fig 61: Identifying Overdrive Band
    G03948888Courtesy of FORD MOTOR CO.
  88. Install the overdrive band.
  89. Install the overdrive anchor strut.
    Fig 62: Identifying Overdrive Anchor Strut
    G03949164Courtesy of FORD MOTOR CO.
  90. CAUTION: To avoid a "fall-out" condition of the strut from the screw during assembly and function, the small "U" shape notch should be toward the band/case side and the large "U" shape notch toward the main control side.
  91. Position the strut in the transmission case.
    1. Band/case side of the anchor (small U notch).
    2. Main control side of the anchor (large U notch).
      Fig 63: Identifying Small Notch And Large Notch
      G03949145Courtesy of FORD MOTOR CO.
  92. CAUTION: If the strut is installed incorrectly, transmission damage will occur.
    Fig 64: Identifying Intermediate Band Anchor Strut Position
    G03949147Courtesy of FORD MOTOR CO.
  93. Check to make sure that the intermediate band anchor strut is installed in the correct orientation to the case and adjustment screw.
  94. CAUTION: If the strut is installed incorrectly, transmission damage will occur.
    Fig 65: Identifying Overdrive Band Anchor Strut Position
    G03985532Courtesy of FORD MOTOR CO.
  95. Check to make sure that the overdrive band anchor strut is installed in the correct orientation to the case and adjustment screw.
  96. Loosely install the screw.
    Fig 66: Locating Screw
    G03948886Courtesy of FORD MOTOR CO.
  97. Install the overdrive apply strut.
    Fig 67: Identifying Overdrive Apply Strut
    G03949167Courtesy of FORD MOTOR CO.
  98. CAUTION: If the strut is installed incorrectly, transmission damage will occur.
    Fig 68: Identifying Overdrive Band Apply Strut Position
    G03949168Courtesy of FORD MOTOR CO.
  99. Check to make sure that the overdrive band apply strut is installed in the correct orientation to the case and piston rod.
  100. CAUTION: The torque specifications are critical for this procedure. Failure to use the correct torque specifications may cause transmission damage.
  101. Install the special tool.
    1. Install the special tool and the bolts using the 2 pump screw locations at approximately 6 and 12 o'clock positions.
      • Tighten to 15 Nm (11 lb-ft).
    2. Tighten the center screw.
      • Tighten to 1 Nm (10 lb-in).
        Fig 69: Tightening Center Screw
        G03985536Courtesy of FORD MOTOR CO.
  102. NOTE: Align the disc holes on special tool with the slot in gauge bar for correct measurement.
    Fig 70: Measuring Distance From Top Of Gauge Bar To Drum Bearing Surface
    G03949170Courtesy of FORD MOTOR CO.
  103. Measure the distance from the top of the gauge bar to the drum bearing surface through the hole in the disc and record as dimension A. Repeat measurement 180 degrees opposite side of the special tool and record as dimension B.
  104. Add dimension A to B, divide by 2 and record as dimension C.
  105. Subtract the thickness of the gauge bar 17.78 mm (0.70 in) from dimension C, and record as dimension D.
  106. Select the No. 1 thrust bearing from the following chart using dimension D.
    THRUST BEARING SPECIFICATIONS

    Dimension D Service Part Number (7D014) Bearing Thickness Identification (Color/ID)
    38.05--38.13 mm (1.50 in) F7TZ-TA 1.55--1.60 mm (0.061--0.063 in) White
    38.14--38.28 mm (1.50--1.51 in) F7TZ-MA 1.75--1.80 mm (0.069--0.071 in) Green
    38.29--38.42 mm (1.51 in) F7TZ-NA 1.85--1.90 mm (0.073--0.075 in) Red
    38.43--38.61 mm (1.51--1.52 in) F7TZ-RA 2.05--2.10 mm (0.081--0.083 in) Black
    38.62--38.74 mm (1.52--1.53 in) F7TZ-SA 2.15--2.20 mm (0.095--0.097 in) Yellow
  107. Install the selected No. 1 fluid pump input thrust washer.
    • Coat the fluid pump input thrust washer with petroleum jelly.
      Fig 71: Installing Selected No. 1 Fluid Pump Input Thrust Washer
      G03949171Courtesy of FORD MOTOR CO.
  108. Install the special tools into the transmission case.
    Fig 72: Installing Special Tools Into Transmission Case
    G03949172Courtesy of FORD MOTOR CO.
  109. Install the pump gasket.
    Fig 73: Locating Pump Gasket
    G03949173Courtesy of FORD MOTOR CO.
  110. CAUTION: Make sure that the fluid pump inlet thrust washer (No. 1), selective thrust washer, fluid pump gasket and the fluid pump-to-case O-ring seal remain in the correct position throughout this step.
    Fig 74: Installing Fluid Pump
    G03949174Courtesy of FORD MOTOR CO.
  111. Install the fluid pump.
  112. CAUTION: The special tools must be used to correctly align the pump with the adapter plate to reduce gear noise, bushing failure and leakage.
    Fig 75: Aligning Fluid Pump To Adapter Plate
    G03949175Courtesy of FORD MOTOR CO.
  113. Using the special tool, align the fluid pump to the adapter plate.
  114. Install screws. Tighten the screws in a star pattern.
    • Tighten to 25 Nm (18 lb-ft).
      Fig 76: Tightening Screws In Star Pattern
      G03985543Courtesy of FORD MOTOR CO.
  115. Remove the special tools and install the 2 remaining screws.
    • Tighten to 25 Nm (18 lb-ft).
      Fig 77: Removing Special Tools And Installing Screws
      G03985544Courtesy of FORD MOTOR CO.
  116. CAUTION: Do not allow overdrive band adjustment screw to back out. Band strut could fall out of position.
    CAUTION: Install, but do not tighten, a new locknut on the band adjustment screw. Apply petroleum jelly to the locknut seal.
    Fig 78: Identifying Locknut On Band Adjustment Screw
    G03949178Courtesy of FORD MOTOR CO.
  117. Install a new locknut on the band adjustment screw.
  118. CAUTION: The overdrive servo must be installed prior to band adjustment.
  119. Using the special tool, tighten the overdrive band adjustment screw. Then back off the screw exactly 1.5 turns and hold that position.
    • Tighten to 14 Nm (10 lb-ft).
      Fig 79: Tightening Overdrive Band Adjustment Screw
      G03985546Courtesy of FORD MOTOR CO.
  120. Tighten the overdrive band locknut.
    1. Hold the overdrive band adjustment screw stationary.
    2. Tighten the overdrive band locknut.
      • Tighten to 54 Nm (40 lb-ft).
        Fig 80: Tightening Overdrive Band Locknut
        G03985547Courtesy of FORD MOTOR CO.
  121. CAUTION: Do not allow the intermediate band adjusting screw to back out. Band strut could fall out of position.
    CAUTION: Install, but do not tighten, a new locknut on the band adjustment screw. Apply petroleum jelly to the locknut seal.
    Fig 81: Installing Nut On Band Adjustment Screw
    G03985548Courtesy of FORD MOTOR CO.
  122. Install new nut on the band adjustment screw.
  123. CAUTION: The intermediate servo must be installed prior to band adjustment.
  124. Tighten the intermediate band adjustment screw. Then back off the screw exactly 1.5 turns and hold that position.
    • Tighten to 14 Nm (10 lb-ft).
      Fig 82: Tightening Intermediate Band Adjustment Screw
      G03985549Courtesy of FORD MOTOR CO.
  125. Tighten the intermediate band locknut.
    1. Hold the intermediate band adjustment screw stationary.
    2. Tighten the intermediate band locknut.
      • Tighten to 54 Nm (40 lb-ft).
        Fig 83: Tightening Intermediate Band Locknut
        G03985550Courtesy of FORD MOTOR CO.
  126. Tighten the center support screw.
    • Tighten to 11 Nm (8 lb-ft).
      Fig 84: Tightening Center Support Screw
      G03949154Courtesy of FORD MOTOR CO.
  127. Using the special tools, carry out the air pressure test procedure. For additional information, refer to SPECIAL TESTING PROCEDURES .
    Fig 85: Identifying Air Pressure Test Special Tool
    G03949185Courtesy of FORD MOTOR CO.
  128. Install the special tools into the transmission case.
    Fig 86: Installing Special Tools Into Transmission Case
    G03949186Courtesy of FORD MOTOR CO.
  129. Using the special tools, install the main control valve body and loosely install the screws.
    1. Install the short screw.
    2. Install the screw with the larger head.
    3. Install the remaining screws.
      Fig 87: Installing Main Control Valve Body
      G03949187Courtesy of FORD MOTOR CO.
  130. Remove the special tools, and loosely install the screw.
    Fig 88: Removing Special Tools
    G03948649Courtesy of FORD MOTOR CO.
  131. Tighten the screws in the sequence shown.
    • Tighten to 10 Nm (89 lb-in).
      Fig 89: Tightening Screws In Sequence
      G03948650Courtesy of FORD MOTOR CO.
  132. With the manual lever in the NEUTRAL position, install the manual valve detent spring.
    • Tighten to 10 Nm (89 lb-in).
      Fig 90: Installing Manual Valve Detent Spring
      G03948651Courtesy of FORD MOTOR CO.
  133. Install new O-ring seals on the solenoid body connector. Lubricate the O-ring seals with clean automatic transmission fluid.
    Fig 91: Identifying O-Ring Seals
    G03948653Courtesy of FORD MOTOR CO.
  134. CAUTION: Inspect the transmission case bore to make sure it is free of debris and not damaged. If damaged, transmission leak may occur.
  135. Install the solenoid body. Tighten the screws in sequence shown.
    • Tighten to 8 Nm (71 lb-in).
      Fig 92: Identifying Screw Tightening Sequence
      G03948654Courtesy of FORD MOTOR CO.
  136. Install the reverse servo. Tighten the bolts in the sequence shown in 2 stages.
    • Stage 1: Tighten to 5 Nm (44 lb-in).
    • Stage 2: Tighten to 11 Nm (8 lb-ft).
      Fig 93: Tightening Bolts In Sequence
      G03949193Courtesy of FORD MOTOR CO.
  137. CAUTION: Lubricate the fluid filter seals with clean automatic transmission fluid or they may be damaged.
    NOTE: Make sure that the fluid filter seals are correctly seated on the filter.
  138. Lubricate the seals and install the transmission fluid filter.
    • Tighten to 10 Nm (89 lb-in).
      Fig 94: Installing Transmission Fluid Filter
      G03948655Courtesy of FORD MOTOR CO.
  139. NOTE: The transmission fluid pan gasket is reusable. Clean and inspect for damage. If not damaged, the gasket should be reused.
    Fig 95: Identifying Transmission Fluid Pan And Gasket
    G03948629Courtesy of FORD MOTOR CO.
  140. Install the transmission fluid pan and gasket and loosely install the screws.
  141. Tighten the 16 screws in a crisscross sequence.
    • Tighten to 11 Nm (8 lb-ft).
      Fig 96: Identifying Transmission Fluid Pan And Gasket
      G03948629Courtesy of FORD MOTOR CO.
  142. Install the parking pawl assembly and gasket.
    1. Install the parking pawl shaft.
    2. Install the parking pawl return spring.
    3. Install the parking pawl.
    4. Install a new gasket.
      Fig 97: Installing Parking Pawl Assembly
      G03949197Courtesy of FORD MOTOR CO.
  143. Install the extension housing.
    • Tighten to 25 Nm (18 lb-ft).
      Fig 98: Identifying Extension Housing And Mounting Screws
      G03985165Courtesy of FORD MOTOR CO.
  144. Using the special tool, install the extension housing seal.
    Fig 99: Installing Extension Housing Seal
    G03985566Courtesy of FORD MOTOR CO.
  145. Using the special tools, install the output shaft flange.
    Fig 100: Installing Output Shaft Flange
    G03985567Courtesy of FORD MOTOR CO.
  146. Install a new nut.
    • Tighten to 131 Nm (97 lb-ft).
      Fig 101: Installing Nut
      G03985155Courtesy of FORD MOTOR CO.
  147. CAUTION: The digital transmission range sensor must fit flush against the boss on the case to prevent damage to the sensor.
    Fig 102: Locating Transmission Range Sensor
    G03985236Courtesy of FORD MOTOR CO.
  148. Install the digital transmission range (TR) sensor and loosely install the screws.
  149. CAUTION: Tightening one screw before tightening the other may cause the sensor to bind or become damaged.
    NOTE: The manual lever must be in the NEUTRAL position.
  150. Using the special tool, align the digital TR sensor and tighten the screws in an alternating sequence.
    • Tighten 10 Nm (89 lb-in).
      Fig 103: Aligning TR Sensor
      G03985102Courtesy of FORD MOTOR CO.
  151. CAUTION: The splines of the input shaft are not the same length on both ends. The shaft end with the shorter splines goes into the fluid pump.
    Fig 104: Installing Input Shaft
    G03948861Courtesy of FORD MOTOR CO.
  152. Install the input shaft.
  153. Using the special tool, make sure that the fluid pump gear seal ring is fully seated.
    Fig 105: Ensuring Fluid Pump Gear Seal Ring Is Fully Seated
    G03949206Courtesy of FORD MOTOR CO.
  154. Remove the special tool.
    Fig 106: Ensuring Fluid Pump Gear Seal Ring Is Fully Seated
    G03949206Courtesy of FORD MOTOR CO.
  155. CAUTION: Do not damage the fluid pump gear O-ring seal when installing torque converter.
    CAUTION: Make sure the converter hub is fully engaged in the pump support and gear and rotates freely. Do not damage the hub seal.
    CAUTION: If the torque converter slides out, the hub seal may be damaged.
    Fig 107: Lubricating Converter Hub
    G03985574Courtesy of FORD MOTOR CO.
  156. Lubricate the converter hub with clean automatic transmission fluid.
  157. WARNING: The torque converter can fall out if the transmission is tipped. Failure to follow these instructions may cause personal injury.
    Fig 108: Installing Torque Converter
    G03949209Courtesy of FORD MOTOR CO.
  158. Using the special tools, install the torque converter by pushing and rotating.
  159. Lubricate the torque converter pilot hub with multi-purpose grease.
    Fig 109: Lubricating Torque Converter Pilot Hub With Multi-Purpose Grease
    G03949210Courtesy of FORD MOTOR CO.
  160. CAUTION: The special tool must be used to correctly align the adapter plate to the converter or transmission damage could occur.
    In order to correctly install the special service tool, it must be installed using one round and one oblong hole. Using two oblong holes will cause damage to the transmission.
    NOTE: Position the adapter plate on the torque converter and identify the position of the orange or green paint daub on the converter face.
  161. If the vehicle is equipped, use the special tool to install the torque converter flex plate adapter assembly and 8 nuts.
    • Tighten to 44 Nm (33 lb-ft).
      Fig 110: Installing Torque Converter Flex Plate Adapter Assembly And Nuts
      G03985577Courtesy of FORD MOTOR CO.
  162. Remove the special tool and install the remaining torque converter flex plate adapter nuts.
    • Tighten to 44 Nm (33 lb-ft).
      Fig 111: Installing Remaining Torque Converter Flex Plate Adapter Nuts
      G03985578Courtesy of FORD MOTOR CO.
  163. Using one of the speed sensor holes, fill the transmission with 8.5L (9 quarts) of automatic transmission fluid.
    Fig 112: Filling Transmission Fluid Through Speed Sensor Holes
    G03949213Courtesy of FORD MOTOR CO.
  164. NOTE: Inspect O-ring seal for damage. Install new if damaged. Lubricate the O-ring seals with petroleum jelly to prevent damage to the O-ring seals.
  165. Install the sensors.
    • Tighten to 10 Nm (89 lb-in).
      Fig 113: Installing Sensors
      G03949214Courtesy of FORD MOTOR CO.