lemon-mirror:
Home >> Ford >> 2005 >> Thunderbird >> Repair and Diagnosis >> External Pages >> Different car >> Section 249 (Engine System-General Information) >> General Procedures >> Piston Pin Diameter

Piston Pin Diameter

WARNING: This page is about a different car, the 2006 Mercury Grand Marquis and 2006 Ford Crown Victoria. However, it is still accessible from the selected car via links, so may be relevant.
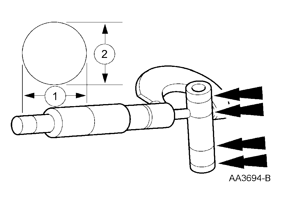
  1. Measure the piston pin diameter in 2 directions at the points shown. Verify the diameter is within specification.
    • If out of specification, install new components as necessary. Refer to ENGINE for the procedure.
      Fig 1: Measuring Piston Pin Diameter
      G03881403Courtesy of FORD MOTOR CO.