lemon-mirror:
Home >> Ford >> 2006 >> Focus ZX4 SES, Automatic >> Repair and Diagnosis >> Transmission >> Automatic Trans >> Automatic Transmission >> Installation >> Transaxle >> Installation

Automatic Transmission: Installation: Transaxle: Installation

  1. Make sure that the torque converter is installed correctly.
    CAUTION: Lubricate the torque converter pilot hub with multi-purpose grease.
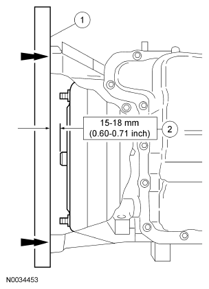
  2. Check the installation depth of the torque converter.
    1. Lay a steel straightedge on the automatic transaxle flange.
    2. Check the installation depth between the transaxle flange and the torque converter centering spigot for the correct clearance.
      Fig 1: Identifying Clearance Between Transaxle Flange And Torque Converter
      G04653131Courtesy of FORD MOTOR CO.
  3. Remove the special tool.
    Fig 2: Identifying Special Tool (307-346)
    G04653132Courtesy of FORD MOTOR CO.
  4. If the transaxle was replaced, install the transaxle opening cover.
    Fig 3: Locating Transaxle Opening Cover
    G04653133Courtesy of FORD MOTOR CO.
  5. Using a high-lift jack, secure the transaxle using a safety strap.
    NOTE: Make sure that the dowel pins are installed in the engine block prior to installing the transaxle.
  6. Move the transaxle into position.
  7. Note the location of the different length bolts and install the 5 converter housing bolts.
    • Tighten to 47 Nm (35 lb-ft).
      Fig 4: Locating Converter Housing Bolts
      G04653134Courtesy of FORD MOTOR CO.
  8. Install the 3 converter housing bolts.
    • Tighten to 47 Nm (35 lb-ft).
      Fig 5: Locating Converter Housing Bolts
      G04653135Courtesy of FORD MOTOR CO.
    CAUTION: Only rotate the engine in a clockwise direction or engine damage will occur.
    NOTE: Only install new self-locking nuts.
  9. Install 4 new torque converter-to-flexplate nuts.
    • Tighten to 40 Nm (30 lb-ft).
      Fig 6: Locating Torque Converter-To-Flexplate Nuts
      G04653136Courtesy of FORD MOTOR CO.
  10. Remove the safety strap from the transaxle.
    NOTE: Inspect the O-ring for damage before installing the fluid filler tube.
  11. Install the fluid filler tube.
    • Tighten to 8 Nm (71 lb-in).
      Fig 7: Locating Fluid Filler Tube
      G04653137Courtesy of FORD MOTOR CO.
  12. Install the engine rear mount bracket.
    • Tighten to 80 Nm (59 lb-ft).
      Fig 8: Locating Engine Rear Mount Bracket
      G04653138Courtesy of FORD MOTOR CO.
    NOTE: Using the engine support bar, raise the engine and transaxle assembly slightly to install rear mount.
  13. Install the engine rear mount and nuts.
    1. Tighten to 48 Nm (35 lb-ft).
    2. Tighten to 150 Nm (111 lb-ft).
      Fig 9: Identifying Engine Rear Mount And Nuts
      G04653139Courtesy of FORD MOTOR CO.
  14. Install the fluid cooler tubes.
    Fig 10: Locating Fluid Cooler Tubes
    G04653140Courtesy of FORD MOTOR CO.
  15. Connect the output shaft speed (OSS) sensor electrical connector.
    Fig 11: Locating Output Shaft Speed (OSS) Sensor Electrical Connector
    G04653141Courtesy of FORD MOTOR CO.
    NOTE: Install a new snap ring.
  16. Install the LH drive halfshaft.
    Fig 12: Locating LH Drive Halfshaft
    G04653142Courtesy of FORD MOTOR CO.
    NOTE: Install new nuts and a new center bearing cap.
  17. Install the RH halfshaft together with the intermediate shaft.
    Fig 13: Installing RH Halfshaft Together With Intermediate Shaft
    G04653143Courtesy of FORD MOTOR CO.
  18. Install the mounting bracket for the halfshaft intermediate bearing.
    • Tighten to 25 Nm (18 lb-ft).
      Fig 14: Locating Mounting Bracket
      G04653144Courtesy of FORD MOTOR CO.
  19. Install both of the lower control arms to the knuckles.
    • Tighten to 63 Nm (46 lb-ft).
      Fig 15: Locating Lower Control Arms
      G04653145Courtesy of FORD MOTOR CO.
  20. Install both of the tie-rod ends to the knuckles.
    • Tighten to 40 Nm (30 lb-ft).
      Fig 16: Locating Tie-Rod Nut
      G04653146Courtesy of FORD MOTOR CO.
  21. Connect the stabilizer bar at the strut.
    • Tighten to 55 Nm (41 lb-ft).
      Fig 17: Locating Stabilizer Bar Strut
      G04653147Courtesy of FORD MOTOR CO.
  22. Install the front wheels and tires. For additional information, refer to WHEELS AND TIRES .
  23. Install the engine RH support insulator.
    1. Install the insulator bolt and nut.
      • Tighten to 48 Nm (35 lb-ft).
    2. Install the bolt.
      • Tighten to 48 Nm (35 lb-ft).
        Fig 18: Locating Engine RH Support Insulator
        G04653148Courtesy of FORD MOTOR CO.
  24. Install the starter isolator.
    Fig 19: Identifying Starter Motor Isolator
    G03897895Courtesy of FORD MOTOR CO.
  25. Install the starter motor and insert the 3 bolts.
    • Tighten to 35 Nm (26 lb-ft).
      Fig 20: Locating Starter Motor Bolts
      G04653150Courtesy of FORD MOTOR CO.
  26. Connect the oil sending unit.
  27. Connect the starter motor electrical connectors.
    Fig 21: Locating Starter Motor Nut
    G04653151Courtesy of FORD MOTOR CO.
  28. Connect the bracket to the starter stud.
    Fig 22: Locating Bracket And Starter Stud
    G04653152Courtesy of FORD MOTOR CO.
  29. Install the fluid filler tube and shift cable bracket bolts.
    1. Tighten to 20 Nm (15 lb-ft).
    2. Tighten to 8 Nm (71 lb-in).
      Fig 23: Identifying Fluid Filler Tube And Shift Cable Bracket Bolts
      G04653153Courtesy of FORD MOTOR CO.
  30. Note the location of the different length bolts and install the upper center converter housing bolts.
    • Tighten to 47 Nm (35 lb-ft).
      Fig 24: Locating Upper Center Converter Housing Bolts
      G04653154Courtesy of FORD MOTOR CO.
  31. Position the electrical connector bracket and install the nut.
    • Tighten to 25 Nm (18 lb-ft).
      Fig 25: Locating Electrical Connector Bracket And Nut
      G04653155Courtesy of FORD MOTOR CO.
  32. Install the electrical connector bracket nut.
    • Tighten to 25 Nm (18 lb-ft).
      Fig 26: Locating Electrical Connector Bracket Nut
      G04653156Courtesy of FORD MOTOR CO.
  33. Install the shift cable clip.
    • Tighten to 47 Nm (35 lb-ft).
      Fig 27: Locating Shift Cable Clip
      G04653157Courtesy of FORD MOTOR CO.
  34. Connect the turbine shaft speed (TSS) sensor electrical connector.
    Fig 28: Locating Turbine Shaft Speed (TSS) Sensor Electrical Connector
    G04653158Courtesy of FORD MOTOR CO.
  35. Connect the shift cable to the manual control lever.
    Fig 29: Locating Shift Cable
    G04653159Courtesy of FORD MOTOR CO.
    NOTE: The TR connector seal is a high compression type and requires a "press to click" installation for a weatherproof seal.
  36. Connect the electrical connectors.
    1. Transmission range (TR) sensor.
    2. Transaxle solenoid electrical connector.
      Fig 30: Identifying Transmission Range (TR) Sensor And Transaxle Solenoid Electrical Connector
      G04653160Courtesy of FORD MOTOR CO.
  37. Tighten the LH strut and spring assembly top mount nuts.
    • Tighten to 30 Nm (22 lb-ft).
      Fig 31: Locating LH Strut And Spring Assembly Mount Nuts
      G04653161Courtesy of FORD MOTOR CO.
  38. Install the air cleaner resonator.
    1. Install the resonator and nuts.
    2. Connect the air cleaner outlet hose.
    3. Connect the crankcase ventilation hose.
      Fig 32: Identifying Air Cleaner Resonator
      G04653162Courtesy of FORD MOTOR CO.
    NOTE: When the battery has been disconnected and reconnected, some abnormal drive symptoms may occur while the vehicle relearns its adaptive strategy. The vehicle may need to be driven to relearn the strategy.
  39. Install the battery tray and battery. For additional information, refer to BATTERY MOUNTING AND CABLES .
    Fig 33: Locating Bolts
    G04653163Courtesy of FORD MOTOR CO.
  40. Fill the transaxle with clean automatic transmission fluid.