lemon-mirror:
Home >> Ford >> 2006 >> Focus ZX5 S, Automatic >> Repair and Diagnosis >> Steering >> Steering Column >> Disassembly And Assembly >> Steering Column >> Disassembly

Steering Column: Disassembly

WARNING: To avoid the risk of serious personal injury, read and follow all warnings, notes and instructions in the deactivation procedure.
CAUTION: Do not allow the steering wheel to rotate while the intermediate shaft is disconnected or damage to the clockspring can result. If there is evidence that the shaft has rotated, the clockspring must be removed and recentered. For additional information, refer to SUPPLEMENTAL RESTRAINT SYSTEM .

    All vehicles 

  1. Remove the steering column. For additional information, refer to STEERING COLUMN .
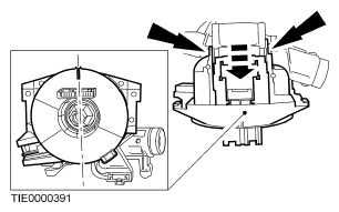
  2. Remove the 2 driver air bag module screws.
    Fig 1: Locating Driver Air Bag Module Screws
    G04651781Courtesy of FORD MOTOR CO.
  3. Disengage the clips, disconnect the electrical connector and remove the driver air bag module.
    Fig 2: Locating Electrical Connector
    G04651782Courtesy of FORD MOTOR CO.
  4. If equipped, disconnect the speed control electrical connector.
    Fig 3: Locating Speed Control Electrical Connector
    G04651783Courtesy of FORD MOTOR CO.
  5. Remove the steering wheel bolt and the steering wheel.
    Fig 4: Locating Steering Wheel Bolt And Steering Wheel
    G04651784Courtesy of FORD MOTOR CO.
  6. Remove the spacing collar.
    Fig 5: Locating Spacing Collar
    G04651785Courtesy of FORD MOTOR CO.
  7. CAUTION: Make sure the clockspring is not allowed to rotate. Secure in the central position with a piece of suitable tape.
    Fig 6: Removing Clockspring
    G04651786Courtesy of FORD MOTOR CO.
  8. Using a suitable tool, release the retaining clips and remove the clockspring.
  9. Remove the steering column multi-function switches.
    1. Press the retaining tabs.
      • Lift the switches upward.
        Fig 7: Removing Steering Column Multi-Function Switches
        G04651787Courtesy of FORD MOTOR CO.
  10. Remove the passive anti-theft system (PATS) transceiver.
    Fig 8: Locating Passive Anti-Theft System (PATS) Transceiver
    G04651788Courtesy of FORD MOTOR CO.
  11. Release the locking tabs and remove the ignition switch.
    Fig 9: Locating Locking Tabs
    G04651789Courtesy of FORD MOTOR CO.
  12. NOTE: Make sure to maintain synchronous positioning between the ignition lock cylinder and the ignition switch while the ignition lock cylinder is removed.
  13. Remove the ignition switch lock cylinder.
    • Insert and turn the ignition key to the ON position.
    • Using a suitable tool, press the detent and pull the ignition lock cylinder out.
      Fig 10: Pulling Ignition Lock Cylinder Out
      G04651790Courtesy of FORD MOTOR CO.
  14. Vehicles with telescoping column 

  15. Release the locking lever and fully extend the steering column.
    Fig 11: Releasing Locking Lever
    G04651791Courtesy of FORD MOTOR CO.
  16. NOTE: The 2 halves of the steering column must be marked before separating to aid assembly.
    Fig 12: Locating Steering Column Halves
    G04651792Courtesy of FORD MOTOR CO.
  17. Mark the 2 halves of the steering column.
  18. Remove the steering column sliding bolt.
    Fig 13: Locating Steering Column Sliding Bolt
    G04651793Courtesy of FORD MOTOR CO.
  19. Separate the 2 halves of the steering column.
    Fig 14: Separating Halves Of Steering Column
    G04651794Courtesy of FORD MOTOR CO.