lemon-mirror:
Home >> Ford >> 2006 >> Freestar Base >> Repair and Diagnosis >> Engine Mechanical >> Mechanical >> Engine >> In-Vehicle Repair >> Lower Intake Manifold >> Installation

Lower Intake Manifold: Installation

  1. Clean all gasket sealing surfaces with metal surface cleaner.
  2. NOTE: Front seal shown, rear seal similar.
  3. Install the lower intake manifold front and rear seals.
    1. Apply a bead of silicone gasket and sealer to the intake manifold front and rear seal mounting points as shown.
    2. Install the new lower intake manifold front and rear seals.
      Fig 1: Identifying Lower Intake Manifold Front And Rear Seals
      G04660278Courtesy of FORD MOTOR CO.
  4. Install the new intake manifold gaskets.
    Fig 2: Locating Intake Manifold Gaskets
    G04660279Courtesy of FORD MOTOR CO.
  5. NOTE: The lower intake manifold must be installed within 4 minutes of applying sealant.
  6. Position the lower intake manifold.
    1. Apply a bead of silicone gasket and sealer to the lower intake manifold mounting points (at the front and rear seal).
    2. Position the lower intake manifold.
      Fig 3: Identifying Lower Intake Manifold
      G04660280Courtesy of FORD MOTOR CO.
  7. NOTE: Make sure the bolts are installed in the correct locations.
    Fig 4: Locating Long Bolts
    G04660281Courtesy of FORD MOTOR CO.
  8. Install the 6 long bolts.
  9. Install the 8 short bolts.
    Fig 5: Locating Short Bolts
    G04660282Courtesy of FORD MOTOR CO.
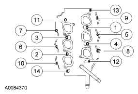
  10. Tighten the lower intake manifold bolts in 2 stages in the sequence shown.
    • Stage 1: Tighten to 5 Nm (44 lb-in).
    • Stage 2: Tighten to 10 Nm (89 lb-in).
      Fig 6: Identifying Tightening Sequence Of Lower Intake Manifold Bolts
      G04660283Courtesy of FORD MOTOR CO.
  11. Connect the IMRC electrical connector.
  12. Connect the upper radiator hose to the lower intake manifold.
  13. Connect the 2 heater hoses to the lower intake manifold.
  14. Install the fuel rail. For additional information, refer to FUEL CHARGING AND CONTROLS .
  15. Install the coolant bypass tube. For additional information, refer to ENGINE COOLING .
  16. Drain the engine oil.
    • Tighten to 26 Nm (19 lb-ft).
      Fig 7: Locating Oil Drain Bolt
      G04660284Courtesy of FORD MOTOR CO.
  17. Remove and discard the engine oil filter.
  18. NOTE: Lubricate the new engine oil filter seal with clean engine oil prior to installation.
  19. Install a new engine oil filter.
    • Tighten one-half turn after the gasket makes contact with oil filter housing.
  20. Fill the engine with clean engine oil.