lemon-mirror:
Home >> Ford >> 2006 >> Freestar Base >> Repair and Diagnosis >> Engine Mechanical >> Mechanical >> Engine >> In-Vehicle Repair >> Oil Pump >> Installation

Oil Pump: Installation

  1. Install a new service seal on the oil pump cover.
  2. NOTE: Lubricate parts with clean engine oil before assembly.
    Fig 1: Locating Oil Pump Drive Gear, Driven Gear And Cover
    G04660398Courtesy of FORD MOTOR CO.
  3. Install the oil pump drive gear, driven gear and cover.
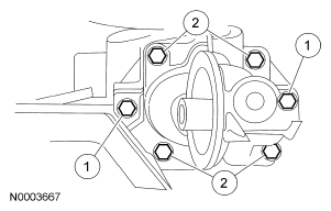
  4. Install the oil filter housing and the 6 bolts and tighten the oil filter housing bolts as shown.
    1. Tighten to 10 Nm (89 lb-in).
    2. Tighten to 25 Nm (18 lb-ft).
      Fig 2: Identifying Oil Filter Housing Bolts Tightening Sequence
      G04660399Courtesy of FORD MOTOR CO.
  5. If equipped, install the oil cooler. For additional information, refer to OIL COOLER  in this article.
  6. NOTE: Lubricate the new engine oil filter seal with clean engine oil prior to installation.
  7. Install a new engine oil filter.
    • Tighten one half turn after gasket makes contact with oil filter housing.
  8. Attach the engine lifting equipment and raise the engine.
  9. Install the A/C compressor bracket and the 2 A/C compressor bracket brace lower bolts.
    • Tighten to 25 Nm (18 lb-ft).
  10. Install the A/C compressor bracket nut.
    • Tighten to 47 Nm (35 lb-ft).
  11. Install the 3 A/C compressor bracket bolts.
    • Tighten to 47 Nm (35 lb-ft).
  12. Lower the engine and remove the lifting equipment.
  13. Install the LH motor mount bolt.
    • Tighten to 90 Nm (66 lb-ft).
  14. Install the oil pan drain plug.
    • Tighten to 26 Nm (19 lb-ft).
  15. Install the A/C compressor. For additional information, refer to CLIMATE CONTROL .
  16. Fill the engine with clean engine oil.