lemon-mirror:
Home >> Ford >> 2006 >> Taurus SE, 3.0 2 >> Repair and Diagnosis >> Engine Performance >> Fuel Delivery >> Fuel System-General Information >> General Procedures >> Quick Connect Coupling >> Disconnection

Quick Connect Coupling: Disconnection

WARNING: Do not carry lighted tobacco or open flame of any type when working on or near any fuel-related components. Highly flammable vapors are always present and can ignite. Failure to follow these instructions may result in personal injury.
WARNING: Do not carry personal electronic devices such as cell phones, pagers or audio equipment of any type when working on or near any fuel-related components. Highly flammable mixtures are present and may be ignited. Failure to follow these instructions can result in personal injuries.
WARNING: This procedure involves fuel handling. Be prepared for fuel spillage at all times and always observe fuel handling precautions. Failure to follow these instructions may result in personal injury.
CAUTION: Fuel injection equipment is manufactured to very precise tolerances and fine clearances. It is therefore essential that absolute cleanliness is observed when working with these components. Always install blanking plugs to any open orifices or tubes.
NOTE: Fuel supply tube connectors are white or are identified by a white band. Fuel return tube connectors are red or are identified by a red band.
  1. Release the fuel system pressure. For additional information, refer to FUEL SYSTEM PRESSURE RELEASE .
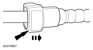
  2. Disconnect the fuel tube quick connect coupling.
    • Press the fuel tube quick connect coupling button and pull the fuel tube to disconnect.
Fig 1: Disconnecting Fuel Tube Quick Connect Coupling
G04710603Courtesy of FORD MOTOR CO.