lemon-mirror:
Home >> Ford >> 2007 >> Edge SE, FWD >> Repair and Diagnosis >> Electrical >> Component Locations >> Electrical Component Locator >> Component Location Graphics

Component Location Graphics

NOTE: Figures may show multiple component locations. Refer to appropriate table for proper figure references.
Fig 1: Battery Junction Box (BJB)
G00446630Courtesy of FORD MOTOR CO.
Fig 2: Smart Junction Box (SJB)
G00446631Courtesy of FORD MOTOR CO.
Fig 3: Engine Compartment (Edge)
G00446632Courtesy of FORD MOTOR CO.
Fig 4: Engine Compartment (Edge)
G00446633Courtesy of FORD MOTOR CO.
Fig 5: Engine Compartment (MKX)
G00446634Courtesy of FORD MOTOR CO.
Fig 6: Engine Compartment (MKX)
G00446635Courtesy of FORD MOTOR CO.
Fig 7: Left Side Of Engine
G00446636Courtesy of FORD MOTOR CO.
Fig 8: Right Side Of Engine
G00446637Courtesy of FORD MOTOR CO.
Fig 9: Dash
G00446638Courtesy of FORD MOTOR CO.
Fig 10: Dash
G00446639Courtesy of FORD MOTOR CO.
Fig 11: Steering Wheel
G00446640Courtesy of FORD MOTOR CO.
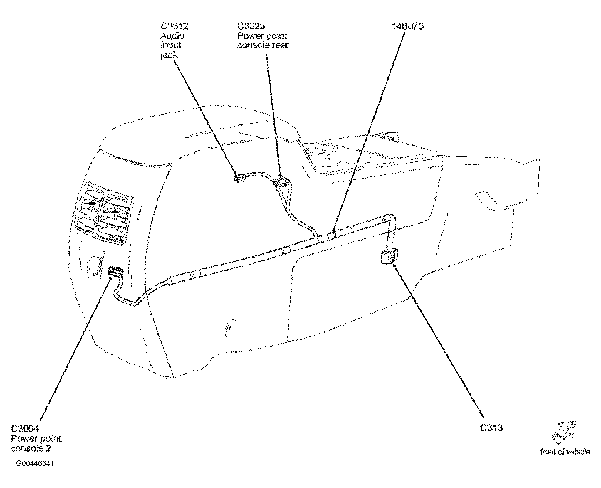
Fig 12: Center Floor Console
G00446641Courtesy of FORD MOTOR CO.
Fig 13: Left Front Interior Of Vehicle
G00446642Courtesy of FORD MOTOR CO.
Fig 14: Right Front Interior Of Vehicle
G00446643Courtesy of FORD MOTOR CO.
Fig 15: Left Rear Interior Of Vehicle
G00446644Courtesy of FORD MOTOR CO.
Fig 16: Right Rear Interior Of Vehicle
G00446645Courtesy of FORD MOTOR CO.
Fig 17: Rear Of Vehicle (Edge)
G00446646Courtesy of FORD MOTOR CO.
Fig 18: Rear Of Vehicle (MKX)
G00446647Courtesy of FORD MOTOR CO.
Fig 19: Driver's Seat
G00446648Courtesy of FORD MOTOR CO.
Fig 20: Front Passenger's Seat
G00446649Courtesy of FORD MOTOR CO.
Fig 21: Rear Seats
G00446650Courtesy of FORD MOTOR CO.
Fig 22: Driver's Door
G00446651Courtesy of FORD MOTOR CO.
Fig 23: Front Passenger's Door
G00446652Courtesy of FORD MOTOR CO.
Fig 24: Left Rear Door
G00446653Courtesy of FORD MOTOR CO.
Fig 25: Right Rear Door
G00446654Courtesy of FORD MOTOR CO.
Fig 26: Liftgate (Edge)
G00446655Courtesy of FORD MOTOR CO.
Fig 27: Liftgate (MKX)
G00446656Courtesy of FORD MOTOR CO.
Fig 28: Roof (Except Panoramic Vista Roof)
G00446657Courtesy of FORD MOTOR CO.
Fig 29: Roof (With Panoramic Vista Roof)
G00446658Courtesy of FORD MOTOR CO.
Fig 30: HVAC Unit
G00446659Courtesy of FORD MOTOR CO.