lemon-mirror:
Home >> Ford >> 2007 >> Focus SE, 2D Hatchback, Automatic >> Repair and Diagnosis >> Steering >> Steering Column >> Disassembly And Assembly >> Steering Column >> Assembly

Steering Column: Assembly

Vehicles with telescoping column 

    NOTE: Make sure the steering column shafts are aligned correctly.
  1. Connect the 2 halves of the steering column.
  2. Fig 1: Connecting Halves Of Steering Column
    GF0040333Courtesy of FORD MOTOR CO.
    WARNING: Make sure the breakaway capsules are located in the holes in the bracket. Failure to follow these instructions may result in personal injury.
    WARNING: Make sure the bolt is not over tightened. Failure to follow these instructions may result in personal injury.
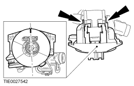
  3. Align the breakaway capsules and install the steering column sliding bolt.
    • Tighten to 5 Nm (44 lb-in).
  4. Fig 2: Locating Steering Column Sliding Bolt
    GF0040334Courtesy of FORD MOTOR CO.

    All vehicles 

    CAUTION: Make sure to maintain synchronous positioning between the ignition lock cylinder and the ignition switch while installing them.
  5. Install the ignition lock cylinder.
    • Rotate the ignition key.
  6. Fig 3: Installing Ignition Lock Cylinder
    GF0040335Courtesy of FORD MOTOR CO.
  7. Install the ignition switch.
  8. Fig 4: Locating Locking Tabs
    GF0040327Courtesy of FORD MOTOR CO.
  9. Install the PATS transceiver.
  10. Fig 5: Locating Passive Anti-Theft System (PATS) Transceiver
    GF0040326Courtesy of FORD MOTOR CO.
    NOTE: Make sure both the retaining tabs lock into position on the steering column.
  11. Install the clockspring.

  12. Fig 6: Locating Clockspring
    GF0040336Courtesy of FORD MOTOR CO.
    CAUTION: Make sure the spacing collar is correctly located. Do not assemble if the spacing collar is missing. Failure to do so will damage the clockspring.
  13. Install the spacing collar.
  14. Fig 7: Locating Spacing Collar
    GF0039144Courtesy of FORD MOTOR CO.
  15. Install the steering column LH and RH multi-function switches.
  16. Fig 8: Installing Steering Column Multi-Function Switches
    GF0040337Courtesy of FORD MOTOR CO.
    CAUTION: Do not allow the steering wheel to rotate while the intermediate shaft is disconnected or damage to the clockspring can result. If there is evidence that the shaft has rotated, the clockspring must be removed and recentered. For additional information, refer to SUPPLEMENTAL RESTRAINT SYSTEM article.
  17. Remove the tape from the clockspring.
  18. Position the steering wheel and install the bolt.
    • Tighten to 48 Nm (35 lb-ft).
  19. If equipped, connect the speed control electrical connector.
  20. Fig 9: Locating Speed Control Electrical Connector
    GF0040320Courtesy of FORD MOTOR CO.
  21. Connect the driver air bag module electrical connector.
  22. Fig 10: Locating Electrical Connector
    GF0040322Courtesy of FORD MOTOR CO.
  23. Position the driver air bag module and install the 2 screws.
    • Tighten to 5 Nm (44 lb-in).
  24. Fig 11: Locating Driver Air Bag Module Screws
    GF0040321Courtesy of FORD MOTOR CO.
  25. Install the steering column. For additional information, refer to Steering Column .