lemon-mirror:
Home >> Ford >> 2007 >> Focus SES, 2D Hatchback, Automatic >> Repair and Diagnosis >> Engine Mechanical >> Mechanical >> Engine >> Installation >> Engine

Engine Mechanical: Mechanical: Engine: Installation: Engine

Special Tools

Illustration Tool Name Tool Number
GF0000536
Heavy Duty Floor Crane 014-00071 or equivalent
GF0000267
Spreader Bar 303-D089 (D93P-6001-A3) or equivalent
GF0019593
Powertrain Lift with Tilting Plate 014-00765 or equivalent
GF0024108
Universal Adapter Brackets 014-0001
GF0000160
Lifting Brackets, Engine 303-050 (T70P-6000)
Material

Item Specification
Motorcraft SAE 5W-20 Premium Synthetic Blend Motor Oil
XO-5W20-QSP (US); Motorcraft SAE 5W-20 Super Premium Motor Oil CXO-5W20-LSP12 (Canada); or equivalent
WSS-M2C930-A
Multi-Purpose Grease
XG-4 and/or XL-5
ESB-M1C93-B

Vehicles equipped with a 2.0L engine and automatic transmission 

    NOTE: Lubricate the torque converter pilot hub with multi-purpose grease.
  1. Check the installation depth of the torque converter.
    1. Lay a straightedge on the automatic transaxle flange.
    2. Check the installation depth between the transaxle flange and the torque converter centering spigot for the correct clearance.
  2. Fig 1: Locating Depth Between Transaxle Flange And Torque Converter Centering Spigot For Correct Clearance
    GF0039373Courtesy of FORD MOTOR CO.

    All vehicles 

  3. Install new dowel pins in the engine block.
  4. Fig 2: Locating Dowel Pins
    GF0039347Courtesy of FORD MOTOR CO.
  5. Using the engine crane, install the transaxle onto the engine.
    1. Install the 2 bolts at the dowel pins.
      • Tighten to 48 Nm (35 lb-ft).
    2. Install the remaining bolts.
      • Tighten to 48 Nm (35 lb-ft).
  6. Fig 3: Locating Bolts
    GF0039374Courtesy of FORD MOTOR CO.
  7. Using the special tools, raise the engine and transaxle assembly onto the lift table.
  8. Fig 4: Identifying Special Tools (303-D089, 303-050)
    GF0039346Courtesy of FORD MOTOR CO.
  9. Using the special tools, secure the engine and transaxle assembly to the lift table.
  10. Fig 5: Identifying Special Tools (014-00001)
    GF0039339Courtesy of FORD MOTOR CO.

    Vehicles equipped with a 2.0L engine and automatic transmission 

  11. Connect the solenoid body and the transmission range (TR) sensor electrical connectors.
  12. Fig 6: Locating Transmission Range Sensor Electrical Connectors
    GF0039345Courtesy of FORD MOTOR CO.
  13. Connect the turbine shaft speed (TSS) sensor electrical connector.
  14. Fig 7: Locating Turbine Shaft Speed (TSS) Sensor Electrical Connector
    GF0039344Courtesy of FORD MOTOR CO.
  15. Connect the output shaft speed (OSS) sensor electrical connector.
  16. Fig 8: Locating Output Shaft Speed Sensor Electrical Connector
    GF0039343Courtesy of FORD MOTOR CO.
    NOTE: If new parts are not being used, be sure to align the marks on the flexplate and the stud made during engine removal.
  17. Install the 4 torque converter nuts.
    • Tighten to 35 Nm (26 lb-ft).
  18. Fig 9: Locating Torque Converter Nut
    G03897896Courtesy of FORD MOTOR CO.

    Vehicles equipped with a manual transmission 

  19. Connect the vehicle speed sensor (VSS) electrical connector.
  20. Fig 10: Locating Vehicle Speed Sensor Electrical Connector
    GF0039342Courtesy of FORD MOTOR CO.

    All vehicles 

  21. Using the lift table, position the engine and transaxle assembly in the vehicle.
  22. Install the transaxle mount center nut.
    • Tighten to 133 Nm (98 lb-ft).
  23. Fig 11: Locating Transaxle Mount Center Nut
    GF0039341Courtesy of FORD MOTOR CO.
  24. Install the 2 motor mount nuts.
    • Tighten to 90 Nm (66 lb-ft).
  25. Fig 12: Locating Engine Mount Nuts
    GF0039340Courtesy of FORD MOTOR CO.
  26. Install the 2 oil pan-to-bellhousing bolts.
    • Tighten to 48 Nm (35 lb-ft).
  27. Fig 13: Locating Oil Pan-To-Bellhousing Bolts
    GF0024138Courtesy of FORD MOTOR CO.
  28. Install the 2 lower bellhousing-to-oil pan bolts.
    • Tighten to 48 Nm (35 lb-ft).
  29. Fig 14: Locating Lower Bellhousing Bolts
    GF0024137Courtesy of FORD MOTOR CO.
  30. Install the starter motor isolator.
  31. Fig 15: Identifying Starter Motor Isolator
    G03897895Courtesy of FORD MOTOR CO.
  32. Install the starter motor and the 3 bolts.
    • Tighten to 25 Nm (18 lb-ft).
  33. Fig 16: Locating Starter Bolts
    GF0024838Courtesy of FORD MOTOR CO.
  34. Install the transaxle roll restrictor and 2 bolts.
    • Tighten to 48 Nm (35 lb-ft).
  35. Fig 17: Locating Transaxle Roll Restrictor And Bolts
    GF0039338Courtesy of FORD MOTOR CO.
    NOTE: Install a new snap ring.
  36. Install the LH front drive halfshaft.
  37. Fig 18: Installing Halfshaft
    GF0039375Courtesy of FORD MOTOR CO.
  38. Install the RH front halfshaft together with the intermediate shaft.
  39. Fig 19: Installing Halfshaft
    GF0039376Courtesy of FORD MOTOR CO.
  40. Install the front drive intermediate shaft bearing mounting bracket.
    • Tighten to 25 Nm (18 lb-ft).
  41. Fig 20: Locating Intermediate Shaft Bearing Bracket Nuts
    GF0039335Courtesy of FORD MOTOR CO.
  42. Install both of the lower control arms to the knuckles.
    1. Connect the suspension arm ball joint.
    2. Install the bolt.
      • Tighten to 63 Nm (46 lb-ft).
  43. Fig 21: Connecting Suspension Arm Ball Joint And Identifying Bolt
    GF0039377Courtesy of FORD MOTOR CO.
  44. Install both of the tie-rod ends to the knuckles.
    • Tighten to 40 Nm (30 lb-ft).
  45. Fig 22: Locating LH Tie-Rod End Nut
    GF0039331Courtesy of FORD MOTOR CO.
  46. Connect the stabilizer bar to the LH strut and install the nut.
    • Tighten to 55 Nm (41 lb-ft).
  47. Fig 23: Locating LH Stabilizer Bar Nut
    GF0039330Courtesy of FORD MOTOR CO.
  48. Tighten the LH strut and spring assembly top mount nuts.
    • Tighten to 30 Nm (22 lb-ft).
  49. Fig 24: Locating LH Strut And Spring Assembly Top Mount Nuts
    GF0039329Courtesy of FORD MOTOR CO.
  50. Install the caliper.
    1. Position the caliper and install the bolts.
      • Tighten to 28 Nm (21 lb-ft).
    2. Install the bolt covers.
  51. Fig 25: Identifying Caliper Bolts And Bolt Covers
    GF0039378Courtesy of FORD MOTOR CO.
  52. Install the brake hose onto the support bracket.
  53. Fig 26: Locating LH Brake Hose
    GF0039326Courtesy of FORD MOTOR CO.

    Vehicles equipped with air conditioning 

    NOTE: Install new O-ring seals.
  54. Install the manifold and tube assembly onto the A/C compressor.
    • Tighten to 21 Nm (15 lb-ft).
  55. Fig 27: Locating A/C Compressor Bolt
    GF0039325Courtesy of FORD MOTOR CO.
  56. Install the A/C compressor and the 3 bolts.
    • Tighten to 25 Nm (18 lb-ft).
  57. Fig 28: Locating A/C Compressor Bolts
    GF0039324Courtesy of FORD MOTOR CO.
  58. Connect the A/C compressor electrical connector.
  59. Fig 29: Locating A/C Compressor Electrical Connector
    GF0039323Courtesy of FORD MOTOR CO.

    All vehicles 

  60. Install the power steering pressure (PSP) tube brackets and nuts.
    • Tighten to 11 Nm (8 lb-ft).
  61. Fig 30: Locating PSP Tube Bracket Nuts
    GF0039322Courtesy of FORD MOTOR CO.
  62. Connect the starter motor electrical connections.
    • Tighten the small nut to 5 Nm (44 lb-in).
    • Tighten the large nut to 12 Nm (9 lb-ft).
  63. Fig 31: Locating Starter Motor Electrical Terminals
    GF0039321Courtesy of FORD MOTOR CO.
  64. Install the generator coolant pipe.
  65. Fig 32: Locating Generator Cooling Pipe
    GF0039320Courtesy of FORD MOTOR CO.
  66. Position the ground cable and install the bolt.
    • Tighten to 48 Nm (35 lb-ft).
  67. Fig 33: Locating Ground Cable Bolt
    GF0039319Courtesy of FORD MOTOR CO.
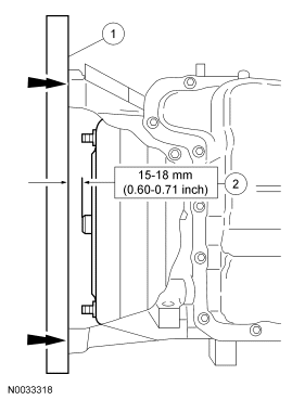
  68. Connect the lower radiator hose.
  69. Fig 34: Locating Lower Radiator Hose
    GF0039318Courtesy of FORD MOTOR CO.
  70. Install the cooling fan.
  71. Fig 35: Installing Cooling Fan
    GF0039379Courtesy of FORD MOTOR CO.
  72. Connect the cooling fan electrical connectors.
  73. Fig 36: Locating Cooling Fan Electrical Connectors
    GF0039316Courtesy of FORD MOTOR CO.
  74. Install the coolant expansion tank and the bolt.
    • Tighten to 10 Nm (89 lb-in).
  75. Fig 37: Locating Coolant Expansion Tank Bolt
    GF0039315Courtesy of FORD MOTOR CO.
  76. Connect the coolant hoses.
  77. Fig 38: Locating Coolant Hoses
    GF0039314Courtesy of FORD MOTOR CO.
  78. Connect the heater hose to the "T" fitting.
  79. Fig 39: Locating Heater Hose
    GF0039313Courtesy of FORD MOTOR CO.

    Vehicles equipped with a 2.0L engine and automatic transmission 

  80. Connect the transmission cooler hoses.
  81. Fig 40: Locating Transmission Cooler Hoses
    GF0039312Courtesy of FORD MOTOR CO.
  82. Connect the transmission shifter cable.
  83. Fig 41: Locating Transmission Shifter Cable
    GF0039311Courtesy of FORD MOTOR CO.

    Vehicles equipped with a manual transmission 

  84. Connect the reversing lamp switch electrical connector.
  85. Fig 42: Locating Reversing Lamp Switch Electrical Connector
    GF0039310Courtesy of FORD MOTOR CO.
    WARNING: Escaping brake fluid. Do not allow brake fluid to come into contact with the skin or the eyes. If brake fluid does come into contact with the skin or eyes, rinse the affected areas with water immediately. Failure to follow these instructions may result in personal injury.
    CAUTION: If brake fluid is spilled on the paintwork, the affected area must be immediately washed down with cold water.
  86. Connect the clutch slave cylinder supply tube.
    • Install the clip.
  87. Fig 43: Locating Clutch Slave Cylinder Supply Tube
    GF0039309Courtesy of FORD MOTOR CO.
    NOTE: The shift cable abutment sleeve is colored white.
    NOTE: The selector cable abutment sleeve is colored black.
  88. Attach the transaxle cables to the bracket.
    1. Attach the shifter cable to the bracket, turning the abutment sleeves counterclockwise to open. Position the cables into the metal holders.
    2. Attach the selector cable to the bracket, turning the abutment sleeves counterclockwise to open. Position the cables into the metal holders.
  89. Fig 44: Identifying Shifter And Selector Cable
    GF0039308Courtesy of FORD MOTOR CO.
  90. Attach the gearshift cables.
    1. Attach the shifter cable to the shift mass.
    2. Attach the selector cable to the selector lever.
  91. Fig 45: Identifying Shifter Cable And Selector Cable
    GF0039307Courtesy of FORD MOTOR CO.
  92. Adjust the gearshift cables and bleed the clutch system. For additional information, refer to MANUAL TRANSAXLE/TRANSMISSION AND CLUTCH - GENERAL INFORMATION article.
  93. All vehicles 

  94. Connect the 3 main engine wiring harness connectors and attach the connectors to the bracket.
  95. Fig 46: Locating Main Engine Wiring Harness Electrical Connectors
    GF0039306Courtesy of FORD MOTOR CO.
  96. Connect the power distribution harness eyelet and install the nut.
    • Tighten to 10 Nm (89 lb-in).
  97. Fig 47: Locating Power Distribution Wiring Harness Eyelet And Nut
    GF0039305Courtesy of FORD MOTOR CO.
  98. Attach the wiring harness retainers.
  99. Fig 48: Locating Positive Battery Cable Pin-Type Retainers
    GF0039282Courtesy of FORD MOTOR CO.
  100. Connect the power distribution wiring harness electrical connector.
  101. Fig 49: Locating Power Distribution Wiring Harness Electrical Connector
    GF0039304Courtesy of FORD MOTOR CO.
  102. Connect the fuel charging wiring harness electrical connector.
  103. Fig 50: Locating Fuel Charging Wiring Harness Electrical Connector
    GF0039303Courtesy of FORD MOTOR CO.
  104. Connect the fuel charging wiring harness electrical connector and harness retainer.
  105. Fig 51: Locating Fuel Charging Wiring Harness Electrical Connector And Harness Retainer
    GF0039302Courtesy of FORD MOTOR CO.
  106. Install the ground eyelet and bolt.
    • Tighten to 10 Nm (89 lb-in).
  107. Fig 52: Locating Ground Eyelet Bolt
    GF0039301Courtesy of FORD MOTOR CO.
  108. Connect the upper radiator hose, the heater hose and the coolant vent hose to the coolant bypass.
  109. Fig 53: Locating Upper Radiator Hose, Heater Hose And Coolant Vent Hose
    GF0039300Courtesy of FORD MOTOR CO.
  110. Connect the exhaust gas recirculation (EGR) valve electrical connector.
  111. Fig 54: Locating Exhaust Gas Recirculation Valve Electrical Connector
    GF0039299Courtesy of FORD MOTOR CO.
  112. Install the power brake booster vacuum tube into the quick release fitting.
  113. Fig 55: Locating Power Brake Booster Vacuum Tube And Quick Release Locking Ring
    GF0024064Courtesy of FORD MOTOR CO.
  114. If equipped, connect the secondary air injection (AIR) vacuum regulator electrical connector.
  115. Fig 56: Locating Air Vacuum Regulator Electrical Connector
    GF0039298Courtesy of FORD MOTOR CO.
  116. If equipped, connect the AIR hose.
  117. Fig 57: Locating Air Hose
    GF0039297Courtesy of FORD MOTOR CO.
  118. Connect the evaporative emissions tube. For additional information, refer to FUEL SYSTEM - GENERAL INFORMATION article.
  119. Fig 58: Locating Evaporative Emissions Tube
    GF0039296Courtesy of FORD MOTOR CO.
  120. Connect the fuel tube quick connect coupling onto the fuel rail. For additional information, refer to FUEL SYSTEM - GENERAL INFORMATION article.
  121. Fig 59: Locating Fuel Tube Quick Connect Coupling
    GF0024133Courtesy of FORD MOTOR CO.
  122. Connect the accelerator cable and speed control cable (if equipped).
    1. Install the accelerator cable bracket and bolts.
      • Tighten to 10 Nm (89 lb-in).
    2. Connect the accelerator and speed control cable (if equipped) to the throttle body.
  123. Fig 60: Identifying Accelerator Cable Bracket Bolts, Accelerator And Speed Control Cable
    GF0039380Courtesy of FORD MOTOR CO.
  124. Install the accelerator control snow shield.
    • Position the snow shield and install the screw and pin-type retainer.
      • Tighten to 10 Nm (89 lb-in).
    • Attach the evaporative emissions hose pin-type retainer.
  125. Fig 61: Locating Accelerator Snow Shield, Screw And Pin-Type Retainers
    GF0039243Courtesy of FORD MOTOR CO.
  126. Install the air cleaner outlet pipe and air intake resonator into the grommets and install the bolt.
  127. Fig 62: Locating Air Cleaner Outlet Pipe, Air Intake Resonator And Bolt
    GF0039294Courtesy of FORD MOTOR CO.
  128. Tighten the air cleaner outlet pipe and connect the vent tube.
  129. Fig 63: Locating Air Cleaner Outlet Pipe And Vent Tube
    GF0039293Courtesy of FORD MOTOR CO.
  130. Clean and inspect the catalytic converter flange.
    • Using a straightedge and a feeler gauge, place the straightedge across the catalytic converter flange surface and check for warping with the feeler gauge. If the reading is greater than the maximum specification, install a new catalytic converter, gasket and nuts.
  131. Fig 64: Inspecting Catalytic Converter Flange W/Specs.
    GF0039278Courtesy of FORD MOTOR CO.
  132. Using a new gasket and nuts, install the catalytic converter.
    • Tighten in the sequence shown to 55 Nm (41 lb-ft).
  133. Fig 65: Locating Catalytic Converter Nuts Tightening Sequence
    GF0039381Courtesy of FORD MOTOR CO.
  134. If equipped, connect the AIR hose.
  135. Fig 66: Locating AIR Hose
    GF0039292Courtesy of FORD MOTOR CO.
  136. If equipped, connect the upper exhaust sensor electrical connector and retainer.
  137. Fig 67: Locating Electrical Connector And Wiring Retainer
    GF0039277Courtesy of FORD MOTOR CO.
  138. Connect the exhaust sensor electrical connectors.
  139. Fig 68: Locating Electrical Connectors And Wiring Retainers
    GF0039273Courtesy of FORD MOTOR CO.
  140. If removed, install the heat shield and 4 bolts.
    • Tighten to 10 Nm (89 lb-in).
  141. Fig 69: Locating Heat Shield Bolts
    GF0039272Courtesy of FORD MOTOR CO.
  142. Install the catalytic converter support bracket and 4 bolts.
    • Tighten to 47 Nm (35 lb-ft).
  143. Fig 70: Locating Catalytic Converter Support Bracket And Bolts
    GF0039271Courtesy of FORD MOTOR CO.
    NOTE: Clean the mating surfaces of the muffler assembly and catalytic converter.
  144. Using a new gasket and 2 nuts, connect the catalytic converter to exhaust system.
    • Tighten to 47 Nm (35 lb-ft).
  145. Fig 71: Locating Catalytic Converter Nuts
    GF0039270Courtesy of FORD MOTOR CO.
  146. Install the battery tray. For additional information, refer to BATTERY, MOUNTING AND CABLES article.
  147. Fill the engine with clean engine oil.
  148. Install the power steering pump. For additional information, refer to POWER STEERING article.
  149. Install the accessory drive belt. For additional information, refer to ACCESSORY DRIVE article.
  150. Fill and bleed the cooling system. For additional information, refer to ENGINE COOLING article.
  151. Vehicles equipped with air conditioning 

  152. Evacuate and charge the A/C system. For additional information, refer to CLIMATE CONTROL SYSTEM - GENERAL INFORMATION AND DIAGNOSTICS article.