lemon-mirror:
Home >> Ford >> 2007 >> Focus ST >> Repair and Diagnosis >> Electrical >> Gauges >> Information System And Entertainment System >> Removal And Installation >> Audio Unit >> Notes

Audio Unit: Notes

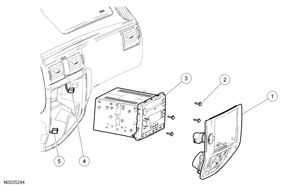
Fig 1: Exploded View Of Audio Unit
GF0040569Courtesy of FORD MOTOR CO.
Item Part Number Description
1 - Instrument cluster center finish panel
2 - Audio unit screws (4 required)
3 18C869/18C815 Audio unit
4 - Audio unit electrical connectors (part of 14401)
5 - Instrument cluster center finish panel electrical connectors (part of 14401)