lemon-mirror:
Home >> Ford >> 2007 >> Mustang Base, 2D Convertible, Automatic >> Repair and Diagnosis >> Engine Mechanical >> Exhaust System >> General Procedures >> Exhaust System Alignment

Exhaust System Alignment

  1. With the vehicle in NEUTRAL, position it on a hoist. For additional information, refer to JACKING AND LIFTING .
  2. Loosen the muffler-to-intermediate pipe clamp.
  3. Remove and discard the exhaust coupler and position a new coupler on the pipe. Do not tighten the coupler at this time.
  4. Remove and discard the converter-to-manifold nuts and install new nuts. Do not tighten the nuts at this time.
  5. NOTE: Make sure the exhaust system hanger rods are correctly inserted into the center of all the catalyst and muffler isolators.
  6. Install a jackstand at the rear of the catalytic converter. Adjust the converter height by adjusting the jackstand. The catalytic converter is correctly positioned when the catalytic converter hanger rods are centered in the isolators.
  7. Beginning at the front of the vehicle, align the exhaust system.
    1. Hand-tighten all the catalytic converter nuts.
    2. Alternately tighten, in 10 N.m (89 lb-in) increments, the upper catalytic converter-to-manifold nuts to 45 N.m (33 lb-ft).
      • LH upper.
      • RH upper.
    3. Alternately tighten, in 10 N.m (89 lb-in) increments, the lower catalytic converter-to-manifold nuts to 45 N.m (33 lb-ft).
      • LH lower.
      • RH lower.
    4. Verify the intermediate pipe button is fully seated to the bottom of the muffler inlet pipe notch.
      • Tighten the muffler-to-intermediate pipe clamp nuts to 54 N.m (40 lb-ft).
    5. NOTE: Make sure that the intermediate pipe is inserted into the coupler correctly. Correct installation is achieved when the rearmost end of the coupler terminates in the knurled region of the intermediate pipe.
    6. Slide coupler over catalyst pipe and engage the coupler clip completely over the converter button.
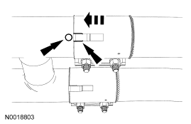
    7. Push the muffler forward. The back of the exhaust coupler should be in the crosshatched area on the intermediate pipe.
      • Alternately tighten, in 10 Nm (89 lb-in) increments, the intermediate pipe-to-converter assembly coupling(s) to 54 Nm (40 lb-ft).
  8. Fig 1: Locating Crosshatched Area On Intermediate Pipe
    GF0015930Courtesy of FORD MOTOR CO.
  9. Start the engine and check the exhaust system for leaks.