lemon-mirror:
Home >> Ford >> 2007 >> Taurus SE >> Repair and Diagnosis >> Electrical >> Component Locations >> Electrical Component Locator >> Control Units

Control Units

CONTROL UNITS LOCATION

Component Location
ABS Control Module Left front of engine compartment, below battery. See Figure.
Brake Shift Interlock Near bottom of steering column. See Figure.
Flexible Fuel Sensor Module Behind center of dash, near instrument cluster. See Figure.
Front Blower Motor Speed Controller Behind center of dash, near HVAC unit. See Figure.
Fuel Pump Driver Module Behind right side luggage compartment trim panel. See Figure.
Intake Manifold Runner Control (IMRC) Module Top rear of engine. See Figure.
Passenger's Air Bag Module Behind right side of dash, near glove box. See Figure.
Passive Anti-Theft System Transceiver Module On steering column, near ignition switch. See Figure.
Powertrain Control Module Right rear corner of engine compartment. See Figure.
Remote Climate Control (RCC) Module Behind center of dash, near glove box. See Figure.
Restraints Control Module Under center of dash. See Figure.
Seat Weight Sensor Module Under front passenger's seat. See Figure.
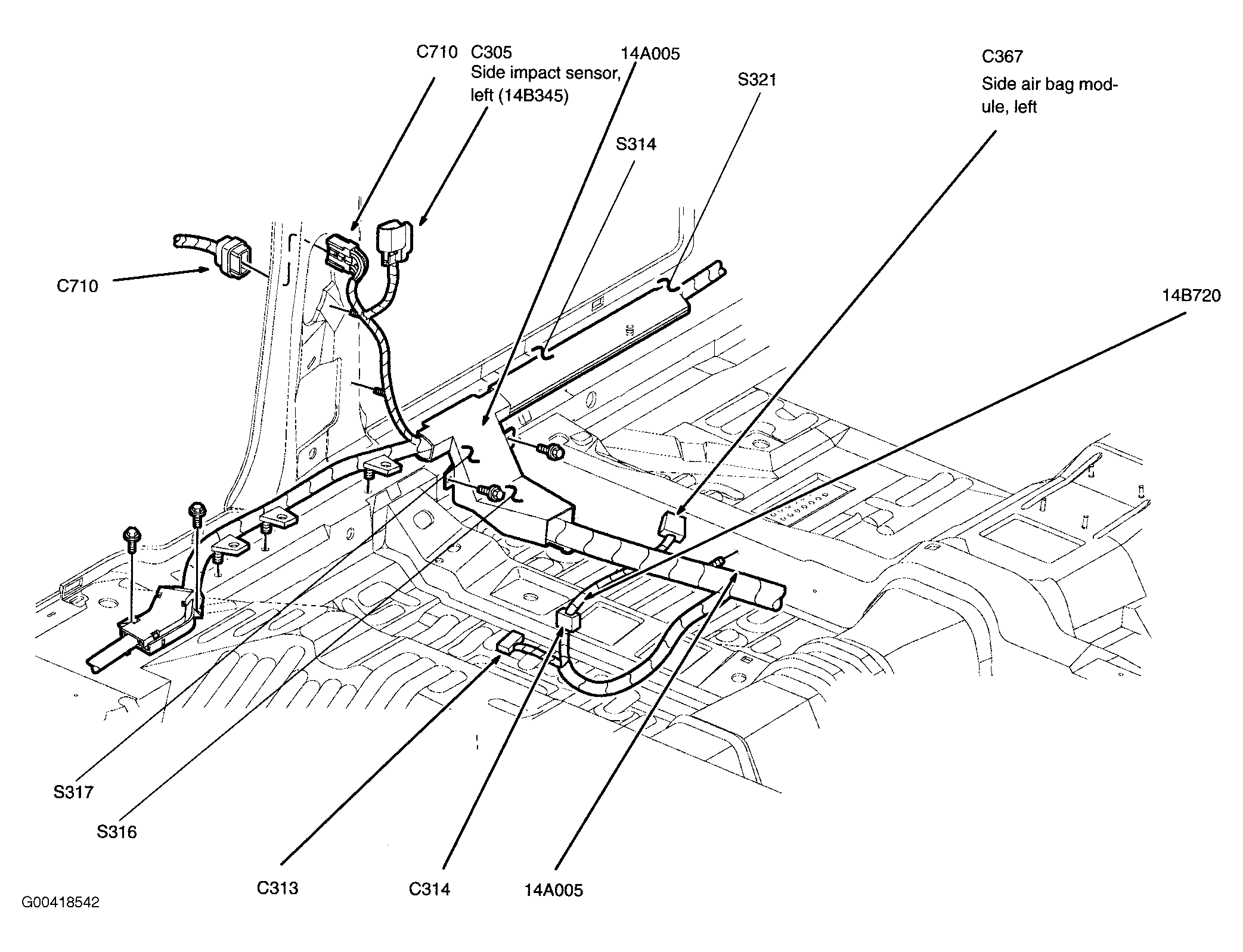
Side Air Bag Module, Left Inside outer portion of left front seat back. See Figure.
Side Air Bag Module, Right Inside outer portion of right front seat back. See Figure.